124808 (717466), страница 5
Текст из файла (страница 5)
Системы отвода газов от сталеплавильных агрегатов включают: 1. Газоотводящие тракты (вертикальные каналы, шлаковики, регенераторы, борова, перекидные клапаны и т. д. мартеновских печей, включая дымовую трубу; газоходы конвертеров; вертикальные каналы, шлаковики, борова и т. д. двухванных печей; масштабы подсосов воздуха и соответствующего разбавления отходящих газов определяются в основном газоплотностью газоотводящего тракта).
2. Котлы-утилизаторы, использующие физическое тепло нагретых газов для получения пара. Эту операцию принято называть использованием тепловых вторичных энергетических ресурсов (ВЭР). В процессе прохождения через котлы-утилизаторы газы охлаждаются, что облегчает проведение последующей операции — улавливание пыли. При охлаждении объем газов уменьшается. В отечественной технической литературе часто используют обозначение ОКГ от слов охладитель конвертерных газов. В СССР наибольшее распространение получили котлы-утилизаторы с многократной принудительной циркуляцией. Основные расчетные параметры котлов стандартизованы. Производительность котлов достигает 50 т пара/ч, давление газа — до 4,5 МПа, температура — до 440 °С.
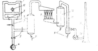
Рис. 14.2 Схема отвода продуктов сгорания от двухванной печи Криворожского металлургического комбината:
1 - двухванная сталеплавильная печь: 2 - шиберы переключения печи 3 - шиберы переключения схем отвода газов; 4 - дымовая кирпичная труба; 5 - скруббер-охладитель; 6 — гидрозатворы, 7 - горелка дожигания СО; 8 - дымовая труба; 9 - блок труб Вентури: 10 - циклон-кяплеуловитель; 11 — каплеуловитель; 12 - вентилятор подачи воздуха в печь, 13 -- нагнетатель
Котлы-утилизаторы в конвертерных цехах работают в тяжелых и специфических условиях: 1) в отходящих газах высокая концентрация пыли, способная образовывать на тепловоспринимающих поверхностях настыли, поэтому необходима организация непрерывной или периодической очистки тепловоспринимающих поверхностей (импульсная, дробевая, вибрационная и др. очистки); 2) в период интенсивной продувки ванны кислородом через котел проходит огромное количество нагретых до высоких температур газов, после окончания продувки прохождение газов прекращается и тепловоспринимающие поверхности котла не поглотают, а начинают отдавать тепло: 3) в меж продувочный период вследствие охлаждающего действия циркулирующей в котле воды на поверхности котла может происходить конденсация паров воды, 4) переменный режим работы котла затрудняет герметизацию конструкций, что приводит к подсосам воздуха и т. д. Все перечисленное показывает, в каких сложных условиях работают котлы-утилизаторы конвертерных цехов и в настоящее время предпринимаются попытки создания наиболее рациональных конструкций котлов-охладителей.
3. Пылеулавливающие устройства (газоочистки).
4. Устройства для эвакуации газов. Гидравлическое сопротивление газоотводящих трактов высоко, поэтому для протягивания через газоочистные аппараты и для выброса охлажденных и очищенных от пыли газов необходимы дополнительные устройства. В качестве тяговых устройств для эвакуации дымовых газов применяют дымовые трубы и дымососы (эксгаустеры).
§ 10. Утилизация технологических выбросов
Современное сталеплавильное производство характеризуется значительным объемом технологических выбросов. Выбросы только от собственных агрегатов составляют, кг/т стали: в конвертерах до 27,0; в мартеновских печах, в зависимости от принятой технологии использования кислорода, от 3,5 до 12,0; в двухванных печах до 18,0; в дуговых электропечах 8,0—20,0. Таким образом, без учета выбросов на вспомогательных участках в сталеплавильных цехах СССР образуется >2 млн. т выбросов в год.
Утилизация этих отходов (как элемент безотходной технологии) необходима по многим причинам и, прежде всего, потому, что вывоз их в отвалы вредит природе (занимаются земельные площади, происходит выветривание пыли, загрязняется атмосфера и водоемы и пр.).
В СССР используют преимущественно мокрые способы газоочистки, при этом образуются осадки, называемые шламом. В табл. 14.1 приведен состав пыли и шламов сталеплавильного производства (по данным института «Черметинформация»). Видно, что составы в зависимости от технологии и местных условий могут существенно различаться. Общим, однако, является высокое содержание железа, что делает утилизацию этих выбросов не только необходимой, но и рентабельной.
Наиболее распространенным способом утилизации продуктов очистки газов сталеплавильного производства является добавление их в шихту агломерационных установок. При наличии соответствующего оборудования пыль и шлам (после их сушки) могут быть использованы также в качестве шихты для получения окатышей и брикетов с последующим использованием как составляющей шихты сталеплавильных агрегатов. В СССР утилизация технологических выбросов осуществляется использованием их главным образом в агломерационном производстве.
В настоящее время изучают возможность использования этих отходов в строительстве, для получения железококса, при создании технологии извлечения из этих отходов цинка, при переработке в химической промышленности и т. п.
§ 11. Утилизация шлаков сталеплавильного производства
Общее количество шлаков черной металлургии СССР составляет ~80 млн. т/год, сталеплавильных шлаков ~25 млн. т/год. Составы сталеплавильных шлаков колеблются в широких пределах в зависимости от способа передела, технологии плавки, состава шихты. Переработка и утилизация всей массы образующихся в сталеплавильном производстве шлаков является обязательным элементом безотходной технологии по следующим причинам:
1)многочисленные шлаковые отвалы и связанное с этим отчуждение сельскохозяйственных угодий, образование пыли, отрицательное воздействие на воздушный и водной бассейн нежелательны;
2) утилизация отходов экономически выгодна [в шлаках содержится >3,5 млн. т (за 1 год) чистого металла].
Основные пути утилизации шлаков сталеплавильного производства следующие: 1) извлечение металла; 2) получение железо флюса для вагранок и аглодоменного производства; 3) получение щебня для дорожного и промышленного строительства; 4) использование основных шлаков в качестве известковых удобрений (шлаковой муки) для сельского хозяйства; 5) использование фосфорсодержащих шлаков для получения удобрений для сельского хозяйства; 6) вторичное использование конечных сталеплавильных шлаков.
















