124720 (717435), страница 2
Текст из файла (страница 2)
Рисунок 4 - Залежність показника зношування від часу
Друга стадія (ІІ) - стадія нормального, сталого зносу:
,
. У багатьох випадках спостерігається стадія катастрофічного зносу (ІІІ) - стадія інтенсивного наростання швидкості зношування, обумовленого несприятливою зміною зовнішніх чинників або зміною умов тертя через досягнення гранично допустимого зносу.
Сталий режим зношування при характерному для торцевих ущільнень граничному терті якнайповніше описується розробленою І.В. Крагельським [5, 6] молекулярно-механічною (адгезійно-деформаційною) теорією тертя і втомного зношування. Відповідно до цих теорій тертя обумовлене, з одного боку, деформацією матеріалу, який проник нерівностями (пружне або пластичне відтиснення), з іншого - подоланням молекулярних (адгезійних) зв'язків у зоні контакту. В результаті повторно багаторазових деформацій у процесі тертя, пов'язаних як з механічним відтисненням, так і з безперервним утворенням та руйнуванням фрикційних зв'язків у деформованих мікрооб'ємах поверхневого шару накопичуються дефекти, що приводять до втомного руйнування. Для зменшення інтенсивності зношування дуже важливо, щоб відшаровування матеріалу через деформації зсуву локалізувалися в тонкому поверхневому шарі та не захоплювали увесь мікрооб'єм, що деформується. Це можливо за умови, що на поверхні тертя є ослаблений шар з малим зсувним опором
. Ця умова формулюється як універсальне правило позитивного градієнта [5]:
, тобто зсувний опір повинен зростати в напрямку нормалі п до поверхні тертя (нормаль спрямована в глиб матеріалу).
На підставі викладених уявлень про процеси тертя та зношування запропоновані розрахункові формули для оцінки показників зношування, що містять ряд коефіцієнтів, які повинні визначатися експериментально для конкретних матеріалів та умов тертя. У монографіях Є. Майєра [1], А.І. Голубєва [4], Л.А. Кондакова [7] зібраний великий експериментальний матеріал щодо тертя та зносу торцевих ущільнень, що дозволяє орієнтовно прогнозувати довговічність ущільнень на стадії їх проектування.
Основним чинником, що визначає знос, є контактний тиск, який, у свою чергу, залежить не тільки від конструктивних та експлуатаційних параметрів, але і від ряду внутрішніх процесів, супутніх роботі ущільнення. Зокрема, значний вплив на процеси в парі тертя можуть робити силові та температурні деформації, які визначаються геометричною формою ущільнювальних кілець, потужністю втрат на тертя та умовами тепловідведення.
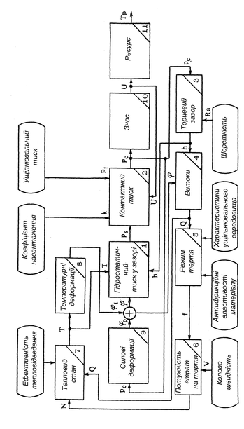
Таким чином, торцеві ущільнення є динамічною системою, спрощена структурна схема якої (рис.5) дає уявлення про зв'язки та взаємодію основних елементів системи, про характер їх передавальних функцій, про зовнішні дії та виходи системи. У той же час із структурної схеми видно задачі розрахунку, які зводяться до визначення передавальних функцій елементів та оцінки реакції (виходу) системи на зовнішні дії. Як вихід можна використати ресурс Тр ущільнення або лінійний знос U торцевих контактних поверхонь.
Рисунок 5 - Структурна схема торцевого ущільнення
Через складність процесів термогідропружності, тертя та зношування більшість передавальних функцій елементів системи не піддається достатньо точному визначенню. Тому розрахунок доводиться обмежувати приблизними оцінками та порівнянням знову проектованих ущільнень з перевіреними в експлуатації аналогами. У викладеній нижче методиці порядок розрахунку взятий відповідно до нумерації передавальних функцій структурної схеми (рис.5).















