124541 (717381), страница 2
Текст из файла (страница 2)
Таблица 1 - Сравнительная характеристика методов изготовления МПП
| Показатель | Метод изготовления | |||||
| механическими деталями | попарным прессованием | открытых контактных площадок | выступающих выводов | послойного наращивания | металлизацией сквозных отверстий | |
| Количество слоев | 6 | 4 | 12 | 5 | 15 | 20 |
| Плотность печатного монтажа | Н | С | Н | С | С | В |
| Надежность межслойных соединений | Н | С | В | В | В | С |
| Стойкость к внешним воздействиям | С | С | С | В | В | С |
| Ремонтопригодность | Н | Н | В | С | С | Н |
| Технологическая себестоимость | В | С | С | В | В | С |
Примечание. Н — низкая; С — средняя; В — высокая.
Для подготовки поверхности слоев к прессованию применяют механическую зачистку абразивами, обезжиривание поверхности органическими растворителями и легкое декапирование фольги. При прессовании экранов с большими участками фольги ее поверхность оксидируют для лучшей адгезии при склеивании. Текстура наполнителя (прокладок из стеклоткани) должна быть равномерно пропитана смолой, иначе при травлении химические растворы проникают в свободные полости и снижают тем самым сопротивление изоляции.
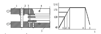
Совмещение отдельных слоев МПП по базовым отверстиям осуществляют в специальном приспособлении (рис. 5), состоящем из верхней 1 и нижней плит 5, изготовленных из стали. Толщина плит составляет 15—20 мм и зависит от габаритов изготавливаемой платы. Плиты шлифуют по обеим плоскостям, направляющие колонки 2 обеспечивают их полную параллельность. В торцах плит выполняют отверстия для термопар 4. Габаритные размеры нижней плиты должны быть больше прокладочных листов на 30—50 мм с каждой стороны по периметру, так как. при прессовании возможно вытекание значительного количества смолы. Фиксирующие штыри 3 располагают через 100—150 мм по периметру платы в пределах технологического поля.
Для прессования МПП используют специализированные многоярусные гидравлические прессы, оборудованные системами нагрева, охлаждения плит и поддержания температуры с точностью 3 С, регуляторами подачи давления с точностью порядка 3 %. Нагрев плит пресса осуществляют либо перегретым паром, либо электричеством. Для ускоренного охлаждения в плиты встраивают коллекторы для подачи проточной водопроводной воды.
| 1 – верхняя плита; 2 – направляющая колонка; 3 – фиксирующий палец;4 – отверстие для термопары; 5 – нижняя плита; Рис. 5. Приспособление для прессования пакета МПП | 1 , 2 – нагрев; 3 – начало полимеризации ; 4 – полимеризация под давлением; 5 – охлаждение Рис. 6. Режим прессования пакета МПП |
На качество прессования существенно влияет текучесть смолы и время ее полимеризации. Основным фактором в процессе прессования является правильно выбранный момент приложения максимального давления. Если создать давление до начала полимеризации смолы, то значительное ее количество будет выдавлено, а если после полимеризации, то получается плохая проклейка слоев, что приводит к расслоению. При большой скорости возрастания температуры основные реакции отверждения проходят быстро, продукт получается хрупким, неоднородным, со значительными внутренними напряжениями. С уменьшением скорости нагрева механические свойства диэлектрика улучшаются.
Сборку пакета МПП осуществляют в режимах "холодного" и "горячего" прессования. При первом режиме пресс-форму с МПП помещают между холодными плитами пресса, в котором происходит ее последующий нагрев до необходимой температуры со скоростью 15 С/мин. На первой стадии прессования создают незначительное давление на пакет (0,15—0,2 МПа), а когда смола загустевает при температуре 130—140 С, давление поднимают до 5—8 МПа. Окончательное отверждение продолжается в течение 40 мин, затем плиты пресса быстро охлаждают водой и, когда температура в пакете снизится до 40 С, пресс раскрывают и извлекают готовый пакет (рис. 6). При "горячем" прессовании плиты нагревают до 160—170 С, это ускоряет процесс прессования, дальнейший нагрев ведут со скоростью 15—50 С/мин.
Для снятия напряжений, возникающих в пакете в процессе прессования и вызывающих затем коробление платы, после обрезки облоя МПП подвергают дополнительной тепловой обработке. Для этого ее наглухо зажимают между двумя жесткими пластинами и помещают на 30—40 мин в термошкаф при температуре 120—130 С, затем оставляют в печи до медленного остывания.
Установленные режимы прессования требуют постоянной корректировки в зависимости от изменения технологических свойств склеивающихся прокладок стеклоткани. Поэтому стеклоткань периодически проверяют на содержание связующей смолы, ее текучести, времени полимеризации. Для более точного контроля времени приложения максимального давления при прессовании пакета измеряют электрическое сопротивление связующей смолы с помощью датчика, представляющего собой электроды в форме гребенки, полученной на фольгированном диэлектрике. Электрическое сопротивление падает с 105 МОм до 1 МОм в момент полного расплавления смолы, а затем растет в процессе ее полимеризации.
Для прессования МПП применяют специализированные многоярусные гидравлические прессы, оборудованные системами нагрева и охлаждения плит, устройствами для регулирования технологических режимов. Прессы обеспечивают плоскостность и параллельность плит в пределах 0,1 мм, время нагрева плит до рабочей температуры 20 мин, точность поддержания температуры на их плоскости 3 С, давления 3 %. Повышение производительности прессования достигается на автоматических линиях (например, модель S75 MRT -372C-X-X-G фирмы Pasadena Hydraulies, США), в которых по заданной программе пресс-формы с обрабатываемыми пакетами МПП пневматическим автооператором перемещаются из позиции загрузки в нагретые плиты гидравлического пресса. Плиты сжимают пакеты в пресс-формах при низком давлении в течение заданного времени, а затем автоматически переключаются на высокое давление. В позицию загрузки устанавливается следующая партия пресс-форм. После выдержки заданного таймером времени полимеризации связующей смолы в пакетах МПП горячие и холодные плиты размыкаются, а автооператор перемещает прошедшие стадию полимеризации пакеты из горячих плит пресса в холодные для их остывания при заданном давлении. Одновременно на позицию прессования подается следующая пресс-форма из позиции загрузки, после чего плиты зажимаются и цикл повторяется.
ЛИТЕРАТУРА
-
Левин А.П., Сватикова Н.Э. Расчет вибропрочности конструкции РЭА. - М.: МИРЭА, 2003.
-
Мевис А.Ф., Несвижский В.Б., Фефер А.И. Допуски и посадки деталей радиоэлектронной аппаратуры: Справочник/ Под ред. О.А. Луппова. - М.: Радио и связь, 2004. - 152 с.
-
Ненашев А.П. Конструирование радиоэлектронных средств: Учеб. для радиотехнич. спец. вузов – Мн.: Высш.шк., 2002. – 432 с.















