123181 (717125), страница 2
Текст из файла (страница 2)
Это смещение нарушает взаимодействие магнита 6 с маятником 4, который под действием собственного веса возвращается в исходное положение, определяемое ограничителем 20. Следующий поворот барабана 2 ведет к повторению цикла работы всех исполнительных элементов устройства.
Рис. 4 - Схема измерения длины материала с использованием магнитной ленты
В техническом предложении изображенном на рисунке 5 принципиально новый шаг по совершенствованию систем измерения длины, выполненных на базе использования транспортёрной ленты, несущей функцию эталонного мерного элемента. [5] Здесь недостатки существующих систем устраняют тем, что средство сцепления эталонной длины с движущимся объектом выполнено в виде неприводного эластичного движителя, зеркально установленного над приводным мерным ленточным транспортером, что позволяет дополнительно измерять и материалы, поверхность которых чувствительна к механическому воздействию. Основной и вспомогательный транспортёр кинематически связаны по средством сил трения, причем длина приводного ленточного транспортера представляет собой эталонную меру, а выходы блоков регистрации текущей длины и коррекции результатов измерения скомутированы с процессором.
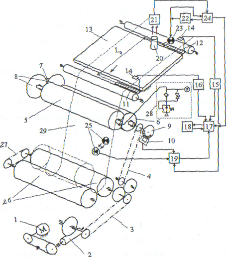
В предлагаемом техническом решении (рис. 5) привод первичного преобразователя линейных перемещений материала состоит из двигателя 1, муфты 2, клиноременной передачи 3, червячного редуктора 4 и цепной передачи 5. Преобразователь перемещений 6 включает также в себя эластичную замкнутую транспортерную ленту - движитель 7, натяжной и приводной валики 8, 9, оптронный диск 10, датчик длины 11 (оптронную пару) и систему динамической коррекции результатов измерений.
Система динамической коррекции состоит из светонепроницаемой метки-флажка 12, консольно закреплённого на эластичном движителе 7, и датчика 11 определяющего цикл считывания эталонной меры длины ( ).
Неприводной вспомогательный транспортёр 14 содержит замкнутую эластичную ленту, аналогичную движителю 7, и два свободно вращающихся валика 17 и 18; механизм подачи материала, включающий электромагнитную муфту 19, клиноременную передачу 20, червячный редуктор 21, цепную передачу 22 и транспортирующие валы 23 и 24; механизм перемещения материала по опорной поверхности 25, включающий цепную передачу 26, передающую вращение приводному валику 9 барабана 27, и прижимной валик 28; а также систему регистрации и коррекции результатов измерения в каждом цикле, включающую блок 29 управления информационным регистром коррекции 30, регистр 31 записи текущего значения длины, микропроцессор 32 и оптоэлектронные элементы 33 для формирования команды начала и завершения процесса измерения длины материала.
Рис. 5 - Структурно-кинематическая схема системы измерителя длины [Пат РФ №2256877 РФ]
Значительный интерес и особую перспективу имеет также одно из принципиально новых направлений совершенствования систем измерения длины и ширины движущихся легко деформируемых материалов с учетом изменения при обработке их деформационных характеристик. Одним из возможных решений этого исправления является использование стробоскопического эффекта. [6] ,[7].
Как показывает практика апробации, подобные системы позволяют учесть погрешности измерения линейных параметров материалов от деформационной предыстории и их последующей деформации вследствие контактного взаимодействия с рабочими органами технологического оборудования.
Для решения задачи в такой постановке в рассматриваемое устройство введена система динамической коррекции результатов измерения длины с учетом деформационного поведения материалов.
Система измерения длины материала с использованием стробоэффекта (рис. 6) содержит электродвигатель 1 привода перемещения материала, редуктор 2, цепные передачи 3 и 4 и измеритель длины. Измеритель длины состоит из двух пневматических транспортирующих валиков 5 и 6, представляющих собой две, сообщающиеся посредством гибкого воздухопровода 7 воздушные камеры, кимематически связанные между собой посредством зубчатого зацепления 8; оптронный диск 9; датчик 10.
Вопросы коррекции результатов измерения вследствие перекоса линии движения материала решаются посредством использования оптических линеек 11 и 12. определяющих положение одной из кромок материала на столе 13.
Элементы 14 предназначены для считывания информации о положении материала в пространстве движения; а электронные регистры 15 и 16 для записи информации о положении линии движения материала относительно стола 13.
В состав измерительной схемы также входят: блок сопряжения 17 для обмена информации с микропроцессором 18; блок 19 разрешения считывания длит материала; система измерения величины деформации, состоящая из оптического усилителя 20, оптоэлектронной системы 21, генератора 22 с программно-цикловым блоком задания частоты генерации импульсов, импульсной лампы 21 блока совпадения «И» 24; датчик 25 начала и конца материала; опори намоточные барабаны 26, связанные цепной передачей 27, и блок подготовки сжатого воздуха 28.
При работе системы измерения длины материал 29 проходит зону действия оптической линейки 12. При этом в регистре 15 формируется соответствующий сигнал, который подается параллельно на блок сопряжения 17 с микропроцессором 18 и блок 19 разрешения считывания информации о длине материала. Далее материал движется по поверхности стола 13 и входит в зону действия оптической линейки 11.
Рис. 6 - Структурно-кинематическая схема системы измерителя длины с использованием стробоэффекта [Пат РФ №2231018]
Считывание датчиками 14 информации с оптических линеек 11 и 12 о ширине материала в регистры 15 и 16 происходит непрерывно. При выходе со стола материал контактирует с эластичными валиками 5 и 6 измерителя длины. Полости валиков связаны с источником сжатого воздуха, а наружные поверхности выполнены в виде эластичных резинотканевых баллонов с изменяющимися в процессе работы геометрическими параметрами и обладают заданной степенью податливости посредством соответствующей настройки блока подготовки воздуха 28.
При срабатывании датчика 25, определяющего наличие материала в зоне измерения, информация поступает на один из входов блока 19, который формирует разрешение для прохождения импульсов от датчика 10 через блок сопряжения 17 в микропроцессор 18.
Конструктивно заложенный параметр , как расстояние между оптронными линейками 11 и 12, записывается в память микропроцессора в виде соответствующего кода до начала измерения длины. Информация, считанная с оптронного диска 9 датчиком 10 и переданная в микропроцессор, в программном режиме сравнивается с кодом длины . Совпадение кодов означает, что материал прошел от оптической линейки 12 до линейки 11. Этот конструктивный параметр определяет дискретность считывания информации о деформационных параметрах материала.
При каждом такте измерения запоминается местоположение контролируемой боковой кромки по длине материала путём определения количества «открытых» и «закрытых» светодиодов оптических линеек 11 и 12. Информация из регистров 15 и 16 через блок сопряжения 17 передается в микропроцессор, в котором происходит корректировка результатов измерения длины материала по величине перекоса его движения.
Коррекция результатов измерения длины материала от деформации производится по результатам распознавания стробоскопического эффекта фиксируемого оптоэлектронной системой 21, появляющегося при совпадении скорости движения элементов переплетения с частотой работы генератора 22 и, соответственно, импульсной лампы 23.
2 ИССЛЕДОВАНИЕ ФАКТОРОВ И ОСОБЕННОСТЕЙ ТЕХНОЛОГИИ ВЛИЯЮЩИХ НА ТОЧНОСТЬ ИЗМЕРЕНИЯ ЛИНЕЙНЫХ ПАРАМЕТРОВ ДЛИННОМЕРНЫХ ЛЕГКОДЕФОРМИРУЕМЫХ МАТЕРИАЛОВ
В предыдущих разделах было отмечено, что точность измерения ткани в большой степени зависит от того, в каком состоянии (в напряженном или свободном) находится ткань во время измерения. Напряженное состояние предопределяет наличие деформаций, что вызывает ошибки при определении длины тканей.
Рассматривая схему движения ткани по трехметровому столу можно убедиться в том, что промер длины ткани будет сопровождаться ее растяжением. При этом весьма интересно определить, какова же величина деформации ткани при ее промере. Возможно, что эта величина настолько невелика, что ею практически можно пренебречь.
Рис. 7 - Схема измерения на трехметровом столе
Величина общей деформации ткани в рулоне после промера ткани на трехметровом столе складывается из растяжения ткани при скольжении ее по поверхности стола и растяжения ткани в процессе сматывания ее в рулон.
Растяжение ткани при ее движении через промерочный стол определяют по формуле
где — длина ткани после того, как ее пропустили через промерочный стол и намотали в рулон;
— длина ткани после отлежки ее в свободном состоянии в точение 24 ч;
— абсолютная величина растяжения, включающая эластические и пластические деформации.
2.1 Методы измерения длины материала и анализ возникающих погрешностей
Измерение длины тканей производят непосредственно методом оценки, т. е. линейкой, рулеткой, которые непосредственно показывают измеряемую величину.
Измерения длины тканей подразделяют на технические и лабораторные, Технические измерения выполняют в производственных условиях. Перед выполнением технических измерений должна быть определена возможная погрешность. Если величина погрешности не превышает задаваемых допустимых пределов, то такие отклонения в измерениях не учитывают. В случае появления погрешностей свыше заданных допусков технологический процесс измерения должен быть перестроен.
При выполнении лабораторных измерений их погрешность должна обязательно учитываться.
Лабораторные измерения выполняют с точностью до 1 мм мерительными инструментами с минимальной ценой деления 1 мм. За длину образца при лабораторных измерениях принимают среднее арифметическое трех измерений, подсчитанное с точностью до 0,1 мм и округленное до 1,0 мм.
При технических измерениях длину ткани определяют однократным замером.
Согласно положениям математической статистики результаты измерений могут содержать погрешности: грубые (промахи), систематические, допустимые приборные, случайные.
Грубые погрешности возникают из-за невнимательности работающего, в результате чего появляются неправильные отсчеты, записи, подсчеты. Наличие грубых погрешностей определяется «выскакивающими» показателями, которые или исправляют, или исключают при обработке экспериментальных данных.
Систематические погрешности появляются при работе на неисправном оборудовании, приборах и др. Эти погрешности также называют неслучайными погрешностями, так как их появление не вызвано случайной причиной, а является следствием недостатков применяемого оборудования или инструмента. Величины таких погрешностей направлены в одну сторону и изменяются по определенному известному закону. Систематические погрешности устраняют путем тщательной проверки и наладки приборов, соблюдением методов испытаний. Случайные погрешности возникают от различных неподдающихся учету факторов. Величины случайных погрешностей направлены то в одну, то в другую сторону и могут быть различны. Абсолютная величина случайной погрешности не превосходит некоторой величины, называемой предельной погрешностью.
Случайные погрешности нельзя исключить введением постоянных поправок. При оценке измерений величину случайной погрешности необходимо учитывать.
Таким образом, при тщательно поставленных экспериментах остаются два вида ошибок, которые необходимо обязательно учитывать при статистической обработке экспериментальных данных.
К таким ошибкам относят допустимые погрешности, в которые входят и случайные погрешности, и допустимые приборные погрешности.
Приборные погрешности — это наибольшие погрешности прибора или инструмента, используемого при измерении. В рассматриваемом случае такими инструментами являются мерительные линейки или рулетки. Величина абсолютной погрешности равна цене одного деления принятой шкалы измерения.
Следовательно, при технических измерениях погрешность измерения равна ± 1 см, при лабораторных ± 1 мм.
В метрологических характеристиках промерочно-разбраковочного оборудования и других технических систем, предназначенных для входного контроля материалов и их настилания, обычно приводятся данные об их разрешающей способности по точности измерения. Однако в публикациях по этим вопросам отсутствует в необходимой мере анализ физической природы и количественная оценка составляющих погрешностей, возникающих при преобразовании линейных перемещений, обработке и передаче результатов измерения по информационным каналам.
Объективная оценка и достижение нормативной точности измерения линейных перемещений возможны при всестороннем анализе причин, порождающих систематические и случайные погрешности, включая влияние на результаты измерения физико-механических свойств обрабатываемых легкодеформируемых материалов. Для каждого класса, группы или конкретной технической системы, реализующей тот или иной способ измерения длины материалов в рулоне (куске), перечень факторов влияния может быть разным, так как каждое устройство, обладающее существенной новизной, обязательно имеет свои отличительные особенности - таковы условия признании нового технического решения изобретением.
Анализ процессов контактного взаимодействия легко деформируемых материалов с транспортирующими органами и элементами преобразователей линейных перемещений показывает, что точность измерения их длины зависит от выбранного метода, конструктивных параметров измерительной системы, напряженно-деформированного состояния, плотности, влажности и других физико-механических свойств самого материала в момент измерения. Эти факторы полностью или частично, но практически всегда, имеют место, порождая составляющие погрешностей вне зависимости от способа измерения и в ныне действующих разновидностях регистрациионно- измерительных систем.
Однако при реализации косвенного способа измерения появляются и дополнительные факторы влияния, которые необходимо учитывать при оценке погрешностей измерения длины материала. К ним относятся: условия контактного взаимодействия материала с элементами преобразователя линейных перемещений, если таковые используются; положение материала в пространстве движения и отклонение его от условно заданной линии транспортирования; влияние допусков на изготовление конструктивных элементов; способов получения, обработки, передачи, регистрации результатов измерения и т. д.
















