1 (709988), страница 3
Текст из файла (страница 3)
Рис. 6
на пульте управления ТСО электронные часы минутного отсчета времени. Наличие подобных часов позволяет рационально спланировать время урока и выдержать намеченный график. Часы могут включаться для отсчета минут или по общему сигналу начала урока (звонку), или отдельной кнопкой начала отсчета. Та же кнопка сбрасывает показания часов. Индикатор часов цифровой. Непосредственно в помещении аудиторной части кабинета физики размещены лишь телевизоры и кодоскоп (в нише демонстрационного стола). Все остальные аппараты размещены в подсобном помещении, и управление ими осуществляется дистанционно. С этой целью для оснащения кабинета выбраны аппараты, имеющие дистанционное управление. Кнопки устройств дистанционного управления вынесены на общий пульт и расположены рядом с включателем соответствующего устройства. Связь пульта5. Управление аппаратами в подсобном помещении осуществляется по многожильному кабелю, проложенному под полом. Таким образом, вся дорогостоящая аппаратура (видеомагнитофон, магнитофон, проекционная аппаратура, компьютер и т.д.) надежно защищена от неосторожного обращения.
6. Телевизор должен быть размещен так, что с любого ученического места обеспечивается наилучшее восприятие изображения с экрана. Кабинет в идеале должен быть оснащен телевизорами цветного изображения с размером экрана 61 см по диагонали.
Важно отметить, что телевизоры используются не только как телевизионные приемники для приема телевизионных программ с, общей антенны, но и как мониторы для работы с видеомагнитофоном и передающей телевизионной камерой (гнездо для включения камеры размещено на панели «Воздух» в ее нижней части) и как дисплеи персонального компьютера (гнездо для включения пульта компьютера размещено в нижней части панели «Воздух»).
6. Согласно условиям эксплуатации кодоскоп должен находиться в непосредственной близости от рабочего места учителя, но в то же время этот проекционный аппарат должен быть надежно защищен от неосторожного обращения во время хранения. Удовлетворяет этим требованиям следующее решение. Кодоскоп хранится в нише демонстрационного стола, закрываемой дверцей на ключ. Ниша расположена в торце стола с левой стороны от учителя. Кодоскоп прикреплен на шарнирах к дверце так, что открытая дверца ниши одновременно служит опорой кодоскопа в рабочем состоянии. При таком размещении кодоскоп оказывается слишком близко от экрана. Для того чтобы получить достаточно крупное изображение, на объектив кодоскопа крепится насадка, предложенная Н. Л. Бронниковым и А. Н. Миллером (см.: Физика в школе.— 1980.—№ 1.—С. 56). Корпус насадки вытачивается на токарном станке из любого материала (металл, пластмасса, сухое дерево) по размерам, указанным на рисунке. В насадке используется двояковыпуклая линза с фокусным расстоянием 403 мм из школьного набора линз и зеркал. Стойка объективодержателя укорачивается на 120 мм.
Насадка позволяет получать достаточно крупное изображение « на экране с позитивов размером 13Х 18 см. Например, на полиэтиленовой пленке можно печатать текст на пишущей машинке. При расстоянии 2—2,5 м от кодоскопа, закрепленного на дверце, до экрана изображение получается настолько крупным, что читается с расстояния 9—10 м. При подготовке к хранению кодоскоп опрокидывается на шарнирах и повисает на внутренней поверхности дверцы. При повороте дверцы кодоскоп оказывается в нише стола. Дверца запирается на ключ.
Некоторые учителя и методисты предлагают изготовить вспомогательное оснащение демонстрационного стола. Чаще всего говорится о таких дополнениях:
1. В полости демонстрационного стола оставлена открытая (со стороны учителя) резервная ниша шириной 400 мм для временного размещения подготовленных к уроку отдельных приспособлений (например, настольных черно-белых экранов фона). В этой же нише имеется гнездо для постоянного хранения стержней универсальных 21 физических штативов. На рисунке хорошо видно это гнездо со стержнями.
2. Выдвижной ящик предназначен для хранения деталей универсального физического штатива, выключателей и другого лабораторно-вспомогательного оборудования.
Рис. 7
3. Из торца демонстрационного стола может быть выдвинут стол учителя. Выдвижной стол учителя размещается в полости демонстрационного стола между пультом управления электропитанием ученических столов и нишей кодоскопа.
4. На вертикальной облицовке демонстрационного стола около его левого угла (по пути к двери во вспомогательное помещение) помещены две сигнальные лампы. Лампы сигнализируют о том, что пульт электроснабжения демонстрационного стола и пульт управления техническими средствами обучения находятся под напряжением, Рядом установлена кнопка аварийного выключения всего силового электропитания физического кабинета. Тем самым снижается вероятность оставить кабинет с включенным электроснабжением.
5. Металлический каркас демонстрационного стола заземлен. Рядом с блоком электроснабжения установлен зажим заземления, позволяющий быстро и удобно заземлять те демонстрационные приборы, которые по условиям эксплуатации нуждаются в заземлении.
Немаловажную функцию в работе кабинета имеет и электроснабжение кабинета и рабочего стола учителя, рабочего места ученика.
Исходя из сложившейся в последнее время ситуации, оптимален следующий вариант электроснабжения кабинета физики, соответствующий требованиям указанного выше ГОСТа:
1. Все переносные демонстрационные и лабораторные электрические приборы выполняются заводами-изготовителями по классу II с напряжением питания 220 В и снабжаются несъемными шнурами с бытовыми двухконтактными вилками;
2. На демонстрационном столе и столах учащихся устанавливают двухконтактные одинаковые бытовые штепсельные розетки;
3. Взамен электрораспределительных щитов ЩЭ-59, КЭФ-10 и КЭК на стене кабинета физики устанавливают простейший пульт управления электроснабжением (электрораспределительный щит), содержащий общий выключатель сети с предохранителями, встроенный УЗОШ, выключатели одной линии демонстрационного стола и трех линий рядов ученических столов (каждая линия снабжается своим предохранителем и сигнальной лампой).
В предложенном варианте основным средством защиты от поражения электрическим током служит двойная или усиленная изоляция прибора, выполненного по классу II. УЗОШ играет роль дополнительного средства защиты.
В настоящее время в Институте средств обучения РАО составлены исходные требования к разработке школьного электрораспределительного щита с целью его серийного производства промышленными предприятиями.
Простота конструкции щита позволяет изготавливать его в школах (если такая возможность имеется). Для этого необходимо приобрести УЗОШ и набор автоматических выключателей. По конструкции щит может быть выполнен в виде коробки, внутри которой размещены общий выключатель сети, устройство защитного отключения, автоматические выключатели и клеммы одной линии демонстрационного стола и трех линий рядов ученических столов, предохранители и индикаторные фонари. Ручки выключателей и колпачки фонарей выводятся наружу. Щит питается от сети переменного тока напряжением 220 В и рассчитан на общую мощность подключенных к нему потребителей не более 2,2 кВт.
Промышленное производство щита ЩЭШ не исключает параллельного производства комплекта КЭФ-10 и его применения в школах.
Школы могут приобретать по выбору КЭФ или ЩЭШ в зависимости от выбранного профиля и уровня обучения, выбора помещения и способа организации практических занятий учащихся, а также Других причин. При любом напряжении электрического тока (42 или 220 В) в розетках ученических столов учащиеся будут выполнять практические работы при напряжении не более 12 В, используя индивидуальные выпрямители (источники питания, отвечающие требованиям ГОСТа 28139-89).
Важное достоинство именно такого щита состоит в том, что учащиеся при разноуровневом обучении могут выполнять не только опыты, предусмотренные программой, но и опыты, ранее проводившиеся как демонстрационные.
3. Дополнительные усовершенствования оборудования кабинета физики.
В данном параграфе рассмотрим вопросы дополнительного усовершенствования основных элементов оборудования кабинета физики. Эти вопросы раскрываются на основе анализа многих предложений, описанных в методической литературе.
Не секрет, что многих учителей не удовлетворяет конструкционные особенности меловых досок, выпускаемых промышленностью для средних школ. Нам представляется, что описанные ниже предложения по конструкции меловой доски являются интересными и реализуемыми [ ]. При этом она удачно вписывается в конструкции описанной ранее разделительной стенки
Меловая доска изготавливается из витринного стекла толщиной 8 мм, вставленного в рамку из стального уголка, и закрепляется на горизонтальных перемычках второй и третьей рамок каркаса разделительной стенки.
Поверхность стекла матирована. Есть несколько способов сделать поверхность стекла матовой. Привлекает кажущейся простотой химический способ травления поверхности стекла плавиковой кислотой. На этом способе мы не будем останавливаться не только потому, что его применение требует соблюдения правил, безопасного труда, но и потому, что при химическом травлении образуется настолько мелкое зерно неровностей, что очень скоро эти мелкие неровности забиваются мелом (сначала), а потом сошлифовываются.
В этом случае мел перестает оставлять след на такой почти гладкой поверхности. Лучший результат дает обработка стекла пескоструйным аппаратом. Но возможно и ручное матирование поверхности стекла. Так как этот способ вполне доступен в школьных условиях, то остановимся на нем несколько подробнее.
Рис. 8
Удобно матировать поверхность стекла, когда стекло расположено горизонтально. Для работы используется просеянный наждачный порошок. На это обстоятельство необходимо обратить внимание. Если использовать непросеянный наждачный порошок, то на поверхности стекла, появятся глубокие царапины.Просеянный наждачный порошок насыпается ровным слоем на участок увлажненного стекла, а затем сверху накладывается еще один небольшой кусок стекла, которым с небольшим нажимом совершают круговые движения по поверхности матируемого стекла. Стекло-инструмент необходимо постоянно перемещать.
По мере обработки изменяется усилие, необходимое для перемещения стекла-инструмента. Сначала ощущается, как стекло-инструмент легко перемещается на перекатывающихся зернах наждака, но по мере обработки трение стекла о стекло возрастает. Изменяется и звук: хрустящий в начале, он постепенно переходит в шипящий.
Ручная обработка стекла размером ЗОООх1000 мм потребует 1—1,5 ч работы одного человека. После такой обработки на поверхности стекла хорошо оставляет след мел любого качества. Написанное легко удаляется влажной губкой. Но главное достоинство стеклянной меловой доски заключается в том, что с обратной (не матированной) стороны доска может быть окрашена в рекомендуемый эргономикой цвет, а затем, когда краска высохнет, поверхность доски можно расчертить в клетку со стороной 100 мм.
В вершинах образовавшихся квадратов краска со стекла стирается в виде небольших крестиков. С противоположной (матовой) поверхности эти крестообразные метки хорошо видны только вблизи от доски и незаметны учащимся. Но учителю эти метки помогают быстро построить график, вычертить схему и т. д. Метки не мешают, но и стереть их невозможно.
В нижней части меловой доски к металлической рамке прикреплен лоток для сбора меловой крошки и пыли. Минимальный зазор между лотком и подвижной магнитной доской предотвращает падение губки, кусков мела и других предметов в этот зазор.
Так как меловая доска углублена в нишу разделительной стенки как в своеобразную световую шахту, то это обстоятельство полностью исключает появление световых бликов на поверхности меловой доски.
Еще об одном приспособлении часто пишется в литературе. Это магнитная доска-экран. Нет необходимости говорить о преимуществах такой доски на уроках физики. При этом эта доска используется не столько для простого крепления наглядных пособий, сколько при проведении демонстрационного эксперимента.
Магнитная доска-экран изготавливается из целого стального листа, прикрепленного для прочности к рамке из уголковой стали размером 3000Х1000 мм. По бокам узкой части рамки закреплены обрезиненные ролики, выступающие из рамки и входящие в пазы вертикальных стоек каркаса разделительной стенки. Тем самым доска-экран может перемещаться вверх и вниз [ ].
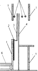
Для того чтобы скомпенсировать вес доски, она подвешивается в петле стального троса так, что образуется своеобразный подвижный блок (рис 9 ). Один конец стального троса диаметром 3—4 мм (на рисунке он изображен утолщенной линией) закреплен на каркасе разделительной стенки, а другой конец, переброшенный через верхний блок, соединен с грузом противовеса. Груз противовеса перемещается в шахте, образованной пространством между третьей и четвертой вертикальными рамками разделительной стенки . Груз противовеса подобран так, что
Рис. 9
перемещение тяжелоймагнитной доски-экрана может быть произведено небольшим усилием одной руки. Такой способ подвески .доски обеспечивает ее перемещение без перекосов и заеданий.
Поверхность доски может быть окрашена матовой белой краской. Таким образом, в поднятом состоянии доска может играть роль не только магнитной доски, но и экрана фона и большого проекционного экрана, на который удобно проецировать изображения, даваемые проекционным аппаратом ФОС с демонстрационного стола или для теневого проецирования.















