superfinishirovanie (708978), страница 2
Текст из файла (страница 2)
Общий подход к выбору ширины и длины бруска должен основываться на том, что для исправления волнистости и огранки, образовавшихся на поверхности детали после предшествующей суперфинишированию обработки, необходимо, чтобы длина и ширина рабочей поверхности бруска были больше длины волны соответственно в продольном и поперечном сечениях детали.
Обрабатываемые детали поступают для суперфиниширования, как правило, после операций шлифования. В некоторых случаях, например при обработке цветных металлов, суперфиниширование производят после тонкого точения. Поскольку суперфиниширование незначительно исправляет овальность деталей, а исправление конусо-образности, седлообразности, бочкообразности связано
с большими затратами времени, то достигать требуемой точности обработки следует на предшествующих операциях
Припуск /7сф, снимаемый при суперфинишировании, определяется из следующих соотношений:
при обработке поверхностей вращения
/7сф==2(/?„,„+Ав);
при обработке торцовых поверхностей
Ясф =/?,„+ Ив,
где /?„1„= (8— 10)/?а—параметр шероховатости поверхности детали после предшествующей обработки; ив — максимальная высота волны после предшествующей обработки.
В табл. 4.8 приведены значения припусков на суперфиниширование в зависимости от исходных волнистости и шероховатости. При необходимости удаления дефектного слоя металла, превосходящего высоту неровностей шероховатости, припуск следует увеличить на глубину этого слоя.
Размерная точность детали, достигнутая предшествующей обработкой, как правило, сохраняется при суперфинишировании, т. е. снятие припуска происходит в пределах допуска на размер. Поэтому целесообразно изготовлять детали, подлежащие суперфинишированию, по верхнему предельному размеру.
Для получения высокого качества поверхности следует обеспечить наименьшее биение детали, что достигается путем тщательной обработки ее центровых отверстий и центров суперфинишного станка, а также за счет наиболее качественного выполнения операции шлифования. Значительное биение детали при высоких окружных скоростях, применяемых на заключительных переходах операции суперфиниширования, может явиться причиной ударов бруска по обрабатываемой поверхности, что ухудшает ее качество. Некачественно выполненные термообработка и шлифование деталей являются причиной образования при суперфинишировании мелких трещин и так называемых комет, которые представляют собой углубления (пороки металла) с расходящимися пучками глубоких рисок, образовавшихся при попадании в эти углубления свободных абразивных частиц.
В качестве абразивного инструмента для суперфиниширования используют мелкозернистые бруски, преимущественно на керамической связке. Такие бруски изготовляют методом прессования или литья. На операциях бесцентрового суперфиниширования часто применяют бруски на бакелитовой связке с графитовым наполнителем (на последней стадии обработки). При суперфинишировании прессованные бруски имеют ограниченное применение. Обычно их используют для относительно грубой обработки, когда параметр /?д составляет 0,2 мкм и более. При этом используют, как правило, бруски зер-нистостей М40—М28. Во всех остальных случаях (более низкая шероховатость, отсутствие единичных дефектов) применяют литые бруски, обладающие более однородной структурой, чем прессованные, они быстрее прирабатываются к поверхности детали и устойчиво работают в режиме затачивания. Поэтому использование литых брусков позволяет увеличить съем металла в 1,6—2,8 раза и уменьшить шероховатость обработанной поверхности в 1,2—3 раза.
Выбор абразивного материала брусков определяется материалом обрабатываемой детали. 'Суперфиниширование термообработанных конструкционных сталей твердостью 56—64 НКСэ производят брусками из белого электрокорунда и зеленого карбида кремния. При этом, как правило, бруски из белого электрокорунда используют на предварительных операциях (переходах) для обеспечения интенсивного съема металла, а из зеленого карбида кремния — на чистовых операциях (переходах) для обеспечения требуемой шероховатости. Кроме того, при обработке деталей, имеющих прерывистую поверхность (отверстия, масляные карманы, шлицевые пазы и т. д.), предпочтительнее использовать бруски из электрокорунда 24А, так как он менее хрупкий материал, чем зеленый карбид кремния, и лучше противостоит ударным нагрузкам.
Бруски из эльбора следует использовать при суперфинишировании деталей из труднообрабатываемых сталей и сплавов, таких, как быстрорежущие стали Р9Ф5 и Р12Ф5 (975—985 НУ), жаропрочные сплавы ЭИ347 (847 НУ) и ЭИ992 (192 НУ), коррозионно-стойкой стали 9Х18 (824 НУ) и пр. Исследования, проведенные во ВНИИАШе, показали, что при обработке закаленных труднообрабатываемых материалов эльбор обеспечивает значительно большую производительность, чем карбид кремния и алмаз. Так, при суперфинишировании стали ЭИ347 интенсивность съема металла эльборными брусками в 1,4—1,5 раза выше, чем брусками из зеленого карбида кремния, а при обработке быстрорежущих сталей — в 5—7 раз.
ПРОГРЕССИВНЫЕ ПРОЦЕССЫ СУПЕРФИНИШИРОВАНИЯ
Суперфиниширование с наложением ультразвуковых колебаний
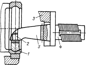
Одним из способов интенсификации процесса суперфиниширования является наложений на брусок ультразвуковых колебаний. Устройство, обеспечивающее этот метод обработки, приведено на рис. 5.1 и представляет собой акустический узел, состоящий из магнитостриктора 4 и концентратора 5, который преобразует электрические колебания ультразвукового генератора в механические. Узел крепится к доводочной головке' 3. Брусок /, приклеенный к оправке 2, крепится к концентратору 5, который сообщает ему ультразвуковые колебания.
Использование ультразвука создает более благоприятные условия для срезания и дробления стружки, удаления отходов из зоны резания, способствует улучшению условий самозатачивания бруска и устранению налипов на его рабочей поверхности. Указанное явление хорошо иллюстрируется на примере изучения сил резания при суперфинишировании. Как видно из рис. 5.2, наложение на брусок ультразвуковых колебаний при одинаковых условиях обработки (иок-=120 м/мин, Пбр=7 Гц, брусок 63СМ10)
Рис. 5.1. Устройство для обработки дорожки качения кольца шарикоподшипника с наложением на брусок ультразвуковых колебании
снижает удельную тангенциальную составляющую силы резания Рг в 1,3— 2 раза.
Увеличение амплитуды ультразвуковых колебаний способствует снижению нагрузки на режущие кромки бруска. Так, для случая суперфиниширования с постоянной интенсивностью съема металла, равной 0,8 мм^с, имеют место следующие соотношения между амплитудой ультразвуковых колебаний Оуз и удельной тангенциальной составляющей силы резания Рг: при йуз=2. мкм Р,=42,5 Н/см2; при Оуз==3 мкм Р,=25,7 Н/см2; при а„=4 мкм А=23,1 Н/см2
Рис 5.2. Зависимость удельной тангенциальной составляющей силы резания Р, от давления бруска р-
1 — суперфиниширование по обычной схеме, 2 — суперфиниширование с ультразвуковыми колебаниями
Тот факт, что наложение на брусок ультразвуковых колебаний облегчает условия резания и улучшает самозата-чивание бруска, указывает на целесообразность использования этого метода обработки при суперфинишировании деталей из труднообрабатываемых материалов, имеющих низкую твердость и высокую пластичность (цветные, титановые, жаропрочные сплавы, коррозионно-стойкие стали и др.). Основной проблемой при суперфинишировании этих материалов по обычной схеме является образование налипов металла на режущей поверхности бруска, которые приводят к ухудшению качества обрабатываемой поверхности вследствие появления на ней от-
5.4. Торцовое суперфиниширование
Существующие промышленные методы финишной обработки плоских высокоточных поверхностей — доводка монослоем свободного абразивного зерна (пастами, суспензиями) или закрепленного зерна (шаржированными притирами) — имеют ряд недостатков. При обработке свободным зерном производительность процесса и стойкость абразивного слоя ограничены невозможностью повышения скорости и давления выше критических значений (и= =0,5—1 м/с; /?==0,2—0,3 МПа), с увеличением которых происходят удаление абразивной смеси с притира и измельчение зерен. Поверхностный слой металла может насыщаться свободными абразивными частицами, что снижает износостойкость деталей. При обработке шаржированными притирами монослой закрепленных зерен быстро затупляется, вследствие чего стойкость его невысока, а производительность с течением времени снижается.
Способ торцового суперфиниширования, при котором многослойный инструмент с закрепленным зерном представляет собой круг чашечной формы (или набор брусков) со сплошной или прерывистой торцовой рабочей поверхностью, таких недостатков не имеет. В этом случае инструмент вращается и может дополнительно совершать осциллирующее движение; деталь, установленная на магнитном или вакуумном столе, вращается (см. рис. 1.7, д, е). Траектории абразивных зерен по обрабатываемой поверхности в зависимости от соотношения чисел оборотов круга и детали представляют собой либо циклоидальные кривые (/гд/Пк 1). Предпочтительным является встречное суперфиниширование.
Выбор межцентрового расстояния А и расчет поверхности контакта 5к круга с деталью могут быть выпол-ныны с помощью следующих формул:
Торцовое суперфиниширование осуществляется как в режиме самозатачивания и преобладающего резания, так и в режиме трения — полирования. При обработке чугуна СЧ 21-40 высокие результаты по съему металла (25— 30 мкм/мин) достигнуты кругом 63СМ10МЗКЛ при скорости и =2 м/с и давлении р=0,3 МПа. При обработке деталей из закаленной стали (60—65 НКСэ) лучшие результаты достигнуты инструментом из эльбора. Круги из эльбора ЛОМ28МЗК 100% при и=3 м/с и р=0,\ МПа обеспечивают повышенный съем (30—60 мкм/мин), причем износ кругов из эльбора в 50—100 раз меньше, чем электрокорундовых. Круги длительное время сохраняют высокую режущую способность, однако повышение твердости сверх оптимальной приводит к быстрому прекращению резания. Снижение давления до 0,05 МПа и увеличение частоты вращения детали до 700— 1000 мин~1 переводят процесс в режим трения—полирования. При этом параметр шероховатости /?а=0,02— —0,08 мкм. Шаржирования обработанной поверхности абразивом не происходит.
Высокая точность формы деталей достигается при торцовом суперфинишировании. Так, при обработке колец диаметром 150 мм отклонение от плоскостности не превышает 3—5 мкм. В настоящее время проводятся работы по применению торцового суперфиниширования для обработки колец упорных роликоподшипников, концевых мер длины, сферических поверхностей.
Список используемой литературы
-
З.И. Кремень, И.Х. Страшевский '' Хонингование и суперфиниширование деталей'' Ленинград, ''Машиностроение'' 1988г.















