work (708775), страница 2
Текст из файла (страница 2)
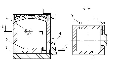
Нам необходимо получить высококачественную легированную сталь 36Х2Н2МФА, где "36" - среднее содержание углерода в сотых долях процента. Такую сталь целесообразнее получить в электродуговых печах (рис.3)
Сущностью любого металлургического передела чугуна в сталь является снижение содержания углерода и примесей путем их избирательного окисления и перевода в шлак и газы в процессе плавки.
Исходные материалы: передельный чугун и стальной лом (скрап), железная руда, окалина (источник О2), флюс-известняк - в основных печах, кварцевый песок - в кислых, топливо (электрический ток).
Рис.3. Схема электродуговой печи
Печь питается трехфазный переменный током и имеет три цилиндрических электрода из графитизированной массы. Между электродами и металлической шихтой под действием тока возникает электрическая дуга, электроэнергия превращается в теплоту, которая передается металлу и шлаку излучением. Рабочее напряжение 160-600 В, сила тока 1-1О кА. Во время работы печи длина дуги регулируется автоматически, путем перемещения электродов. Стальной кожух печи футерован огнеупорным кирпичом.
Печь загружают при снятом своде. Печь может наклоняться в сторону загрузочного окна и летки.
Производят плавку не углеродистой шихте. В печь загружают стальной лом – 90%, чушковый передельный чугун – до 10%, электродный бой, кокс, известь – 2-3%.
Опускают электроды и включают ток. При плавлении металл накапливается на поддоне печи. Во время плавления шихте кислородом воздуха, оксидами шихты и окалины окисляется железо, кремний, фосфор и частично углерод. Оксид кальция из извести и оксиды железа образуют основной железистый юлах, способствующий удалению фосфора из металла.
После нагрева металла и шлака до температуры 1500-1540oC в печь загружают руду и известь и проводят период "кипения"; происходит дальнейшее окисление углерода. Когда содержание углерода будет меньше заданного на 0,1%, кипение прекращают и удаляют шлак из печи. Затем удаляет серу и приступают н раскислению металла, доведению химического состава до заданного. Раскислёние проводит осаждением и диффузионным методом. После удаления шлака в печь подают силикомарганец и силикокальций - раскислители. Затем загружают известь, плавиковый шпат и шамотный бой. После расплавления флюсов и образования высокоосновного шлака на его поверхность вводят раскислительную смесь, углерод кокса и кремний ферросилиция, восстанавливают оксид железа в шлаке, содержание его в шлаке ниже, и кислород из металла переходит в шлак. По мере раскисления и понижения содержания FеО шлак становится белым. Раскисление под белым шлаком длится 30-60 мин.
Для определения химического состава металла берут пробы, затем в печь вводят легирующие элементы в виде ферросплавов для получения заданного химического состава металла. Порядок ввода определяется сродством легирующих элементов к кислороду. Конечное раскисление выполняют алюминием и силинокальцием и выпускают металл из печи в ковш, из которого его разливают в изложницы.
При использовании дуговых печей большой вместимости выплавка высококачественной конструкционной стали выполняется с использованием специальных технологий: вакуумирование стали, внепечная обработка синтетическим известково-глиноземистым шлаком, продувка аргоном и т.д.
Легированные и высококачественные стали разливают в слитки массой 500кг – 7т., а некоторые высоколегированные стали в слитки массой в несколько килограммов. Для обычных углеродистых сталей используют разливку сверху, а для легированных и высококачественных сталей используют разливку сифоном в изложницы.
В изложницах сталь затвердевает и получаются слитки, которые подвергают дальнейшей обработке. Поверхность слитка получается чистой.
Схема сифонной разливки стали в изложницы
Сталью заполняются одновременно несколько изложниц: сталь плавно, без разбрызгивания заполняет изложницы (меньше раковин и пустот, плен оксидов от брызг металла, затвердевающих на стенках изложницы)
Рис.4. Схема сифонной разливки стали в изложницы;
1 - ковш; 2 - жидкая сталь; 3 - центровой лигнин; 4 - огнеупорные трубы; 5 - изложницы; 6 - поддон; 7 - прибыльная надставка
Вакуумно-дуговой переплав для повышения качества металла
Процесс осуществляют в вакуумных дуговых печах с расходуемым электродом. Расходуемый электрод 3 изготовляют механической обработкой слитка. Его закрепляют на водоохлаждаемом штоке 2 и помещают в корпус 1 печи и далее в медную водоохлаждаемую изложницу 6. Из корпуса печи откачивают воздух до остаточного давления 0,00133 кПа.
При подаче напряжения между расходуемым электродом-катодом 3 и затравкой-анодом 8 возникает дуга. Выделяющаяся теплота расплавляет конец электрода; капли жидкого металла 4, проходя зону дугового разряда, дегазируются, заполняют изложницу и затвердевают, образуя слиток 7. Дуга горит между расходуемым электродом и жидким металлом 5 в верхней части слитка на протяжении всей плавки. Сильное охлаждение слитка и разогрев дугой ванны металла создают условия для направленного затвердевания слитка, вследствие чего неметаллические включения сосредотачиваются в верхней части слитка, а усадочная раковина в слитке мала. Такие слитки содержат мало газов, неметаллических включений, отличаются высокой равномерностью химического состава, повышенными механическими свойствами. Из слитков изготовляют ответственные детали турбин, двигателей, авиационных конструкций. Масса слитков достигает 50 т.
Получение заготовки.
Ковка – вид горячей обработки металлов давлением, при котором металл деформируется с помощью универсального инструмента. Металл свободно течет в стороны, не ограниченные рабочими поверхностями инструмента, в качестве которого применяют плоские или фигурные (вырезные) бойки, а также различный подкладной инструмент. Полученные заготовки называют поковками.
Ковка является единственно возможным способом изготовления тяжелых поковок (до 250т.) типа валов гидрогенераторов, турбинных дисков, коленчатых валов судовых двигателей, валов прокатных станов и т.д. Исходными заготовками для ковки тяжелых крупных паковок служат слитки массой до 320 т.
Процесс ковки состоит из чередования в определенной последовательности основных и вспомогательных операций. Каждая операция определяется характером деформирования и применяемым инструментом.
Высоколегированные стали склонны к интенсивному упрочнению, поэтому для их ковки целесообразнее использовать пресс, а не молот. Ввиду малой скорости деформирования на прессах разупрочняющие процессы, возврат и рекристаллизация, успевают произойти полнее, и упрочнение снижается. Ввиду того, что высоколегированные стали имеют пониженную пластичность, нужно выбирать такие приемы ковки, при которых значительно снижаются растягивающие напряжения.
Горячую деформацию применяют для обработки труднодеформируемых, малопластичных материалов и для изготовления крупных деталей. Каждый металл должен быть нагрет до вполне определенной температуры, чтобы не получить пережог и перегрев.
Нагревательные печи применяют для нагревания металла перед обработкой давлением. В печах теплота к заготовке передается главным образом конвекцией и излучением из окружающего пространства нагревательной камеры, выложенной огнеупорным материалом. Теплоту получают в основном сжиганием газообразного, реже жидкого, топлива (мазут).
Наиболее распространенным типом печей является камерная печь, в которой заготовки 2 укладывают на под 1 печи через окно 4 и после прогрева до заданной температуры извлекают через то же окно. Рабочее пространство печи нагревают сжиганием газа с помощью горелок 3, служащих для смешения газа с воздухом и подачи смеси в печь. Продукты сгорания отводят через дымоход 5 в рекуператор – теплообменник, в котором поступающий к горелкам воздух нагревается теплотой горячих уходящих газов. Подогрев воздуха до температуры 350 – 500 оС позволяет экономить до 25% топлива. Для нагрева крупных заготовок применяют камерные печи с выдвижным подом и специальные посадочные машины.
Рис.5 Камерная нагревательная печь
Протяжка – операция удлинения заготовки или ее части за счет уменьшения площади поперечного сечения. Протяжку производят последовательными ударами или нажатиями на отдельные участки заготовки, примыкающие один к другому, с подачей заготовки вдоль оси протяжки и поворотами ее на 90о вокруг этой оси. При каждом нажатии уменьшается высота сечения, увеличивается ширина и длина заготовки.
При протяжке круглого сечения используется вид протяжки с круга на круг (рис. 6) в вырезных бойках. Силы направленные к осевой линии заготовки способствуют более равномерному течению металла и устранению возможности образования осевых трещин.
Оборудование: гидравлические прессы – машины статического действия; продолжительность деформации на них составляет от единиц до десятков секунд. Металл деформируется приложением усилия от гидроцилиндра пресса.
Последовательность операций паковки устанавливают в зависимости от конфигурации паковки и технологических требований на нее.
Рис. 6 Протяжка с круга на круг в вырезных бойках.
Термическая обработка
Для устранения физической и химической неоднородности (сорбит, троостит, бейнит или мартенсит) и, как следствие, высокой твердости, созданных предыдущей обработкой, используют отжиг. В процессе отжига происходит уменьшение дендритной или внутрикристаллитной ликвации, которая повышает склонность стали, обрабатываемой давлением, к хрупкому разрушению, к анизотропии свойств и возникновению таких дефектов, как шиферность (слоистый излом) и флокены (тонкие внутренние трещины, наблюдаемые в изломе в виде белых овальных пятен). Нагрев при отжиге 1100 – 1200оС, так как только в этом случае более полно протекают диффузионные процессы, необходимые для выравнивания состава стали.
Общая продолжительность отжига (нагрев, выдержка и медленное охлаждение) больших садок металла достигает 5 – 100 ч. и более. В зависимости от состава стали и массы садки продолжительность выдержки составляет 8 – 20 ч.
Для удаления поверхностных дефектов слитки после отжига иногда подвергают нагреву при 670 – 680о в течение 1 – 16 ч., что снижает твердость.
Данная сталь подлежит дальнейшей закалке и высокому отпуску. Закалка применяется для повышения прочности, твердости, получения достаточно высокой пластичности и вязкости, а для ряда деталей – высокой износостойкости.
Закалка - термическая обработка, заключающаяся в нагревании стали до температуры растворения избыточных фаз, выдержке и последующем охлаждении.
Продолжительность нагрева заготовки должна обеспечить прогрев изделия по сечению и завершение фазовых превращений, но не должна быть слишком большой, чтобы не вызвать роста зерна и обезуглероживания поверхностных слоев стали.
Выбирают продолжительность нагрева в электропечи 90 с. При нагреве в электрической печи взаимодействие печной атмосферы с поверхностью нагреваемого изделия приводит к окислению и обезуглероживанию стали.
Окисление создает невозвратимые потери металла. Окисление происходит в результате взаимодействия стали с кислородом (2Fе+О2 2FеО), парами воды (Fе + H2O — FeO+H2) и двуокисью углерода (Fе + CO2 — FеО + СО).















