66284 (696227), страница 2
Текст из файла (страница 2)
Основными процессами хлебопекарного производства являются замес и брожение рецептурной смеси-теста. При замесе перемешиваются компоненты, смесь подвергается механической обработке и насыщению пузырьками воздуха, происходит гидролитическое воздействие влаги на сухие компоненты смеси, формируется губчатый каркас теста. Брожение теста вызывается жизнедеятельностью дрожжей, молочно-кислых и других бактерий. При брожении в тесте протекают микробиологические и ферментативные процессы, изменяющие его физические свойства. Образуется капиллярно-пористая структура, удерживаемая эластично-пластичным скелетом, поры которого заполнены газом, состоящим из диоксида углерода, паров воды, спирта и других продуктов брожения. Происходит накопление ароматических и вкусовых веществ, определяющих потребительские свойства хлеба.
Продукция хлебопекарного производства выпускается в законченном товарном и потребительском виде. Срок хранения хлеба без специальной упаковки не превышает 1.. .2 суток, поэтому его производство организуют в местах непосредственного потребления. Для транспортирования хлеб укладывают на деревянные лотки, размещают последние на стеллажах или тележках и перевозят специализированными автомобилями.
Список литературы
-
Введение в специальность. / Под ред. Панфилова В.А. –М., 2007.
-
Егоров, Г.А. Технология и оборудование мукомольно-крупяного и комбикормового производства [Электронный ресурс]: [текст] Учебник/ Г.А. Егоров, Е.М. Мельников, В.Ф. Журавлев. - Электрон. дан.. - М.: Колос, 1979.
-
Машины и аппараты пищевых производств. В 2 кн. Кн. 1. / Под ред. Антипова С.Т. и др. –М., 2001.
-
Чеботарев, О.Н. Технология муки, крупы и комбикормов [Электронный ресурс]: [текст] Учеб. пособие/ О.Н. Чеботарев, А.Ю. Шаззо, Я.Ф. Мартыненко. - Электрон. дан.. - Ростов н/Д: МарТ, 2004
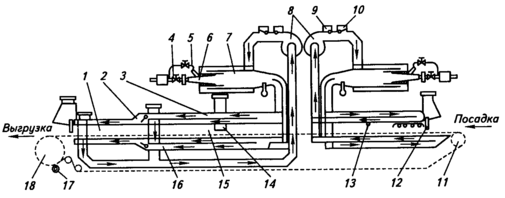
Приложение 1
Рис. 1. Машинно-аппаратурная схема линии производства хлеба из пшеничной муки
Рис. 2. Тестоприготовительный агрегат И8-ХТА-12
Рис. 3. Принципиальная схема печи ПХС-25















