63546 (695372), страница 2
Текст из файла (страница 2)
Интегральная оптика. Одним из перспективных направлений функциональной микроэлектроники является интегральная оптика, обеспечивающая создание сверхпроизводительных систем передачи и обработки оптической информации. Область исследований интегральной оптики включает распространение, преобразование и усиление электромагнитного излучения оптического диапазона в диэлектрических тонкопленочных волноводах и волоконных световодах. Основным элементом интегральной оптики является объемный или поверхностный оптический микроволновод. Простейший симметричный объемный оптический микроволновод представляет собой локализованную по одной или двум пространственным измерениям область с показателем преломления, превышающим показатель преломления окружающей оптической среды. Такая оптически более плотная область есть нечто иное, как канал или несущий слой диэлектрического волновода.
Рис.5. Разрез твердотельного оптрона с иммерсионным световодом: 1 – планарная диффузия; 2 - селеновое стекло; 3 – омические контакты; 4 – диффузионная мезаструктура; 5 – источник света; 6 – приемник света.
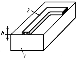
Рис.6. Световод в виде кабеля из светопроводящих волокон: 1 - источник света; 2 – приемник света; 3 – световой кабель.
Примером несимметричного поверхностного диэлектрического волновода может служить тонкая пленка оптически прозрачного диэлектрика или полупроводника с показателем преломления, превышающим показатель преломления оптически прозрачной подложки. Степень локализации электромагнитного поля, а также отношение потоков энергии, переносимых вдоль несущего слоя и подложки, определяются эффективным поперечным размером несущего слоя и разностью показателей преломления несущего слоя и подложки при заданной частоте излучения. Сравнительно простым и наиболее подходящим для твердотельных оптических устройств является оптический полосковый микроволновод, выполненный в виде тонкой диэлектрической пленки (рис.7), нанесенной на подложку методами микроэлектроники (например, вакуумным напылением). С помощью маски на диэлектрическую подложку можно наносить с высокой степенью точности целые оптические схемы. Применение электронно-лучевой литографии обеспечило успехи в создании как одиночных оптических полосковых волноводов, так и оптически связанных на определенной длине, а впоследствии расходящихся волноводов, что существенно для создания направленных ответвителей и частотно-избирательных фильтров в системах интегральной оптики.
Рис 7. Оптический полосковый микроволновод с прямоугольным поперечным сечением: 1 – подложка; 2 – диэлектрическая пленка.
Оптоэлектронные микросхемы. На основе оптоэлектроники разработано большое число микросхем. Рассмотрим некоторые оптоэлектронные микросхемы, выпускаемые отечественной промышленностью. В микроэлектронике наиболее широко применяют оптоэлектронные микросхемы гальванической развязки. К ним относят быстродействующие переключатели, коммутаторы аналоговых сигналов, ключи и аналоговые оптоэлектронные устройства, предназначенные для использования в системах функциональной обработки аналоговых сигналов.
Основным элементом любой оптоэлектронной микросхемы является оптронная пара (рис.8, а, б), состоящая из источника света 1, управляемого входным сигналом, иммерсионной среды 2, оптически связанной с источником света, и фотоприемника 3. Параметрами оптронной пары являются сопротивление развязки по постоянному току, коэффициент передачи тока (отношение фототока приемника к току излучателя), время переключения и проходная емкость.
На базе оптоэлектронных пар создаются оптоэлектронные микросхемы различного назначения.
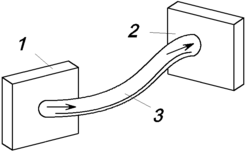
Рис.8. Схема и технологическое выполнение оптронной пары:
1 – источник света; 2 – иммперсионная среда; 3 – фотоприемник.
ЛИТЕРАТУРА
-
Петров К.С. Радиоматериалы, радиокомпоненты и электроника: Учебное пособие для вузов. – СПб: Питер, 2003. – 512 с.
-
Опадчий Ю.Ф. и др. Аналоговая и цифровая электроника: Учебник для вузов / Ю.Ф. Опадчий, О.П. Глудкин, А.И. Гуров; Под. ред. О.П. Глудкина. М.: Горячая Линия – Телеком, 2002. – 768 с.
-
Акимов Н.Н. и др. Резисторы, конденсаторы, трансформаторы, дроссели, коммутационные устройства РЭА: Справочник / Н.Н. Акимов, Е.П. Ващуков, В.А. Прохоренко, Ю.П. Ходоренок. Мн.: Беларусь, 2005. – 591 с.















