63408 (695316), страница 2
Текст из файла (страница 2)
Рис. 10. Схема растрового электронного микроскопа:
1 - термоэмиссионный катод; 2 - управляющий электрод; 3 - анод, 4 - ЭЛТ для наблюдения; 5 - ЭЛТ для фотографирования; 6,7 - первая и вторая конденсорная линзы; 8 - отклоняющие катушки; 9 – стигматор; 10 - объективная линза; 11 - объективная диафрагма; 12 - электронный пучок; 13 - генератор развёртки электронного луча микроскопа и ЭЛТ видеоблока; 14 - сцинтиллятор; 15 – светопровод; 16 – ФЭУ; 17 – видеоусилитель; 18 – исследуемый образец; 19 – регистрируемый сигнал (оптический, рентгеновский или электронный)
В
Рис. 11. Электронное изображение головы муравья, полученное в отраженных электронах с большой глубиной резкости
РЭМ необходимо применять излучающую систему, формирующую на образце пятно очень малого размера и позволяющую перемещать его по всей поверхности образца. Вследствие того, что диаметр пучка электронов поддерживается в пределах нескольких микрометров на достаточно большом расстоянии от поверхности образца, глубина резкости велика, что очень важно при исследовании рельефных поверхностей микрообъектов (рис. 6). Эта особенность РЭМ, которой полностью лишены световые и просвечивающие электронные микроскопы, обеспечивает РЭМ большое практическое значение и при небольших увеличениях (рис. 11).Принцип действия ионных микроскопов
Методы зондирования поверхности излучениями всё же не дают возможности своими глазами увидеть её самые малые участки. Для того, чтобы понять, что же происходит на поверхности, исследователям необходима карта точного расположения атомов и их электронных оболочек. Наблюдать отдельные атомы на поверхности позволяют ионные микроскопы. Это связано с тем, что длина волны движущегося в электрическом поле иона должна быть гораздо меньше, чем длина волны электрона, что подтверждается формулой Луи де Бройля -
= h/mv ,
ведь масса иона несоизмеримо больше массы покоя электрона.
В настоящее время (начало бурного развития наноэлектронных технологий) практически опробованы и постоянно модернизируются несколько типов ионных микроскопов, среди которых можно выделить полевой ионизационный микроскоп, растровый туннельный микроскоп и атомный силовой микроскоп. Ниже кратко рассмотрим первых два вида ионных микроскопов.
Полевой ионизационный микроскоп (ПИМ).
Основой прибора служит очень тонкая и острая металлическая игла, являющаяся исследуемым образцом, а также люминесцентный экран, расположенный напротив (рис. 12).
Рис. 12. Схема формирования изображения в полевом ионизационном микроскопе
1 - образец исследуемого материала (наконечник иглы); 2 - зона ионизации;
3 - атом "изображающего" газа; 4 - ион; 5 - расходящийся поток ионов;
6 - заземлённый флуорисцирующий экран; 7 - вспышка на экране;
8 - изображение (совокупность вспышек)
Пространство между иглой и экраном заполняется инертным газом (гелием, аргоном) при давлении 10-1 Па. Если между кончиком иглы и экраном приложить напряжение, причём игла должна служить анодом, то вокруг неё можно создать чрезвычайно сильное электрическое поле - около 500 МВ/см2. Когда электрически нейтральный атом вследствие диффузии подходит к атомам острия, электрическое поле ионизирует его. Этот ион под действием электрического поля направляется к той точке экрана, которая однозначно соответствует позиции атома исследуемого образца, вблизи которого произошла ионизация. Изображение иглы на флуоресцирующем экране характеризуется очень большим увеличением - отчётливо видны атомы кристаллической решётки. Поскольку ионы - это тяжёлые частицы, то длина их волны очень мала, вследствие чего исключаются дифракционные эффекты, снижающие разрешающую способность получаемых изображений.
При этом максимальное разрешение микроскопа определяется величиной менее 0,2 нм.
Однако не все образцы можно изучать с помощью ионного микроскопа. Образец должен быть насажен на тонкий кончик иглы шириной несколько ангстрем и быть стойким к огромным электрическим полям, которые могут привести к разрыву химических связей, удерживающих атомы на поверхности. Самые важные с технологической точки зрения полупроводниковые материалы можно изучать лишь при полях с плотностью около 350 МВ/см.
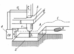
Растровый туннельный микроскоп (РТМ).
Принцип работы РТМ сравнительно прост. Сканирующая металлическая игла, закрепленная в трехкоординатном приводе PX, PY, PZ, расположена перпендикулярно исследуемой поверхности (рис. 13).
Рис. 13. Принцип работы сканирующего туннельного микроскопа:
1 – игла; 2 – исследуемая поверхность; 3 – трехкоординатный пьезопривод; 4 – система обратной связи
С помощью пьезопривода игла подводится к поверхности образца до возникновения туннельного тока IT, который определяется величиной зазора s между иглой и поверхностью:
,
г
Рис. 14. Пределы разрешенич различных типов микроскопов: РТМ-растровый туннельный микроскоп; ОВМ-оптический микроскоп с высоким разрешением; РЭМ-растровый электронный микроскоп;ПИМ-полевой ионизационный микроскоп; ФКМ-фазо-контрастный микроскоп
де Ф – величина потенциального барьера в зазоре, измеряемая в электронвольтах; U – напряжение, приложенное между иглой и образцом в вольтах; s – зазор между поверхностью и иглой в ангстремах.При постоянном напряжении U на зазоре игла перемещается вдоль поверхности, причем с помощью системы обратной связи, воздействующей на пьезоэлемент PZ, туннельный ток IT поддерживают постоянным. Если величина барьера Ф постоянна вдоль исследуемой поверхности (материал поверхности однороден), то величина туннельного тока будет изменяться пропорционально величине зазора между иглой и поверхностью и график изменения этого тока будет описывать профиль рельефа поверхности. Набор таких профилей даст непосредственную информацию о топографии поверхности.
На рис. 14 представлены сравнительные характеристики различных сканирующих растровых микроскопов, а на рис. 15 и 16 – примеры изображений отдельных групп атомов, построенных с помощью РТМ.
Рис. 15. РТМ-изображение германиевой самосборки атомов (германиевая «пирамида» на кремнии) шириной 10 нм
Рис. 16. РТМ-изображение «квантового загона» - 48 атомов Fe по окружности диаметром 14,6 нм с движущимися внутри электронами (волновой рельеф) на медной пластине
ЛИТЕРАТУРА
1. Б. Хабаров, Г.Куликов, А.Парамонов. Техническая диагностика и ремонт бытовой радиоэлектронной аппаратуры. – Мн.: Издательство: Горячая Линия – Телеком, 2004. – 376 с.
2. Дэвидсон Г. Поиск неисправностей и ремонт электронной аппаратуры без схем. 2-е издание. М. Издательство: ДМК Пресс. 2005, - 544 с.















