63356 (695301), страница 2
Текст из файла (страница 2)
Безотказность - свойство объекта непрерывно сохранять работоспособное состояние в течение некоторого времени или наработки.
Под наработкой понимается продолжительность или объем работы объекта. Размерность наработки определяется видом объекта и особенностями его применения, например, наработка двигателя измеряется в моточасах, автомобиля - в километрах пробега, станка-автомата - количеством обработанных деталей, реле - количеством циклов срабатывания и т. п. Наработка может определяться до отказа, между отказами, до наступления предельного состояния или до некоторого фиксированного момента времени.
Долговечность - свойство объекта сохранять работоспособное состояние до наступления предельного состояния при установленной системе технического обслуживания и ремонта.
Основное отличие понятий «безотказность» и «долговечность» состоит в том, что понятие «безотказность» предполагает как бы самостоятельную работу объекта без какого-либо вмешательства извне для поддержания его работоспособности. Понятие «долговечность» предполагает рассмотрение работоспособности объекта за весь период его эксплуатации и учитывает, что длительная работа объекта (особенно сложного) невозможна без проведения мероприятий по поддержанию и восстановлению его работоспособности, утрачиваемой в процессе эксплуатации.
Ремонтопригодность - свойство объекта, заключающееся в его приспособленности к поддержанию и восстановлению работоспособного состояния путем технического обслуживания и ремонта. Ремонтопригодность объекта характеризуется оперативной продолжительностью (трудоемкостью) операций обнаружения отказа, поиска его причин и устранения причин и последствий отказа.
Сохраняемость - свойство объекта сохранять в заданных пределах значения параметров, характеризующих способность объекта выполнять требуемые функции, в течение и после хранения и (или) транспортирования. Это свойство особенно важно для объектов, для которых предусмотрена сезонная эксплуатация или которые применяют по назначению в аварийных или особых. Номенклатура и классификация показателей надежности. Характеристика основных показателей надежности и их статистическое определение.
Номенклатура и классификация показателей надежности
Характеристика основных показателей надежности и их статистическое определение
Показатель надежности - количественная характеристика одного или нескольких свойств, составляющих надежность объекта.
Эти показатели позволяют проводить расчетно-аналитическую оценку количественных характеристик отдельных свойств при выборе различных схемных и конструктивных вариантов объектов при их разработке, испытаниях и в условиях эксплуатации.
Под номенклатурой показателей надежности понимают состав показателей, необходимый и достаточный для характеристики объекта или решения поставленной задачи. Полный состав номенклатуры показателей надежности, из которой выбираются показатели для конкретного объекта и решаемой задачи, установлен ГОСТ 27.002-89.
Показатели надежности принято классифицировать по следующим признакам:
1. По свойствам надежности различают:
-
показатели безотказности;
-
показатели долговечности;
-
показатели ремонтопригодности;
-
показатели сохраняемости.
2. По числу свойств надежности, характеризуемых показателем, различают:
-
единичные показатели (характеризуют одно из свойств надежности);
-
комплексные показатели (характеризуют одновременно несколько свойств надежности, например, безотказность и ремонтопригодность).
3. По числу характеризуемых объектов различают:
-
групповые показатели;
-
индивидуальные показатели;
-
смешанные показатели.
Групповые показатели — показатели, которые могут быть определены и установлены только для совокупности объектов; уровень надежности отдельного экземпляра объекта они не регламентируют.
Индивидуальные показатели - показатели, устанавливающие норму надежности для каждого экземпляра объекта из рассматриваемой совокупности (или единичного объекта).
Смешанные показатели могут выступать как групповые или индивидуальные.
4. По источнику информации для оценки уровня показателя различают:
-
расчетные показатели;
-
экспериментальные показатели;
-
эксплуатационные показатели;
-
экстраполированные показатели;
Экстраполированный показатель надежности - показатель надежности, точечная или интервальная оценка которого определяется на основании результатов расчетов, испытаний и (или) эксплуатационных данных путем экстраполирования на другую продолжительность эксплуатации и другие условия эксплуатации.
5. По размерности показателя различают показатели, выражаемые:
-
наработкой;
-
сроком службы;
-
безразмерные (в том числе, вероятности событий).
На стадиях экспериментальной отработки, испытаний и эксплуатации, как правило, роль показателей надежности выполняют статистические оценки соответствующих вероятностных характеристик. В целях единообразия все показатели надежности, в соответствии с ГОСТ 27.002-89, определяются как вероятностные характеристики. В данном пособии отказ объекта рассматривается как случайное событие, то есть заданная структура объекта и условия его эксплуатации не определяют точно момент и место возникновения отказа.
Основные показатели безотказности для невосстанавливаемых объектов
Вероятность безотказной работы - это вероятность того, что в пределах заданий наработки отказ объекта не возникает. На практике этот показатель определяется статистической оценкой:
(1)
где No - число однотипных объектов, поставленных на испытания (находящихся под контролем); во время испытаний отказавший объект не восстанавливается и не заменяется исправным;
n(t) - число отказавших объектов за время t.
Из определения вероятности безотказной работы видно, что эта характеристика является функцией времени, причем она является убывающей функцией и может принимать значения от 1 до 0.
График вероятности безотказной работы объекта изображен на рисунке 2
Рисунок 2 - График вероятности безотказной работы объекта.
Как видно из графика, функция P(t) характеризует изменение надежности во времени и является достаточно наглядной оценкой
Иногда практически целесообразно пользоваться не вероятностью безотказной работы, а вероятностью отказа Q(t). Поскольку работоспособность и отказ являются состояниями несовместимыми и противоположными, то их вероятности связаны зависимостью:
P(t) + Q(t) = 1 . (2.1.2)
Согласно законам теории вероятности вероятность безотказной работы можно определить по формуле:
, (3)
где f(t) - плотность вероятности (согласно закона распределения).
Таким образом, зная плотность вероятности f(t), легко найти искомую величину P(t).
Связь между P(t), Q(t) и f(t) можно интерпретировать как показано на рисунке 3.
Рисунок 3 - Графическая интерпретация вероятности безотказной работы и вероятности отказа.
Отметим, что не всегда в качестве наработки выступает время (в часах, годах). К примеру, для оценки вероятности безотказной работы коммутационных аппаратов с большим количеством переключений в качестве переменной величины наработки целесообразно брать количество циклов "включить" - "выключить". При оценке надежности скользящих контактов удобнее в качестве наработки брать количество проходов токоприемника по этому контакту, а при оценке надежности движущихся объектов наработку целесообразно брать в километрах пробега. Суть математических выражений оценки P(t), Q(t), f(t) при этом остается неизменной.
Средней наработкой до отказа называется математическое ожидание наработки объекта до первого отказа T1.
(4)
Таким образом, средняя наработка до отказа равна площади, образованной кривой вероятности безотказной работы P(t) и осями координат.
Статистическая оценка для средней наработки до отказа определяется по формуле
(5)
где No - число работоспособных однотипных невосстанавливаемых объектов при t = 0 (в начале испытания);
tj - наработка до отказа j-го объекта.
Отметим, что как и в случае с определением P(t) средняя наработка до отказа может оцениваться не только в часах (годах), но и в циклах, километрах пробега и другими аргументами.
Интенсивность отказов - это условная плотность вероятности возникновения отказа объекта, определяемая при условии, что до рассматриваемого момента времени отказ не наступил. Из вероятностного определения следует, что
(6)
Статистическая оценка интенсивности отказов имеет вид:
(7)
где n(Δti) - число отказов однотипных объектов на интервале Δti, для которого определяется интенсивность отказов;
Nср.i - число работоспособных объектов в середине интервала Δti (см. рисунок 4).
(8)
Рисунок 4 Схема для определения Nср:
Ni - число работоспособных объектов в начале интервала Δti;
Ni+1 - число работоспособных объектов в конце интервала Δti.
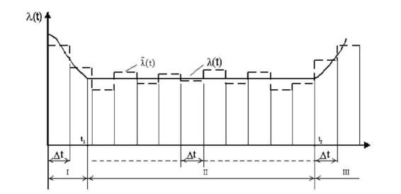
Если при статистической оценке интенсивности отказов время эксперимента разбить на достаточно большое количество одинаковых интервалов Δt за длительный срок, то результатом обработки опытных данных будет график, изображенный на рисунке 5.
Рисунок 5- Кривая жизни объекта:
------ (опытные данные);
——— (линеаризированная усредненная кривая);
I - интервал приработки;II - интервал нормальной эксплуатации;
III - интервал старения.
Как показывают многочисленные данные анализа надежности большинства объектов линеаризованная обобщенная зависимость λ(t) представляет собой сложную кривую с тремя характерными интервалами (I, II, III). На интервале II (t2 – t1) λ = const. Этот интервал может составлять более 10 лет, он связан с нормальной эксплуатацией объектов. Интервал I (t1 - 0) часто называют периодом приработки элементов. Он может увеличиваться или уменьшаться в зависимости от уровня организации отбраковки элементов на заводе-изготовителе, где элементы с внутренними дефектами своевременно изымаются из партии выпускаемой продукции. Величина интенсивности отказов на этом интервале во многом зависит от качества сборки схем сложных устройств, соблюдения требований монтажа и т.п. Включение под нагрузку собранных схем приводит к быстрому «выжиганию» дефектных элементов и по истечении некоторого времени t1 в схеме остаются только исправные элементы, и их эксплуатация связана с λ = const. На интервале III (t > t2) по причинам, обусловленным естественными процессами старения, изнашивания, коррозии и т.д., интенсивность отказов резко возрастает, увеличивается число деградационных отказов. Для того, чтобы обеспечить λ = const необходимо заменить неремонтируемые элементы на исправные новые или работоспособные, отработавшие время t « t2. Интервал X = const соответствует экспоненциальной модели распределения вероятности безотказной работы. Здесь же отметим, что при λ = const значительно упрощается расчет надежности и λ наиболее часто используется как исходный показатель надежности элемента.
Гамма-процентная наработка до отказа - наработка в течение которой отказ в объекте не возникнет с вероятностью γ, выраженной в процентах, иначе это минимальная наработка до отказа которую будут иметь гамма процентов объектов данного вида. Обычно γ =100%.
(9)
ЛИТЕРАТУРА
-
Глудкин О.П. Методы и устройства испытания РЭС и ЭВС. – М.: Высш. школа., 2001 – 335 с
-
Испытания радиоэлектронной, электронно-вычислительной аппаратуры и испытательное оборудование/ под ред. А.И.Коробова М.: Радио и связь, 2002 – 272 с.
-
Млицкий В.Д., Беглария В.Х., Дубицкий Л.Г. Испытание аппаратуры и средства измерений на воздействие внешних факторов. М.: Машиностроение, 2003 – 567 с 2003
-
Национальная система сертификации Республики Беларусь. Мн.: Госстандарт, 2007
-
Федоров В., Сергеев Н., Кондрашин А. Контроль и испытания в проектировании и производстве радиоэлектронных средств – Техносфера, 2005. – 504с.















