63167 (695226), страница 2
Текст из файла (страница 2)
Коммуникационные центры обеспечивают субъектам платежной системы доступ к сетям передачи данных. Использование специальных высокопроизводительных линий коммуникации обусловлено необходимостью передачи больших объемов данных между географически распределенными участниками платежной системы при авторизации карточек в торговых терминалах, при обслуживании карточек в банкоматах, при проведении взаиморасчетов между участниками системы и в других случаях.
Примером такой коммутационной системы является сеть "РадиоТел-ЦТ"
Сеть "РадиоТел-ЦТ" является радиопакетной сетью передачи данных общего пользования, построенной по сотовому принципу.
Сеть "РадиоТел-ЦТ" предназначена для предоставления услуг передачи данных с пропускной способностью 4800 бит/сек. С учетом этого услуги сети "РадиоТел-ЦТ" целесообразно использовать для подключения низкоскоростного терминального оборудования - банкоматов, POS-терминалов. Потенциальными потребителями услуг сети "РадиоТел-ЦТ" являются банки, топливные компании, торгово-сервисные предприятия. При этом пользователи сети "РадиоТел-ЦТ" могут подключать и использовать: настольные и персональные компьютеры, кассовые аппараты, банкоматы, лотерейные терминалы, аппаратуру оповещения и ряд других устройств.
Для подключения терминального оборудования к сети "РадиоТел-ЦТ" используется устройство Radio PAD, которое имеет два асинхронных порта V24, что позволяет обеспечить два дуплексных канала связи. Скорость работы по порту: 9600 бит/сек - при использовании одного порта, 4800 бит/сек - при одновременном использовании двух портов. Взаимодействие терминального оборудования с устройством Radio PAD осуществляется по протоколу X.28. Скорость выполнения транзакции на POS-терминалах и банкоматах в сети "РадиоТел-ЦТ" составляет порядка 8 - 12 секунд
2. Технические средства.
2.1. Способы идентификации пластиковых карт.
П
ластиковая карточка представляет собой пластину стандартных размеров (85.6 мм 53.9 мм 0.76 мм), изготовленную из специальной, устойчивой к механическим и термическим воздействиям, пластмассы.
Одна из основных функций пластиковой карточки - обеспечение идентификации использующего ее лица как субъекта платежной системы. Для этого на пластиковую карточку наносятся логотипы банка-эмитента и платежной системы, обслуживающей карточку, имя держателя карточки, номер его счета, срок действия карточки и пр. Кроме этого, на карточке может присутствовать фотография держателя и его подпись. Алфавитно-цифровые данные - имя, номер счета и др. - могут быть эмбоссированы. Это дает возможность при ручной обработке принимаемых к оплате карточек быстро перенести данные на чек с помощью специального устройства, импринтера, осуществляющего "прокатывание" карточки (в точности так же, как получается второй экземпляр при использовании копировальной бумаги).
Графические данные обеспечивают возможность визуальной идентификации карточки. Карточки, обслуживание которых основано на таком принципе, могут с успехом использоваться в малых локальных системах - как клубные, магазинные карточки и т.п. Однако для использования в банковской платежной системе визуальной "обработки" оказывается явно недостаточно. Представляется целесообразным хранить данные на карточке в виде, обеспечивающем проведение процедуры автоматической авторизации. Эта задача может быть решена с использованием различных физических механизмов.
В карточках со штрих - кодом в качестве идентифицирующего элемента используется штриховой код, аналогичный коду, применяемому для маркировки товаров. Обычно кодовая полоска покрыта непрозрачным составом и считывание кода происходит в инфракрасных лучах. Карточки со штрих - кодом весьма дешевы и, по сравнению с другими типами карт, относительно просты в изготовлении. Последняя особенность обуславливает их слабую защищенность от подделки и делает поэтому малопригодными для использования в платежных системах.
Карточки с магнитной полосой являются на сегодняшний день наиболее распространенными - в обращении находится свыше двух миллиардов карт подобного типа. Магнитная полоса располагается на обратной стороне карты и, согласно стандарту ISO 7811, состоит из трех дорожек. Из них первые две предназначены для хранения идентификационных данных, а на третью можно записывать информацию (например, текущее значение лимита дебетовой карточки). Однако из-за невысокой надежности многократно повторяемого процесса записи/считывания, запись на магнитную полосу, как правило, не практикуется, и такие карты используются только в режиме считывания информации.
Как же устроена карта? Принцип магнитной записи на карту ничем не отличается от принятого в звукозаписи. Для его реализации подходит звуковая аппаратура. Стирание можно делать постоянным магнитом с пластиной - концентратором магнитного потока. Хотя при таком стирании велик уровень шумов, для цифрового считывания это не важно. Запись производят без подмагничивания постоянным или ВЧ-током, так даже достигаются более резкие переходы намагниченности носителя. Для изготовления магнитной полоски самодельных карточек подойдет старая 5" дискета на 360 Кб, имеющая слой с низкой коэрцитивностью. Кодирование данных осуществляется общепринятым методом "без возврата к нулю", который исключает длинные участки постоянной намагниченности, что облегчает синхронизацию при считывании.
Усиленный выходной сигнал с читающей головки проходит двухпороговый компаратор, формирующий ВЫСОКИЙ и НИЗКИЙ логические уровни. Цифровые данные поступают на стандартный последовательный интерфейс (типа RS-232), передающий данные на обработку компьютеру.
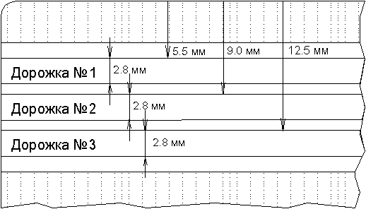
На рис. видно, что если в момент синхро-отсчета уровень сигнала не меняется, то он считается равным нулю, а если сигнал имеет перепад, то единице. Типовое расположение дорожек на магнитной полосе банковской карточки показано на рисунке.
Физический стандарт записи.
Расположение дорожек на карточке показывает рисунок.
Если карточку расположить магнитной полоской к себе, так, чтобы полоска была снизу карточки, то данные записаны слева направо.
Защищенность карт с магнитной полосой существенно выше, чем у карт со штрих - кодом. Однако и такой тип карт относительно уязвим для мошенничества. Тем не менее, развитая инфраструктура существующих платежных систем и, в первую очередь, мировых лидеров "карточного" бизнеса - компаний MasterCard/Europay является причиной интенсивного использования карточек с магнитной полосой и сегодня. Отметим, что для повышения защищенности карточек системы VISA и MasterCard/Europay используются дополнительные графические средства защиты: голограммы и нестандартные шрифты для эмбоссирования.
На лицевой стороне карточки с магнитной полосой обычно указывается: логотип банка-эмитента, логотип платежной системы, номер карточки (первые 6 цифр - код банка, следующие 9 - банковский номер карточки, последняя цифра - контрольная, последние четыре цифры нанесены на голограмму), срок действия карточки, имя держателя карточки; на оборотной стороне - магнитная полоса, место для подписи.
2.2. Особенности устройства смарт-карты.
Смарт-карта - это карта, носителем информации в которой является интегральная микросхема. Когда стандарты и технология производства смарт-карт еще только разрабатывались, их надежности и высокой степени защиты данных на них уделялось самое пристальное внимание. В отношении защиты данных смарт-карты обладают целым рядом преимуществ по сравнению с традиционными магнитными картами.
Во-первых, поскольку процесс создания смарт-карт достаточно сложен и под силу только крупной промышленной компании попытки “взломать” микросхему в кустарных условиях неминуемо приведут к ее разрушению.
Во-вторых, при производстве карточек в каждую микросхему заносится уникальный код. Благодаря этому коду кодирование данных невозможно ни для кого, кроме производителя карт. Производитель, отправляя партию смарт-карт в адрес организации, выпускающей их в обращение, посылает коды отдельно, так что даже в случае потери всей партии, карты оказываются непригодными для использования.
В третьих, при выдаче карточки пользователю на нее заносится один или несколько секретных кодов (паролей), так называемых PIN-КОДОВ, известных только владельцу карты. Если карта утеряна или украдена, ее владелец сообщает о случившемся в банк и программа банка вносит эту карту в список недействительных карт, рассылаемый на все терминалы продаж. Любая попытка использовать потерянную или украденную карточку будет немедленно пресечена.
Это дает возможность осуществлять авторизацию в режиме off-line, что позволяет экономить значительные средства и время на организацию процедуры доступа к центрам авторизации. Говоря о значительной дешевизне самих магнитных карт, следует обратить внимание на стоимость всей системы, включая аренду каналов, связное оборудование и т. д.
Основное преимущество смарт-карт состоит в том, что они являются средством, которое, в первую очередь позволяет увеличить и разнообразить пакет услуг, предоставляемых клиенту. При этом платежной системе и банкам, входящим в нее, технология на основе смарт-карт обойдется дешевле за счет сокращения потерь от мошенничества и снижения расходов на авторизацию и связь.
Есть все основания предполагать, что работы по усовершенствованию и продвижению проектов смарт-карт в банковские технологии Украины будут интенсифицироваться. Наблюдаемое в настоящий момент дальнейшее снижение цен на карты и периферию приводит к снижению себестоимости проектов, основанных на смарт-картах, а следовательно, к еще более заметному росту популярности смарт-технологий и дальнейшему расширению сфер их применения.
Смарт-карту можно считать идеальным средством платежа, поскольку она обладает функциями “электронного кошелька”. Последний хранит в своей памяти сумму денежных средств, которыми клиент банка может расплатиться за покупку, и предусматривает технологию off-line. “Электронный кошелек” удобен клиенту, поскольку последний легко контролирует свои активы на карте и при необходимости может их пополнить, кредитуя карту в банке. Память “электронного кошелька” защищена секретным паролем клиента PIN-кодом, который клиент должен набрать на клавиатуре платежного терминала при проведении любой операции по карте. Таким образом, клиент может не опасаться использования смарт-карты без его санкции.
Не всякая смарт-карта может быть “электронным кошельком”.
Рассмотрим типологию смарт-карт. В зависимости от внутреннего устройства и выполняемых функций смарт-карты можно разделить на три типа:
- карты-счетчики;
- карты с памятью;
- микропроцессорные карты.
Практически любую карту любого типа можно использовать в качестве платежной. Однако лишь весьма ограниченное число карт будет удовлетворять всем требованиям, которыми должна обладать массовая платежная смарт-карта: невысокой стоимостью, возможностью проводить любые (а не только специфичные) платежи, хорошей защищенностью и необходимым уровнем “интеллектуальности” для обеспечения технологии off-line.
Карты-счетчики. Данный тип карточек применяется для такого типа расчетов, когда требуется вычитание фиксированной суммы за каждую платежную операцию. Подобные карточки еще называются карточками с предварительно оплаченной суммой.
Примером таких расчетов может быть плата за телефонный разговор. Обычно в телефонах-автоматах единица времени разговора имеет фиксированную цену. Абонент оплачивает время разговора монетками или специальными жетонами, которые подсчитывает соответствующее устройство телефона. При применении карточек минимальной сумме платежа ставится в соответствие один бит памяти карты. В процессе разговора устанавливается связь между телефоном и картой, и за каждую единицу времени “пережигается” некоторое количество бит. Таким образом, карта заменяет монеты или жетоны.
Аналогичным образом карты-счетчики применяются при подписке на платное телевидение, при оплате за проезд, автостоянку и т. п.















