63069 (695199), страница 2
Текст из файла (страница 2)
Из условия получения сигнала E’G-Y лишь при одновременном существовании сигналов E'R -y и E'b –Y на входах матрицы Ml следует, что при неисправности, например, в коммутаторе или в канале задержанного сигнала на цветном изображении телевизора будет наблюдаться пониженная цветовая насыщенность, заметна чересстрочность и нарушена цветопередача, им званная отсутствием зеленого цвета.
На этом же свойстве основано исключена появлений зеленых линий обратного хода на экране кинескопа с помощью шунтирования выхода канала задержанного сигнала в течение обратного хода развертки специальным электронным ключом (эти линии могут быть вызваны импульсами опознавания цвета, проходящими через oткрытый канал цветности). Для упрощения счетный триггер, управляющий работой коммутатора а также схема опознавания цвета и цветовой синхронизации на рис. 5.2 не показаны
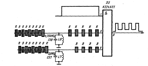
В цветных переносных телевизорах применяются различные схемы опознавания цвета, использующие сигналы цветовой синхронизации, которые передаются в виде девяти радиоимпульсов с 7-й по 15-ю и с 320-й по 329-ю строку (рис. 3)
Например, в схеме на рис. 3 используется устройство совпадений, на один из входов которого (вывод 1 микросхемы D5) подаются импульсы кадровой частоты во время Действия сигналов цветовой синхронизации, чтобы исключить прохождение на устройство опознавания цветоразностных сигналов.
-
Рис. 3. Сигналы цветовой синхронизации
Рис. 4. Формирование импульсов опознавания цвета в блоке ряда телевизоров
Рис.5. Формирование импульсов опознавания цвета в модуле УМ2-1-1
На другой вход (вывод 3) подаются импульсы, соответствующие «красным» строкам, которые из сигналов цветовой синхронизации выделяются колебательным контуром 1.8С38. На третий вход (вывод 9) поступают сигналы, соответствующие «синим» строкам, которые выделены из задержанных на время одной строки сигналов цветовой синхронизации контуром L7C37.
Помехоустойчивость схемы обеспечивается тем, что лишь при одновременном приходе указанных импульсов на выходе устройства совпадений (вывод 8 микросхемы) образуется пачка импульсов опознавания, которые используются для коррекции работы счетного триггера, управляющего работой коммутатора, и для открывания канала цветности.
Дрожание этих импульсов на экране осциллографа объясняется чередованием сигналов цветовой синхронизации от поля к полю и от кадра к кадру (в одной последовательности пяти «красных» и четырех «синих» импульсов цветовой синхронизации, в другой — четырех «красных» и пяти «синих»).
В устройстве опознавания, примененном в унифицированном модуле УМ2-1-1, помехоустойчивость достигается вследствие накопления энергии в колебательном контуре при подаче на него пачки видеоимпульсов цветовой синхронизации с выхода ЧД «красного» цветоразностного сигнала при остановленном коммутаторе.
В каналах цветности с микросхемой типа К174ХА9 сигналы цветовой синхронизации «красных» (или «синих») строк выделяются на колебательном контуре и детектируются. Выход детектора с помощью электронного коммутатора, управляющего импульсами строчной частоты, поочередно подключается к одному из двух накопительных конденсаторов, напряжения на которых, естественно, будут отличаться; их разница анализируется компаратором, который и вырабатывает сигнал управления.
Данная схема позволяет реализовать не только покадровую- цветовую синхронизацию, но и построчную, для чего резонансный контур настраивают на частоту поднесущей «красных» (или «синих») строки, так называемой «вспышки».
В каналах цветности с микросхемой типа К174ХА16, короткие вырезки из «вспышек» проходят через колебательный контур, настроенный на частоту 4,328 МГц, т. е. находящуюся посередине между частотами 4,250 и 4,406 МГц. Так как частоты поднесущих «синего» и «красного» цвето-разностных сигналов приходятся на восходящую и нисходящую ветви АЧХ колебательного контура, то и фазовые сдвиги, вносимые контуром в сигналы, будут различны. Поэтому на выходе аналогового перемножителя появятся биполярные импульсы полустрочной частоты, фаза которых сравнивается с фазой счетного триггера, управляющего коммутатором, и может использоваться для его коррекции.
Для управления служит УУ, формирующее напряжения для коммутации, настройки и регулировки. Каналы цветности обеспечивают подачу на катоды кинескопа 3 первичных сигнала цветности. Для формирования растра необходимы КС, БКР, БСР. В состав канала звука входят УПЧ, ЧД, УНЧ. Каналы цветности и яркости обеспечивают подачу на катоды цветного кинескопа 3-х первичных сигналов цветности.
ЛИТЕРАТУРА
| Технология РЭУ и автоматизация производства РЭА :Учебник для ВУЗов А.П. Достанко, В.Л Ланин, А.А. Хмыль и др.Под ред.академика А.П.Достанко,-- Минск “Вышэйшая щкола.-2002.—400 с. | 2002 |
| Колесников В.М. -- Лазеpная звукозапись и цифpовое pадиовещание. -- М.:"Радио и связь", 2001 -- 214 с. | 2001 |















