62635 (695124), страница 2
Текст из файла (страница 2)
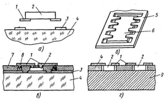
Рисунок 3. Монтаж кристалла с контролируемой осадкой выступов:
а, б - нанесение гальваническим способом припоя и оплавление его, в - переворачивание кристалла, г - нанесение припоя на плату, д - монтаж кристалла на плату; 1,5- припой, нанесенный на кристалл и оплавленный, 2 - пленка диоксида кремния, 3 - слой металлизации, 4 — кристалл, 6 - припой, нанесенный на плату, 7 - плата, 8 - столбик припоя
Силы поверхностного натяжения расплавленного припои устанавливают кристалл точно на свое место. Так как остальные поверхности кристалла и платы закрыты пленкой 2 диоксиде кремния, не смачиваемой припоем, кристалл припаивается т некотором расстоянии от платы, что исключает закорачивание выступов.
Достоинством монтажа перевернутого кристалла является то, что все соединения выполняются одновременно. Это повышает также ю надежность. Кроме того, использование при монтаже мягкого припое облегчает демонтаж бракованных кристаллов. Пластичность мягкой припоя частично компенсирует температурные напряжения в соединении
Однако этот метод монтажа довольно дорог, так как сложны операции подготовки кристаллов и плат, не обеспечивает хороший теплоотвод от кристаллов и- возможны локальные перегревы вследствие некоторой разницы температур в процессе монтажа. При нарушении технологического процесса сборки могут образовываться короткие замыкания между кристаллами и платами;
При монтаже кристаллов с балочным! выводами, выходящими за их габарит (Рисунок 4,а), гребенчатое расположение выводов экономит площадь полупроводниковых подложек. Кристалл 2 с балочными выводами 1 обычно присоединяют к слою металлизации 3 на плате 4 термокомпрессионной или ультразвуковой сваркой. Балочные выводы получают на подложках, еще не разрезанных на кристаллы (по групповой технологии). Для этого на поверхности подложек со структурами создают в пленке диоксида кремния окна, в которые наносят золото, образующее балочные выводы, а затем травлением разделяют подложки на отдельные кристаллы.
Разновидностями монтажа кристаллов с балочными выводами являются паучковое соединение и соединение, получаемое напылением балочных выводов.
Паучковое соединение (Рисунок 4, б) целесообразно применять, когда выводов более десяти. Балки в виде паучка 5 вырубают из ленты алюминиевой фольги, накладывают на подложку 6 и присоединяют, например термокомпрессией, к контактным площадкам. Затем разделяют паучок на отдельные выводы и монтируют ИМС в перевернутом виде в аппаратуре.
Рисунок 4. Монтаж кристаллов с балочными выводами: а - конструкция кристалла, б - паучковое соединение, в, г -балочные выводы, изготовленные напылением на столбиках и на плате; 1 - балочные выводы, 2 - кристалл, 3 - слой металлизации, 4 - плата, 5 - паучок, 6 -г подложка, 7 - пластмассовая пленка, 8 - столбик, 9 — металлическое основание
При соединении, получаемом напылением балочных выводов (Рисунок 4, в)., после выполнения всей пленочной разводки на нужных местах плат создают столбики 8, монтируют между ними кристаллы 2, которые накрывают сверху пленкой термопластичного материала (например, фторированным этилен-пропиленом) 7 и получают фотолитографией в пластмассе окна, оставляя незащищенными столбики и лицевые поверхности кристаллов. Затем вакуумным напылением в окна наносят золотую металлизацию (балочные выводы Г), соединяющую кристаллы со столбиками.
Балочные выводы можно получать также на плате (Рисунок 4, г). Для этого предварительно напылением и фотолитографией создают на плате 4 пленочные балочные выводы, а также отверстия, в которые помещают кристаллы 2, присоединяя их нижнюю сторону к металлическому основанию 9 (это способствует улучшению теплоотвода), а верхнюю соединяют термокомпрессией с балочными выводами.
Достоинствами монтажа кристаллов с балочными выводами являются улучшение условий теплоотвода, отсутствие разрушений кристаллов, так как давление прикладывается к балочному выводу; а также возможность визуального контроля.
В то же время такой монтаж в 2 раза дороже монтажа перевернутых кристаллов, так как требуется дополнительная металлизация и не допустимы даже незначительные отклонения плат от плоскостности. Кроме того, балочные выводы легко изгибаются (их сечение обычно равно 13x76 мкм), но иногда ломаются.
Необходимо отметить, что беспроволочные соединения целесообразно применять в массовом производстве при выпуске полупроводниковых приборов и ИМС не менее нескольких миллионов.
ЛИТЕРАТУРА
-
Черняев В.Н. Технология производства интегральных микросхем и микропроцессоров. Учебник для ВУЗов - М; Радио и связь, 2007 - 464 с: ил.
-
Технология СБИС. В 2 кн. Пер. с англ./Под ред. С.Зи,- М.: Мир, 2006.-786 с.
-
Готра З.Ю. Технология микроэлектронных устройств. Справочник. - М.: Радио и связь, 2001.-528 с.
-
Достанко А.П., н.: Выш.шк., 2000.-238 с.
-
Таруи Я. Основы технологииБаранов В.В., Шаталов В.В. Пленочные токопроводящие системы СБИС.-М СБИС Пер. с англ. - М.: Радио и связь, 2000-480 с.















