62449 (695030), страница 2
Текст из файла (страница 2)
2Н2О + SO2 +I2 = = H2SO4 + 2HI. (1)
Содержание сернистого газа пропорционально количеству восстановленного йода.
Через склянку Зайцева, в которой содержится 5 см3 свежеприготовленного 0,001 н. раствора йода, окрашенного крахмалом в синий цвет, с помощью аспиратора пропускают газовоздушную смесь со скоростью не более 10 дм3/ч до обесцвечивания раствора йода. Концентрация сернистого газа (г/дм3) определяется выражением:
c=V1b-32/V2 (2)
где V1 - объем налитого в поглотитель раствора йода, см3;
b - нормальный раствор йода, моль/дм ;
32 - молярная масса эквивалентов сернистого газа, г/моль;
V2 - объем приведенной к нормальным условиям газовоздушной смеси, прошедшей через поглотитель, см3.
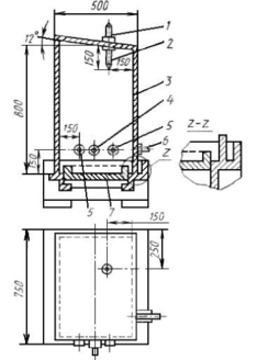
Рисунок 3 - Конструкция камеры для проведения испытания ЭС на
воздействие сернистого газа с конденсацией влаги: 1 — термометр; 2 — точка измерения температуры; 3 — кожух; 4 — отверстие для присоединения предохранительного клапана; 5 — отверстия для контактного термометра; 6 — патрубок для ввода газа; 7 — поддон с водой; размеры даны в миллиметрах.
Для проведения испытания образцов используют непрерывное воздействие сернистого газа без конденсации влаги и циклическое воздействие его с конденсацией влаги при повышенных относительной влажности и температуре. Физическая сущность обоих методов заключается в ускорении коррозионного процесса при воздействии сернистого газа. При испытании путем непрерывного воздействия сернистого газа образцы помещают в камеру, в которой устанавливают следующий режим испытания: температура (25±2) °С, относительная влажность (75±5) %, массовая концентрация сернистого газа (75±15) мг/м3. Газ вводят в камеру сразу после установления заданных значений температуры и относительной влажности.
Испытание образцов циклическим воздействием сернистого газа осуществляют путем непрерывного следования циклов продолжительностью 24 ч (от начала нагрева закрытой камеры). Перед началом каждого цикла в водяную баню на дно камеры наливают заданное ПИ количество воды; камеру плотно закрывают. Возможны два режима проведения испытания.
Первый режим: после ввода сернистого газа камеру нагревают в течение 90 мин до температуры (40±2)°С и поддерживают эту температуру постоянной во время испытания; по истечении 24 ч нагрев прекращают, камеру открывают, воду из бани сливают. Второй режим: в камеру вводят 2 г/м3 сернистого газа (эту операцию при повторении цикла необходимо проводить в течение 30 мин); нагревают ее в течение 90 мин до температуры (40±2)°С и поддерживают эту температуру в течение 8 ч; камеру открывают, сливают воду из бани, извлекают образцы и выдерживают их в течение 16 ч при температуре помещения и относительной влажности воздуха не более 75 %.
Коррозионную стойкость прошедших испытание образцов можно оценить различными методами, из которых наиболее широко применяют гравиметрический (по изменению массы) и визуальный. Если удаление продуктов коррозии возможно, наблюдается потеря массы испытываемого образца; если продукты коррозии малорастворимы и имеют достаточную адгезию, происходит увеличение массы образца.
При гравиметрическом методе оценки коррозионной стойкости испытываемые образцы и образцы сравнения (эталонные образцы, не прошедшие испытания), коррозионное поведение которых оценивают по потере массы, после обезвоживания выдерживают не менее 24 ч в эксикаторе с влагопоглотителем (например, силикагелем), а затем взвешивают: образцы массой до 200 г — с погрешностью не более ±0,0001 г; массой свыше 200 г — с погрешностью не более ±0,01 г. Потеря массы на единицу площади S (см) поверхности образца:
Pm=(m—m1)∙104/S, (3)
где m — масса образца до испытания, г; m1 — масса образца после испытания и удаления продуктов коррозии, г.
На практике большее распространение получил визуальный метод оценки коррозионной стойкости. При визуальной оценке коррозионных очагов различают точечное разрушение (коррозионный очагимеет максимальный размер до 0,1 см), и разрушение пятнами (максимальный размер коррозионного очага превышает 0,1 см). Совокупность более трех точек, расстояние между которыми менее 0,1 см, описывают прямоугольной фигурой. Совокупность более трех пятен размером до 1 см, расстояние между которыми менее 0,2 см, также списывают прямоугольной фигурой. Прямоугольниками описывают отдельные пятна размерами более 1 см. На выводах, поперечные сечения которых представляют окружности, коррозионные очаги (точки и пятна) и расстояния между ними измеряют по длине выводов. По результатам измерения площадей коррозионных очагов (фигур) вычисляют относительную площадь (%) коррозионного разрушения:
(4)
где n — число коррозионных очагов (фигур) на оцениваемой поверхности; Si — площадь i-го коррозионного очага (фигуры), см2;
Sоцн — площадь оцениваемой поверхности, см2
Для оценки воздействия коррозионной среды на ЭС служат показатели коррозии. Изделию присваивают наиболее высокий (худший) показатель коррозии из показателей, полученных для отдельных частей его конструкции. Местную коррозию (точечную и пятнами) оценивают по глубине поражения, и занимаемой ими площади поверхности. При этом пользуются универсальной шкалой, по которой для конкретного коррозионного состояния устанавливают группу коррозионной стойкости (0 — V) и соответствующий этому состоянию балл (0—10). Так, элементы конструкции, не подвергающиеся коррозии в данных условиях эксплуатации, относят к группе 0 (совершенно стойкие) и оценивают в 0 баллов.
ЛИТЕРАТУРА
-
Глудкин О.П. Методы и устройства испытания РЭС и ЭВС. – М.: Высш. школа., 2001 – 335 с
-
Испытания радиоэлектронной, электронно-вычислительной аппаратуры и испытательное оборудование/ под ред. А.И.Коробова М.: Радио и связь, 2002 – 272 с.
-
Млицкий В.Д., Беглария В.Х., Дубицкий Л.Г. Испытание аппаратуры и средства измерений на воздействие внешних факторов. М.: Машиностроение, 2003 – 567 с
-
Национальная система сертификации Республики Беларусь. Мн.: Госстандарт, 2007
-
Федоров В., Сергеев Н., Кондрашин А. Контроль и испытания в проектировании и производстве радиоэлектронных средств – Техносфера, 2005. – 504с.















