147962 (692124), страница 3
Текст из файла (страница 3)
Арматурно-кузовные работы включают арматурно-слесарные и стекольные работы.
Арматурно-слесарные работы состоят из работ по снятию, ремонту и установке механизмов кузова (замков, стеклоподъемников, петель), их регулировке, устранению неплотностей в проемах кузова, а также из работ по подгонке капотов, крышек багажника в проемах кузова, а также по подгонке капотов, крышек багажника и дверей по месту в проемах кузова после ремонта.
Обойный участок
Обойные работы заключаются в ремонте подушек и спинок сидений, внутренней обивки салона кузова и чехлов утепления радиатора и двигателя.
Для раскройки материала (кожзаменитель, сукно, полотно) применяются шаблоны; сшивают материал на швейной машине.
Для разборки и сборки подушек спинок и сидений используются верстаки. Обойные материалы, готовые сиденья и спинки хранятся на специальных стеллажах.
Малярный участок
К малярным работам относятся частичная или полная окраска кузова автобуса, окраска номерных знаков и нанесение надписей по трафарету.
При местной окраске кузова старый слой краски, ржавчины и другие загрязнения удаляются скребками, смывочными растворами и наждачной шкуркой. Для обезжиривания поверхность, притирается ветошью, смоченной в уайт-спирите, с последующей притиркой насухо чистой марлей или ветошью. Труднодоступные места обдуваются сжатым воздухом. На подготовленную к окраске поверхность наносится грунт равномерным тонким слоем, Неровности, обнаруженные после грунтовки выравниваются нитро-шпаклёвкой. Высохший слой шпаклевки шлифуется водостойкой шкуркой, промывается, вытирается насухо ветошью, затем окрашивается в три слоя. При окраске методом распыления применяется краскораспылительная установка. Такая окраска автобуса производится в камерах, оборудованных гидравлическим фильтром с насосом и водораспыливающей и вентиляционной системами. Свежий воздух должен поступать сверху, а вытяжные решетки должны располагаться в полу помещения.
Окрашенный автобус поступает в специальную камеру для сушки. Помещение малярного участка должно быть раздельно на отделения одно из них – для подготовительных работ, другое – для окраски пульверизационным способом.
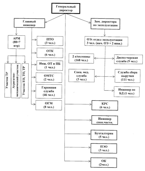
7. Организационная структура ПАТП-3
Схема 1 – Структура управления ОАО «ПАТП-3»
8. Технологический процесс ТР карбюратора двигателя автобуса ПАЗ 3205
8.1 Особенности ТР карбюратора
Работы по регулировке карбюратора, замене и его текущий ремонт будут выполняться: на посту ТР, где будут производить регулировку, замену карбюратора, и участок ремонта топливной аппаратуры, где проведут ремонт карбюратора (схема 2). Причем на автомобиль, (в случае невозможности регулировки) будут устанавливать исправный карбюратор из оборотных запасов. Такая схема проведения ТР необходима, чтобы быстрее устранить неисправность (заменить неисправный карбюратор или отрегулировать его) и тем самым уменьшить простой автомобиля в ремонте, быстрее выпустить его на линию. Ремонт снятого карбюратора будет производится в свободное от заявок время с целью пополнения фондов оборотных запасов.
Зона текущего ремонта
Исправный устанавливаемый карбюратор
Неисправный снятый карбюратор
Посты ТР
Снятие, установка и регулировка агрегатов на автомобиль
Исправный карбюратор
Оборотный склад
Участок ремонта топливной аппаратуры
Ремонт снятых агрегатов топливной аппаратуры
Хранение фонда оборотных запасов
Схема 2 – Последовательность проведения замены и ТР карбюратора двигателя автобуса ПАЗ 3205.
8.2 Перечень работ на регулировку карбюратора, его замену и текущий ремонт
Работы по регулировке карбюратора:
-
регулировка холостого хода;
-
регулировка токсичности выхлопных газов;
Перечень работ на замену карбюратора:
-
снятие карбюратора;
-
установка карбюратора (включает работы по регулировке холостого хода и токсичности выхлопных газов).
Перечень работ ТР карбюратора не имеет строго определенной последовательности, т.к. могут возникать различные неисправности одновременно, т.е. их комбинации. Поэтому последовательность работ текущего ремонта (наиболее вероятного) будет иметь вид:
-
разборка карбюратора;
-
промывка и продувка всех жиклеров и каналов карбюратора;
-
снятие игольчатого клапана;
-
установка игольчатого клапана;
-
сборка карбюратора.
Замена карбюратора:
-
снятие карбюратора:
-
открыть дверь моторного отсека;
-
снять тросики привода воздушной и дроссельной заслонок;
-
отсоединить тросики привода воздушной и дроссельной заслонок;
-
отсоединить от карбюратора топливопроводы;
-
отсоединить от карбюратора шланг вакуумного регулятора опережения зажигания;
-
отсоединить шланги подогрева горючей смеси;
-
открепить и снять карбюратор в сборе;
-
установка карбюратора:
-
присоединить шланги подогрева горючей смеси;
-
установить карбюратор вместе с прокладкой на впускной коллектор и закрепить;
-
присоединить к карбюратору топливопроводы;
-
присоединить к карбюратору шланг вакуумного регулятора опережения зажигания;
-
присоединить тросики привода воздушной и дроссельной заслонок;
-
установить воздушный фильтр;
-
закрыть дверь моторного отсека.
Продувка карбюратора:
-
разборка карбюратора:
-
снять крышку поплавковой камеры;
-
отсоединить корпус поплавковой камеры от корпуса смесительной камеры;
-
выкрутить все жиклеры и продуть их;
-
удалить осадок на дне поплавковой камеры;
-
продуть топливные и воздушные каналы во всех частях карбюратора;
-
проверить работу всех систем карбюратора, при необходимости устранить неисправности.
-
Сборка карбюратора:
-
поставить все жиклеры на свои места;
-
закрутить все пробки;
-
соединить корпус поплавковой камеры с корпусом смесительной камеры;
- установить крышку поплавковой камеры.
Замена игольчатого клапана:
-
снять крышку поплавковой камеры;
-
снять поплавок;
-
достать иглу и выкрутить «седло» игольчатого клапана;
-
закрутить новое «седло» и поставить новый игольчатый клапан;
-
установить поплавок;
-
проверить уровень топлива в поплавковой камере;
-
присоединить крышку поплавковой камеры.
8.3 Используемые эксплуатационные материалы
-
Керосин. Карбюратор необходимо промыть от отложений из-за низкого качества бензина и недостаточно чистого воздуха идущего для образования горючей смеси. Для этой цели чаще всего используют керосин, т.к. он обладает хорошим растворяющим эффектом и быстро испаряется.
-
Бензин А-76.
Т.к. карбюратор смешивает воздух и бензин для образования горючей смеси, то для его проверки и регулировки необходим бензин. Двигатель ЗМЗ-53 работает на бензине марки А-76.
8.4 Применяемое технологическое оборудование
Как правило, оборудование, необходимое по технологическому процессу для проведения работ текущего ремонта, принимается в соответствии с технологической необходимостью выполняемых с его помощью работ, так как оно используется периодически и не имеет полной загрузки за рабочую смену Варианты выбора оборудования представлены в таблице 2
Таблица 2 – Применяемое технологическое оборудование
| Наименование работ | Варианты технологического оборудования | Выбранный вариант | ||
| Вариант 1 | Вариант 2 | Вариант 3 | ||
| Продувка карбюратора | 1. Компрессор модели 1101-В5 | 2. Компрессор модели 155-2В5 | 3. Компрессор ГП-0,15/10 модели 1136-В2 | Вариант 3 – компрессор воздушный поршневой гаражный ГП-0,15/10 модели 1136-В2 производства Бежецкого завода – позволяет создавать максимальное давление воздуха 10 кгс/см2, производительность 0,15 м3/мин, мощность электродвигателя 1,5 кВт. |
| Разборочно-сборочные работы | Комплект инструмента марки 2445 для регулировщика- карбюраторщика: специальные ключи, специальные отвертки, пять открытых двусторонних гаечных ключей размерами от 7х8 до 14х17 мм. | Содержит все необходимые инструменты. | ||
| Регулировка карбюратора | Стационарный пост К-262 | Содержит все необходимое для контроля и регулировки карбюратора. | ||
| Крепежные работы | Комплект инструмента марки 2445. | Содержит все необходимые инструменты, а также он необходим для разборочно-сборочных работ и регулировок карбюратора. | ||















