147790 (692062), страница 3
Текст из файла (страница 3)
Рисунок 2.8. Качение эластичного колеса при отсутствии (а) и действии (б) боковой силы: А—В, А1—В1, А2—В2 —характерные точки колеса
Рисунок 2.9 Зависимость угла увода колеса от поперечной силы: А—В характерные точки кривой
Рисунок 2.10 Зависимости коэффициента сопротивления уводу колеса от вертикальной нагрузки на него и давления воздуха в шине: рв1 – рв3 — значения давления воздуха в шине
Угол увода колеса можно определить по формуле
где kув — коэффициент сопротивления уводу колеса.
Коэффициент сопротивления уводу колеса зависит от размеров и конструкции шины, давления воздуха в ней и вертикальной нагрузки на колесо. Так, при увеличении размеров шины и давления воздуха в ней коэффициент сопротивления уводу возрастает. При увеличении вертикальной нагрузки на колесо он сначала растет, а затем уменьшается (рисунок 2.10). Для шин грузовых автомобилей и автобусов значения этого коэффициента составляют 30...100кН/рад, а для шин легковых автомобилей 15...40кН/рад. От значения коэффициента сопротивления уводу во многом зависит боковое скольжение колеса. Чем меньше этот коэффициент, тем раньше начинается боковое скольжение[1].
2.5 Подвеска и шины
У легковых автомобилей ухудшение управляемости при эксплуатации может быть вызвано остаточной деформацией пружин передней независимой подвески. В результате осадки пружин рычаги подвески при перемещениях изменяют углы развала колес и поперечного наклона шкворней, нарушая при этом установку и стабилизацию управляемых колес. К тому же при осадке одной из пружин подвески указанные углы изменяются только с одной стороны автомобиля. Вследствие этого стабилизирующие моменты на управляемых колесах не будут уравновешиваться при прямолинейном движении и автомобиль начнет уводить в сторону. При уменьшении Давления воздуха в одной из шин колес автомобиля увеличивается ее сопротивление качению и снижается боковая жесткость шины, в связи с этим автомобиль при движении постоянно отклоняется в сторону шины с уменьшенным давлением воздуха[1].
2.6 Блокировка колес при торможении
При торможении автомобиля одновременная блокировка (доведение до юза) передних и задних колес может произойти только на дорогах с определенным оптимальным коэффициентом сцепления φопт = 0,4...0,45. На дорогах с другими значениями коэффициента сцепления происходит блокировка сначала либо передних, либо задних колес. Так, при торможении на дорогах с коэффициентом сцепления меньше оптимального (φх < φопт) у автомобиля первыми блокируются передние управляемые колеса. Это может привести к потере управляемости автомобиля. При торможении на дорогах с коэффициентом сцепления больше оптимального (φх > φопт) у автомобиля первыми доводятся до юза задние ведущие колеса, что может привести к заносу[1].
2.7 Усилители рулевого управления
В рулевых управлениях автомобилей применяют гидравлические, пневматические и электрические усилители. Среди них наибольшее распространение получили гидроусилители. Так, 90% всех автомобилей с усилителями рулевого управления оборудованы гидравлическими усилителями.
Гидроусилитель значительно облегчает работу водителя, который при его наличии прикладывает к рулевому колесу в 2 — 3 раза меньшее усилие, чем без гидроусилителя. Так, например, для поворота автомобиля средней и большой грузоподъемности и автобусов без рулевых усилителей требуется усилие водителя до 400Н и более. Это очень существенно, так как из всей затрачиваемой водителем энергии на управление автомобилем 50% приходится на рулевое управление. Кроме того, гидроусилитель смягчает толчки и удары от дорожных неровностей, передаваемые от управляемых колес на рулевое колесо. Гидроусилитель также повышает безопасность движения при повреждении шин управляемых колес (прокол, разрыв и т.п.) и маневренность автомобиля.
Маневренность автомобиля возрастает при быстром и точном действии гидроусилителя. Так, время срабатывания гидроусилителей составляет 0,2...2,4с (у пневмоусилителей оно в 5 —10 раз больше). Это приводит к высокой точности при управлении автомобилем в процессе поворота на закруглениях дорог[4].
2.8 Кузов автомобиля
Форма кузова легковых автомобилей оказывает существенное влияние на их управляемость, так как она определяет метацентр автомобиля — точку приложения боковой аэродинамической силы Рб (силы ветра). У автомобилей метацентр обычно не совпадает с их центром тяжести. Так, у одних автомобилей метацентр расположен перед центром тяжести, а у других — за ним.
Если метацентр находится перед центром тяжести автомобиля, то при действии бокового ветра двигавшийся прямолинейно автомобиль начнет поворачиваться в направлении действия силы ветра. Это вызовет появление центробежной силы рц (рисунок 2.11), под влиянием которой увеличится склонность автомобиля к повороту.
Рис. 8.14. Влияние формы кузова на управляемость автомобиля:
а — расположение метацентра автомобиля; б — схема сил, действующих при боковом ветре; МЦ — метацентр; ЦТ — центр тяжести
Если метацентр находится за центром тяжести автомобиля, то при действии бокового ветра Рб' автомобиль будет стремиться повернуть против ветра. Возникающая при этом центробежная сила Р’ц будет способствовать уменьшению поворота автомобиля.
Таким образом, для обеспечения лучшей управляемости автомобиля при действии бокового ветра необходимо, чтобы метацентр располагался за центром тяжести автомобиля.
Это может быть достигнуто соответствующей формой кузова автомобиля, например с пониженным капотом двигателя, высокими задними крыльями и др[1].
2.9 Квалификация водителя
Управляемость автомобиля и точность выполнения маневра во многом зависят от квалификации водителя.
Управление автомобилем на повороте представляет собой сложный процесс, состоящий из нескольких фаз: вход автомобиля в поворот, его поворот и выход из поворота.
При управлении автомобилем водители, не имеющие достаточного опыта, часто допускают ошибки: выводят автомобиль за осевую линию дороги, за пределы занимаемого ряда и срезают углы при маневрировании. Все подобные действия приводят к нарушению не только управляемости автомобиля, но и безопасности движения[4].
3 МАНЕВРЕННОСТЬ
3.1 Параметры маневра
Автомобили должны обладать хорошей маневренностью. Она требуется при значительном изменении направления движения в условиях города, когда часто приходится совершать повороты на 90°, при необходимости в движении задним ходом или полном развороте. Высокая маневренность также необходима при погрузке и разгрузке автомобилей на небольших площадках.
Маневренность характеризует удобство использования автомобиля и легкость управления им при необходимости движения и выполнения поворотов и разворотов в стесненных условиях, а также проходимость автомобиля при движении по грунтовым дорогам с крутыми поворотами, по пересеченной местности и через лес. От маневренности автомобилей зависят размеры необходимых площадок в местах погрузки и выгрузки, а иногда и затраты времени на выполнение этих операций, требуемая ширина проездов в гаражах, на площадках для стоянки и в зонах обслуживания[3].
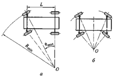
Основными параметрами маневра автомобиля (рисунок 3.1) являются минимальный радиус поворота Rmin, внутренний RB и наружный Rн габаритные радиусы поворота, минимальный радиус поворота внутреннего заднего колеса Rвк, поворотная ширина bк по колее колес и поворотная ширина bк автомобиля (коридора).
Минимальный радиус поворота автомобиля представляет собой расстояние от центра поворота до оси колеи переднего наружного управляемого колеса при максимальном угле его поворота.
Рисунок 3.1. Показатели маневренности автомобиля:
О — центр поворота
Минимальный радиус поворота, м, указывается в технической характеристике автомобиля. Его можно вычислить по формуле
где L — база автомобиля; θmах — максимальный угол поворота наружного колеса (рисунок 3.2, а).
Внутренним и наружным габаритными радиусами поворота (RB и RH) называются расстояния от центра поворота до ближайшей и наиболее удаленной точек автомобиля при максимальном повороте управляемых колес.
Поворотная ширина по колее колес — это разность между минимальными радиусами поворота переднего наружного и заднего внутреннего колеса
Поворотная ширина по колее колес автомобиля определяет минимально необходимую ширину проезжей части твердого покрытия дороги.
Поворотной шириной автомобиля (коридора) называется разность между наружным и внутренним габаритными радиусами поворота автомобиля:
Поворотная ширина коридора определяет минимальную ширину проезда или ширину полосы движения, необходимую при крутых поворотах, а также возможность движения в проездах заданных размеров и формы[1].
Рисунок 3.2 Схемы автомобилей с передними (а) и всеми (б) управляемыми колесами: О — центр поворота
4 РАСЧЕТНАЯ ЧАСТЬ
Данный раздел содержит в себе расчеты показателей управляемости и маневренности автомобиля ВАЗ-21093. Для выполнения расчетов мне потребовались некоторые технические характеристики автомобиля Ваз-2109, представленные в таблице 1.
Таблица 1
| Колесная база автомобиля (L) | 2460мм |
| Передняя колея (В) | 1400мм |
| Максимальный угол поворота передних колес (θ) | 42° |
Ниже будут рассчитаны следующие характеристики:
-
Радиус поворота с эластичными колесами (Rэ)
-
Расстояние между центром оси задних колес и проекцией центра поворота на продольную ось автомобиля (С)
-
Радиус поворота автомобиля по колее переднего наружного колеса (RПК)
-
Минимальный радиус поворота (Rmin)
Радиус поворота вычисляется, с расчетом, что в реальных условиях на автомобиле установлены эластичные колеса, то есть используем формулу (2):















