147404 (691902), страница 3
Текст из файла (страница 3)
, (5.1)
мм
Момент инерции всего сечения определяется путем суммирования величин, заключенных в столбцах 6 и 7 (см. таблицу 5.1)
, (5.2)
мм4
Расстояние от нейтральной оси до наиболее удаленной точки сечения
, (5.3)
мм
Момент сопротивления сечения изгибу
, (5.4)
мм3
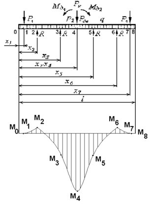
5.3 Расчёт рамы как статически определимой системы
В приближённых расчётах раму тележки можно рассматривать как статически определимую систему, которая состоит из отдельных балок, имеющих между собой шарнирные связи. При этом рассчитываются только боковины как наиболее нагруженные элементы рамы. Рекомендуется, как и при расчёте продольной развески тележки, совместить обе боковины в одну вертикальную плоскость.
На рисунке 5.2 приведена расчетная схема для двухосной тележки
Рисунок 5.2 – Расчетная схема для двухосной тележки.
Примечание. Значения моментов М2 и М6 значительно завышены для наглядности построения.
Изгибающие моменты в сечениях 0, 1, 2,... и 8 боковины имеют следующие значения
, (5.5)
, (5.6)
,
, (5.7)
,
, (5.8)
,
, (5.9)
(5.10)
(5.11)
(5.12)
(5.13)
Значения моментов Мдв1 и Мдв2 не учитываем, так как направленные встречно, они взаимно компенсируют друг друга и роли не играют.
Изгибающий момент в последнем 10-м сечении должен быть равен нулю, если вычисления сделаны правильно и условия равновесия рамы тележки не нарушены.
По полученным значениям строим эпюру изгибающих моментов, представленную на рисунке 5.2.
Зная изгибающие моменты в расчётных сечениях боковины рамы, находим максимальное напряжение в них
, (5.14)
(МПа).
Здесь 2·Wy - момент сопротивления изгибу двух совмещённых боковин;
М – максимальный изгибающий момент (в нашем случае это момент в 4-ом сечении), (кг*мм).
Далее найденное максимальное напряжения сравниваем с допустимым, которое принимается в соответствии с коэффициентом запаса прочности и выбранной марки стали. Коэффициент запаса прочности n принимается относительно предела текучести T выбранной марки стали (для сталей марки М16С т = 230 МПа).
При расчете рамы на вертикальную статическую нагрузку, n=2,0...2,5. Принимаем n=2,0.
(кГс/мм2).
Напряжение в боковине, найденное по формуле (5.14), оказалось значительно меньше по сравнению с допускаемым. Обусловливается это тем, что в курсовом проекте прочностные расчёты выполняются лишь на один вид нагрузки. В действительности же прочность рамы необходимо оценивать по суммарным напряжениям, вызванным совокупным действием нагрузок и сил, возникающих при эксплуатации электровозов.
6. Расчет кососимметричной нагрузки
Под кососимметричной нагрузкой понимается нагрузка от двух равных по величине, но различных по знакам вертикальных сил, причем силы, расположенные по одной диагонали тележки действуют вверх, а по другой диагонали – вниз (рисунок 6.1).
Рисунок 6.1 – Нагрузки, возникающие при несбалансированных рессорах.
Рассмотрим влияние отдельных причин, вызывающих кососимметричную нагрузку.
Неравенство гибкости рессор по заводским допускам составляет до
%;
таким образом, при нагрузке рессоры равной Р, разница в усилиях, передаваемых от рессор на раму, может составить
Разность уровней колес при наиболее неблагоприятных условиях составит:
1) от возвышения рельса в переходной кривой 2 мм на 1 м пути, что при базе тележки а (в м) дает
(в мм)
2) от разницы кругов катания согласно допускам (2 мм), а также вследствие конусности бандажей (
) при максимальном поперечном смещении колесной пары на 34мм (при износе гребней бандажей)
мм
3) от неточностей в сборке буксового подвешивания и наличия допусков в размерах рессор, пружин и букс
мм.
Разница в прогибах рессор
(6.1)
мм
Если обозначим усилия рессор буксового подвешивания, расположенных по диагоналям, соответственно R и R|, их жесткости Жб, а прогибы
и
и
,
и величина дополнительного усилия
Кососимметричная нагрузка
(6.2)
тс.
Список использованных источников
1. Медель, В.Б. Проектирование механической части электроподвижного состава. -М.: Транспорт, 1963-423 с.
2. Исаев, И.П., Перова, А.А., Бурчак, Г.П. Расчёт конструкций электроподвижного состава на вычислительных машинах. - М.: Трансжелдор-издат, 1966-298 с.
3. Цихалевский И.С., Нафиков, Г.М., Буйносов А.П. Механическая часть ЭПС: Руководство для выполнения курсового проекта. - Екатеринбург, УрГУПС, 2001-56 с.
4. Медель, В.Б. Подвижной состав электрических железных дорог. Конструкция и динамика. - М.: Транспорт, 1965-278 с.
















