147159 (691781), страница 2
Текст из файла (страница 2)
2.1 Система керування
Гідравлічна система має електричне керування. Всі важелі та кнопки управління розміщені на блоці дистанційного радіокерування. Пульт радіокерування оснащений резервною кабельною системою управління. крім цього позаду дизельного двигуна знаходиться ще одна панель керування, на якій розміщені контрольно-вимірювальні прилади двигуна і вимикачі фар. Коли дві машини працюють одночасно в синхронному режимі вони з’єднуються кабелями управління. Оператор може керувати роботою установок одночасно за допомогою дистанційного керування.
Технічна характеристика машини DESEC TRACKLAYER TL 70:
Максимальна вага 36 т;
Максимальна довжина 34 м;
Максимальна ширина 5,5 м;
Висота піднімання 2,85 м;
Висота на ходу 1,6 м;
Сила тяги 140 кН;
Швидкість (макс./робоча) 30/15 м/хв.;
Тип двигуна Deutz BF6M 1013C;
Дизель, водяне охолодження 156кВт/2200 об/хв.;
Вага 52 т;
Ширина 3,46-6,86 м;
Довжина 16,45-25,45 м;
Висота 2,825-5,025 м.
3. Розрахунок механізму вильоту
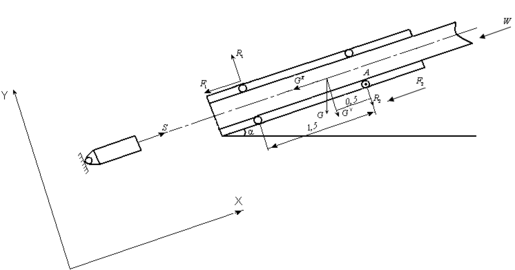
Розрахуємо механізм вильоту телескопічної стріли колієукладача DESEC TRACKLAYER TL 70. Для цього розглянемо два оптимальних положення при розкладеній стрілі, з урахуванням маси вантажу:
-
Вертикальне – в цьому положенні визначимо реакції, виникаючих від вертикальних шарнірів (роликів), при повздовжньому ухилі колії (рисунок 3.1);
-
Горизонтальне – визначаємо реакції, виникаючих від шарнірів (роликів) в горизонтальній, площині при поперечному ухилі колійної решітки (рисунок 3.4).
Розглянемо перше положення.
Рисунок 3.1 – розрахункова схема
Рисунок 3.2 – Розрахункова схема
Визначимо зусилля S на штоці гідроциліндра, для цього складемо три рівняння статики (рисунок 3.1).
Складемо рівняння відносно осі Х:
(3.1)
де S – зусилля на штоці, кН;
,
- реакції, виникаючі в шарнірах, кН;
- опір вильоту стріли, кН.
Складемо рівняння відносно осі Y:
(3.2)
де
– вага стріли з урахуванням вантажу, задаємося
=9 кН;
α - кут нахилу колії, α=
кН;
- вертикальні реакції в шарнірах, кН.
Складемо рівняння моментів відносно точки А:
(3.3)
де
(3.4)
(3.5)
(3.6)
де f – коефіцієнт тертя, f = 0,9 кН
.
З рівняння
.
З рівняння
;
;
З рівняння
;
(3.7)
де
- опір вильоту стріли, кН.
(3.8)
де
- горизонтальні зусилля в вертикальних напрямних ролика, кН;
– діаметри вертикального ролика, задаємося
= 70 мм;
d - діаметр цапфи ролика, d = 30 мм;
- коефіцієнт тертя ковзання шарикопідшипників,
=0,02
;
к - коефіцієнт тертя кочення опорного ролика, к= 0,06 см
.
Звідси
Складемо і розрахуємо систему з рівнянь (3.2) і
.
(3.9)
;
кН.
Реакція
направлена в протилежну сторону.
кН,
кН.
По отриманим результатах визначаємо зусилля на штоці
кН.
Розглянемо друге розрахункове положення:
Рисунок 3.3 – Розрахункова схема
Рисунок 3.4 – Розрахункова схема
Складемо три рівняння статики ы визначимо зусилля S2 на штоці гідроциліндра в горизонтальній площині (рисунок 3.3).
Складемо рівняння відносно осі Х:
, (3.10)
де S – зусилля на штоці, кН;
,
- реакції, виникаючі від вертикальних складових, кН;
Складемо рівняння відносно осі Y:
, (3.11)
де
;
– вага стріли з урахуванням вантажу, задаємося
=9 кН;
α - кут нахилу колії, α=
кН;
З рисунку видно, що
тоді
,
.
Складемо рівняння моментів відносно точки А:
(3.12)
де
– вертикальна і горизонтальна реакція на шарнірах, кН.
З рівняння
;
З рівняння
Складемо і розв’яжемо систему рівнянь:
, (3.13)
Звідси
.
;
;
.
Визначимо діаметр гідро циліндра по найбільшому зусиллю
, м.
(3.14)
де S – зусилля на штоці гідроциліндра, S=9,36 кН;
- тиск масла в гідроциліндрі, Р= 12 МПа;
- гідравлічний КПД,
=0,85
.
м = 108 мм.
По ГОСТ 22-1417-79 встановлюємо наступні розміри внутрішнього діаметра гідроциліндра
мм,
мм.
3.1 Розрахунок на міцність
Розрахуємо на міцність кріплення штока. При розрахунку міцності з’єднань не враховуються сили тертя в стику, так як затяжка болта не обов’язкова. Стержень болта розглянемо на зріз і зминання.
Рисунок 3.4 – Розрахункова схема
Умова міцності по напруженнях зрізу
.
де S – зусилля на штоці гідроциліндра, S=9,36 кН;
- діаметр болта з’єднання,
= 0,04м;
- число площин зрізу, і = 2.
(3.15)
Умова виконується.
4. Тяговий розрахунок
Сила тяги визначається як сума опорів пересування гусеничних візків колієукладача
, кН. (рисунок 4.1).
(4.1)
де
- опір пересуванню гусеничних візків по ґрунту, Н;
- опір гусеничного ходу, Н;
- опір інерції при руху з місця, Н;
- опір від ухилу колії, Н;
- опір від вітру, Н;
- опір повороту гусениць на кривому відрізку, Н;
Опір пересуванню гусеничних візків по ґрунту
, Н.
(4.2)
де
- сила опору руху гусеничних візків,
Н/т
;
- маса колієукладача,
т;
- маса ланки,
т.
кН
Опір гусеничного ходу
, Н.
(4.3)
кН
Рисунок 1.4 – Схема моторної платформи
Опір інерції при руху з місця
, Н:
(4.4)
де
- прискорення розгону, м/с.
кН.
Опір від ухилу колії
, Н:
(4.5)
де
- ухил колії,
.
кН.
Опір від вітру
, Н:
(4.6)
де
тиск вітру,
Па
;
- торцева підвітрена площа колієукладача
, ланки;
;
кН.
Опір повороту гусениць на кривому відрізку
, Н:
(4.7)
де
- момент тертя гусениці об грунт при повороті, Н
м;
- радіус кривої, задаємося
=700 м;
Момент тертя гусениці об грунт при повороті
, Н
м.
(4.8)
де
- коефіцієнт тертя гусениці об грунт,
, приймаємо
=0,3
;
- тиск від гусениці об грунт, Н/м;
- поправочний коефіцієнт, що компенсує неточності формули,
.
(4.9)
де
- довжина гусениці,
м;
- ширина гусениці,
=500 мм=0,5 м;
- маса колієукладача,
т;
- маса ланки,
т.
.
.
Звідси сила тяжіння буде рівна:
5. Охорона праці і техніка безпеки при обслуговуванні колієукладальних машин
Колієукладальні машини працюють в умовах проходу поїздів, по ділянках, де виконуються колійні роботи з участю бригад колійних робітників. Для безпечної і продуктивної роботи в цих умовах особливо необхідні знання і точне виконання вимог правил по техніці безпеки.
При роботі на електрифікованих ділянках постійного чи змінного струму, напруга з контактної мережі повинна зніматися на весь період роботи машини, а контактна мережа на місці роботи машини повинна заземлятися.
Під час приведення машини з транспортного положення в робоче і навпаки пропуск поїздів по суміжній колії не допускається. На період пропускання поїздів по суміжному путі робота машини повинна припинятись.
Перед виконання операцій по зарядженню і розрядженню машини, а також перепуском робочих органів машиніст повинен подавати звуковий сигнал.
При роботі машини забороняється знаходитись в зоні рухомих робочих органів, обертаючихся валів приводу, на близькій відстані від рукавів пнемо и гідросистем, ці місця повинні захищатися щитами.
В зв’язку з великою пожежонебезпекою машина забезпечується необхідною кількістю вогнегасників, а також пожежним інвентарем (СНиП – 2.01.02 – 85 та Протипожежні норми). Забороняється на електрифікованих ділянках колії гасіння пожару водою, особливо поблизу контактної мережі.
Під час роботи машини забороняється проводити регулювальні і ремонтні роботи, в тому числі змащування, закріплення різьбових з’єднань, розбору пневматичної, гідравлічної і електросистеми, на що вказують відповідні вказівники. Всі роботи пов’язані з ремонтними роботами виконуються в спецодязі.
Для підтримки необхідної температури та вологості в кабінах керування установлюють системи кондиціонування та опалення, (ДСН 3.3.6042-99)
«Санітарні норми мікроклімату»).
Скло машини повинно бути чистим і забезпечувати хорошу видимість колії, зону роботи і зупинки, для чого машина обладнується склоочисниками. Для захисту персоналу від погодних умов на машині знаходяться спеціальні плащі, сапоги, печатки.
Для роботи в нічний час машина обладнана фарами, а також обладнана підсвічуванням всіх робочих органів, кабіна також освітлюється (СНиП – ІІ - 4–79 «Норм штучного освітлення»).
Список використаної літератури
-
Машины и механизмы для путевого хозяйства. С.А. Соломонов, В.П. Хабаров, - М.: транспорт, 1984. – 440 с
-
Путевые машины / С.А. Соломонов, Н.В. Попович, Б.Н. Стефанов, М.Я. Яковлев; под ред. ктн С.А. Соломонова. – 2-е изд., перераб. и доп. – М.: Транспорт, 1985. – 535 с
-
Строительные и путевые машины / Н.Г. Домбровский, А.Ф. Игнатьев. – М.: Транспорт, 1967. – 535 с















