126086 (690868), страница 5
Текст из файла (страница 5)
Рис.22. Схема установки для осушки масла цеолитами:
1 - бак для сырого масла; 2 – указатель уровня; 3 – промежуточный бак; 4 – адсорбер предварительной сушки; 6 – бак для сухого масла; 7 – бак для нагрева масла; ЭН – электронагреватель; Тк – контактный термометр; Н – насос; Ф – фильтр; В1-10 – вентили; Кп – предохранительный клапан; М - манометр
После подогрева масло перекачивают из бака 7 в бак 3 шестеренчатым насосом Н при открытых вентилях В2 и В4 (вентиль В3 закрыт). Заполнив бак 3, приступают к осушке масла. Для этого масло насосом в течении определенного времени прогоняют через адсорбер 4 предварительной осушки. Циркуляция масла баком 3 и адсорбером 4 происходит при открытых вентилях В3, В5 и В6. По окончании предварительной осушки масло направляют в адсорбер 5, для чего вентили В5 и В6 закрывают и открывают вентили В7, В8 и В9. Прокачав масло через адсорбер 5, открывают вентиль В9 (вентиль В8 закрывают) и всю порцию осушенного масла перекачивают насосом в бак 6, откуда оно по закрытой системе трубопроводов поступает в стенд заполнения компрессора. Заполнение всех баков маслом контролируют по указателям 3 уровня; манометр М служит для контроля за давлением масла. Для снижения давления в установке имеется предохранительный клапан Кп.
Цеолит, находящийся в адсорберах, периодически заменяют или обезжиривают и регенерируют. Производительность шестеренчатого насоса (в 3м/с определяют по формуле:
Q = Do (Dн - Dо) bnv,
где Do и Dн – диамерты шестерен – делительной и наружной , м;
b – ширина шестерни, м; n – частота вращения шестерен в с-1;
v – объемный КПД; для насосов он равен 0,75-0,9.
Диаметр трубопровода (в мм) на линии нагнетания:
где Q – количество масла, протекающего по трубопроводу, л/мин;
v – средняя скорость течения масла в трубопроводе, м/с (для всасывающих трубопроводов рекомендуется скорость 0,5 – 1,5 м/с, а для нагнетательных – 3-5 м/с ).
Обеспечение ламинарного потока жидкости в трубопроводе проверяют по соотношению Рейнольдса:
где - плотность жидкости, приблизительно равная 900 кг/м3.
Диаметр трубопровода на линии всасывания рекомендуется принимать в два раза больше, чем на напорной линии. Высоту всасывания следует ограничивать до 500 мм. Потери давления в трубопроводах стенда следующие:
где - коэффициент сопротивления в трубе;
L – общая расчетная длина трубопровода, м;
d – внутренний диаметр трубопровода, м;
g – ускорение силы тяжести, равное 9,8 м/с2.
Также сушку масла можно произвести с помощью азота. И принципиальная схема установки для осушки масла сухим азотом приведена на рис. 23.
Рис. 23. Принципиальная схема установки для осушки масла азотом:
1 – бак для сырого масла; 2 – клапан; 3 и 7 – змеевики; 4 – бак водяной; 5 – бак для сухого масла; 6 – электронагреватель; 8 – окно смотровое; 9 – вентиль
Сырое масло заливают в бак 1, откуда оно самотеком поступает в змеевик 3. Скорость поступления масла в змеевик регулируют вентилем 9 и контролируют через смотровое окно 8. Змеевик находится в баке 4, наполненной водой. Вместе со змеевиком 3 для масла в воду погружен также змеевик 7, через который поступает сухой азот из змеевика 3, поэтому азот идет противотоком через масло, стекающее по змеевику в бак 5.
Воду в баке подогревает электронагреватель 6 до температуры75-80˚С для лучшего испарения влаги, содержащийся в масле, и уноса ее нагретым азотом в атмосферу через клапан 2. Температуру воды контролируют термометром.
Заключение
Из года в год холодильники совершенствовались и до сих пор еще появляются новые модели с более усовершенствованными технологиями. Бытовые холодильники предназначены для хранения скоропортящихся пищевых продуктов в охлажденном или замороженном состоянии. Холодильник представляет собой шкаф, внутри которого находится холодильная камера с полками для пищевых продуктов. В машинном отсеке шкафа расположен холодильный агрегат.
Отечественная промышленность выпускает холодильники различных конструкций, которые классифицируются по различным признакам. В основном, в соответствии с ГОСТом холодильники подразделяются на следующие типы:
-
по способу охлаждения;
-
по назначению;
-
по способу установки;
-
по степени комфортности;
-
по условиям эксплуатации;
И у всех этих холодильников высокое качество сборки и они очень удобны в эксплуатации. И необходимо, чтоб была усовершенствована и технология ремонта холодильников, так как без какого-либо прибора нельзя найти или устранить поломку, и усовершенствованы сами приборы, так как совершенствуется технология производства.
И также необходимо, чтобы организация приемки, выполнение ремонта и выдача холодильников и вообще, в целом бытовой техники должны обеспечивать максимальные удобства для заказчиков и минимальную затрату их времени.
Библиографический список
-
Технология и оборудование предприятий ремонта бытовой техники: практикум. В 2 ч. Ч.1 / составили С.Н. Алехин, Г.М. Блатман. – Шахты: Изд-во ЮРГУЭС, 2007. – 50с.
-
Лепаев Д.А. Ремонт бытовых холодильников: Справочник. – 2-е изд., перераб. и доп. – Легпромбытиздат, 1989.-304с.: ил.
-
Оборудование и технология ремонта бытовой техники: Учеб. пособие для студентов вузов / Болгов И.В., Набережных А.И., Фишман Б.Е., Баринов В.В. – М.: Легкая индустрия, 1978. 311 с., ил.
-
Ремонт и обслуживание бытовых машин и приборов: Учеб. пособие для нач. проф. образования / С.П. Петросов, В.А. Смоляниченко, В.В. Левкин и др. – М.: Издательство центр "Академия", 2003. – 320 с.
-
Болгов И. В., Остроумов В. П. Технология ремонта оборудования предприятий бытового обслуживания. М.: "Легкая индустрия", 1972, 368с.
-
Диагностика и сервис бытовых машин и приборов: Учебник для сред. проф. образования / С.П. Петросов, С.Н. Алехин, А.В. Кожемяченко и др. – М.: Издательский центр "Академия", 2003. – 320 с.
Приложение А – Технологические карты
Приложение Б – Графическая часть
Рис. 1. Холодильник "Минск-25" в разрезе:
1 – холодильный агрегат; 2 – наружный шкаф; 3 – внутренняя камера; 4 – теплоизоляция; 5 – форма для льда; 6 – испаритель; 7 – дверь; 8 – полка металлическая; 9 – полка-стекло; 10 – сосуд для овощей и фруктов
Рис. 2. Прибор полуавтоматического управления оттаиванием ТО-11:
1 – термочувствительная система; 2 - винт; 3 - колодка; 4 – винт настройки; 5 – пружина настройки точки срабатывания; 6 - кнопка; 7 - гайка; 8 - кожух; 9 – двуплечий рычаг; 10 – рычаг; 11 – опрокидывающаяся пружина; 12 – ось; 13 - корпус; 14 – рычаг резкого размыкания контактов
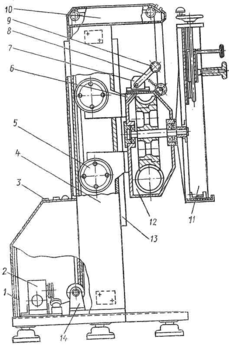
Рис. 3. Подъемник-кантователь для ремонта холодильников: 1 – основание; 2 – электропривод; 3 – электрооборудование; 4 – колонна; 5 – тележка; 6 – собачка; 7 – улавливающее устройство; 8 – рычаг; 9 – рейка; 10,14 – кронштейны; 11 - приспособление; 12 – редуктор; 13 - рейка
Рис. 4. Подъемный стол с поворотным кругом: 1 - фиксатор; 2 - поворотный стол; 3 - опора; 4 - гайка; 5 - винт; 6 - электродвигатель; 7 - автоматический выключатель; 8 - колонка; 9 - станина
















