194549 (690798), страница 12
Текст из файла (страница 12)
Похибка базування
- це різниця граничних відстаней вимірювальної бази відносно встановленого на заданий розмір деталі різального інструмента. Виникає, коли опорна установочна база не суміщена з вимірювальною. Визначаємо похибки базування відповідних розмірів, користуючись [дод. 2, 16].
Похибка базування для розмірів А та В однакова і визначається за формулою:
, де
- допуск розміру отвору ø85Н7. За ГОСТ 25347-85 граничні відхилення для поля допуску Н7: ø85
, тоді:
(мм);
- допуск розміру пальця ø85g7. За ГОСТ 25347-85 граничні відхилення для поля допуску g7: ø85
, тоді:
(мм);
(мм) - мінімальний зазор посадки ø85Н7/g7;
= 0,02 мм - ексцентриситет зовнішньої поверхні заготовки відносно отвору.
Отже,
(мм)
Для розмірів С, D та F положення вимірювальної бази може змінюватися у межах допуску на розмір В, тому похибка базування обчислюється так:
(мм)
Для розміру Е положення вимірювальної бази може змінюватися у межах допуску на розмір D, тому похибка базування обчислюється так:
(мм).
Похибка затискання
Похибка затискання
являє собою різницю найбільшої і найменшої проекцій зміщення вимірювальної бази на напрям виконуваного розміру при прикладенні до заготовки сили затискання.
В даному випадку похибка затискання рівна нулю (
), оскільки прикладена затискна сила перпендикулярна до усіх витримуваних розмірів.
Похибка положення заготовки в пристрої
Похибка положення заготовки
, яка викликається неточністю пристрою, визначається похибками при виготовленні і складанні його установочних елементів
, їх зносом
та помилками встановлення пристрою на верстаті
.
Складова
характеризує неточність положення встановлювальних елементів пристрою. Згідно [§ 2, с.19, 5] при використанні одного пристосування (як в нашому випадку) це - систематична постійна похибка, яка ліквідується налагодженням верстата, тому
.
Складову
приймемо рівною
мм - похибка зносу установочних елементів, яка є функцією часу та залежить від програми випуску. конструкції та розмірів деталі, матеріалу і маси деталі, стану технологічних баз деталі, умов її встановлення і зняття.
Складова
виражає похибку встановлення пристосування на столі верстата, обумовлену зміщенням корпусу пристосування на столі верстата. Згідно [§ 2, с.21, 5] приймемо
мм.
та
вважаються випадковими величинами,
- постійною.
При використанні пристроїв в серійному виробництві (як в нашому випадку) згідно [§ 2, с.22, 5] похибка положення заготовки визначається:
, де
t = 3 - коефіцієнт, що визначає долю можливого браку, %;
= 1/3 - коефіцієнт для кривої рівної ймовірності;
= 1/9 - коефіцієнт для кривої Гауса;
Отже, з урахуванням вище наведених коефіцієнтів, похибка положення визначатиметься:
(мм);
Похибка встановлення
Так як
,
,
являють собою поля розсіювання випадкових величин, що підкоряються закону нормального розподілу, то похибка встановлення
як сумарне поле розсіювання виконуваного розміру визначають за формулою:
Визначимо похибку встановлення для кожного розміру :
(мм);
(мм);
(мм).
Перевірка умови забезпечення необхідної точності обробки. Висновок
Точність обробки забезпечиться лише у тому випадку, якщо похибка базування буде меншою за допуск на відповідний розмір.
Допуски на розміри задані за кресленням:
мм;
мм;
мм (допуск не вказано, отже визначаємо його за 14-м квалітетом)
Порівнюючи знайдені значення похибок встановлення, можна зробити висновок, що для кожного розміру їх значення менше за відповідний допуск. Це свідчить про те, що прийнята конструкція пристрою є задовільною і є доцільним розробляти її далі.
4.4 Розробка загальної схеми взаємодії сил та моментів, що діють на заготовку. Визначення необхідної величини сили затискання
В ході обробки на заданій (свердлувальній) операції на заготовку діють осьові сили та крутні моменти при обробці кожного отвору відповідно. Їх значення були визначені в п. 4.1.6. при знаходженні режимів обробки.
Необхідна величина сили затискання заготовки в пристрої визначається при вирішенні задачі статики на рівновагу твердого тіла, що знаходиться під дією всіх прикладених до нього сил та моментів.
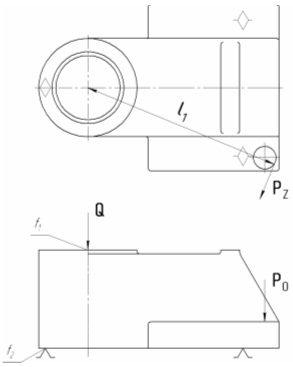
Схему взаємодії сил та моментів складемо для найбільш несприятливого випадку - цекування отвору 30, що знаходиться найдалі від місця прикладення затискної сили. Серед усіх перелічених переходів для цекування крутний момент найбільший. У цьому випадку плече буде найбільшим, а отже момент, який намагатиметься провернути заготовку, також буде найбільшим. Тому шукана сили затискання повинна бути такою, щоб протистояти йому.
Попередньо подамо відомий крутний момент при цекуванні у вигляді добутку сили PZ на половину діаметру оброблюваного отвору (що видно з рисунка):
Звідси знайдемо силу PZ, яка намагається провернути заготовку відносно центру базуючого отвору:
(Н)
Проаналізувавши сили, що діють на заготовку, можна зробити висновок, що осьова сила PО діє в одному напрямку із силою затискання Q і намагається притиснути заготовку до столу, а тангенційна сила PZ намагається провернути заготовку відносно осі базуючого отвору.
Тому момент тертя, що створюється на відповідних поверхнях (між шайбою та поверхнею заготовки - поверхня 1, між установочно поверхнею заготовки та опорами - поверхня 2;) повинен перевищувати максимальний момент різання, який створюється силою PZ на величину коефіцієнта запасу затискання.
Рис. 4.5.1. Схема взаємодії сил та моментів, що діють на заготовку
Момент різання від сили PZ :
(Н∙м),
тут
мм (за кресленням) - довжина плеча.
Тоді рівняння взаємодії моментів різання та моментів тертя має вигляд:
, де
- відповідно моменти тертя на першій і другій поверхнях;
- коефіцієнт запасу затискання.
На поверхні 1 між шайбою та поверхнею заготовки між момент тертя створюється лише силою затискання Q і дорівнює:
,
де
- приведений радіус тертя на кільцевій поверхні :
(мм) [див. рис.]
= 0,16 - коефіцієнт тертя на поверхні 1 між шайбою та поверхнею заготовки;
На поверхні 2 між шайбою та поверхнею заготовки момент тертя створюється силою затискання Q, до якої додається осьова сила PО :
,
(мм)
де
= 0,16 - коефіцієнт тертя на поверхні 2 між установочно поверхнею заготовки та опорами;
Формула для визначення моменту тертя між шайбою та поверхнею заготовки враховує лише момент тертя в лівій опорі (за рис.), моментом тертя в правій опорі нехтуємо.
Отже загальне рівняння взаємодії моментів різання та моментів тертя матиме вигляд:
,
або
Тоді необхідна сила затискання:
Коефіцієнт запасу затискання розраховується згідно [пр.3, 16] як добуток ряду коефі-цієнтів, що враховують конкретні умови обробки:
, де
- коефіцієнт гарантованого запасу затискання;
- коефіцієнт, що враховує підвищення сил різання в залежності від стану шорсткості поверхонь, що обробляються (при чорновій обробці);
- коефіцієнт, що характеризує підвищення сил різання в результаті затуплення ріжучого інструменту;
- коефіцієнт, що враховує підвищення сил різання при переривчастому різанні (в нашому випадку обробка неперервна);
- коефіцієнт, що характеризує нестабільність сили затискання в затискному механізмі з ручним приводом;
- коефіцієнт, що характеризує ергономічність ручних затискних механізмів (зручність розташування рукояток та важелів в затискних механізмах з ручним приводом) - в нашому випадку при зручному та малому куті повороту;
- коефіцієнт, що враховується при наявності крутних моментів - в нашому випадку при встановленні заготовки на опорні пластини.
Отже загальний коефіцієнт запасу:
Необхідна сила затискання:
(Н)
4.5 Визначення фактичної сили затискання заготовки в пристрої
Згідно [§ ІІІ.2., с.44, 2] в залежності від необхідної сили затискання, визначеної в п. 4.5., і допустимого напруження гвинта на розтяг, знаходимо номінальний зовнішній діаметр різьби гвинта:
, де
МПа - допустиме напруження на розтяг матеріалу гвинта при змінному навантаженні згідно [§ ІІІ.2., с.44, 2].
Отже, номінальний діаметр гвинта:
(мм)
Приймаємо за номінальний діаметр гвинта найближчий більший із стандартного ряду:
мм
Згідно [§ ІІІ.2., с.43, 2] фактична сила затискання при прикладеній силі Р на ключі різьбового зажиму з гайкою (рис.) обчислюється за формулою:
Р ≈ 160 Н - сила на ключі різьбового зажиму, що прикладається робітником;
l ≈ 14d - відстань від осі гвинта до точки прикладення сили Р, мм; l ≈ 14∙16 ≈ 224 мм;
Приймемо l = 200 мм;
мм - номінальний зовнішній діаметр різьби;
- середній радіус різьби гвинта, мм;
мм; де
мм - середній діаметр різьби гвинта за СТ СЭВ 181-75.
- кут підйому витка різьби;
- приведений кут тертя в різьбовій парі;
- коефіцієнт тертя при плоскому контакті двох спряжених деталей (на нижньому торці гайки або гвинта);
мм - зовнішній діаметр опорного торця гайки;
мм - внутрішній діаметр опорного торця гайки;
Фактична сила затискання:
(Н)
Отже, фактична сила затискання достатня для забезпечення надійного затиску заготовки.
4.6 Опис принципу роботи спроектованого пристрою
Розроблене пристосування доцільно використовувати в машинобудуванні в дрібносерійному та одиничному виробництві при обробці заданої деталі типу "Корпус" та подібних їй деталей.
Дане пристосування є одномісним. Воно є досить простим за конструкцією і водночас здатне забезпечити досить значну силу затискання, яка втримує заготовку від провертання під час обробки. Пристосування підвищує продуктивність праці, так як зменшується норма часу на операцію у вигляді допоміжного часу на встановлення деталі, підвищує безпеку свердлувальника на робочому місці та, найголовніше, забезпечує необхідну точність механічної обробки.















