125859 (690724), страница 2
Текст из файла (страница 2)
Рис. 4. Червячная фреза с поворотными вставными рейками
Червячные фрезы с поворотными вставными рейками применяют главным образом в условиях массового производства. Эти фрезы имеют большую длину реек (до 200 мм), количество заходов 2-3, повышенную твердость реек (HRC 66-68), ширина зуба рейки увеличена до 20--25 мм, количество реек колеблется в пределах 10-17. Наблюдается тенденция к увеличению наружного и внутреннего диаметров.
Основная причина, вызвавшая создание длинных фрез, связана с увеличением времени работы фрезы на станке. В результате повышения мощности, жесткости и автоматизации современных зубофрезерных станков, а также увеличения режимов резания машинное время зубофрезерования значительно сократилось и фрезу приходится часто менять на станке. Кроме того, длинные фрезы более экономичны, чем короткие.
На рис. 4 показана сборная червячная фреза с поворотными вставными рейками, имеющая наибольшее применение в промышленности. Фрезы этой конструкции имеют большой период стойкости, обеспечивают высокую точность и производительность.
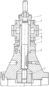
Окончательное шлифование профиля реек производят на резьбошлифовальном станке с большими боковыми и задними углами. Шлифование осуществляется большим кругом с обеспечением высокой производительности и качества. Подогревая рабочий корпус 1 червячной фрезы, запрессовывают рейки 2 в прямоугольные пазы. Плотная посадка реек гарантирует высокую жесткость против осевого перемещения. Дополнительно рейки удерживаются боковыми крышками 3, которые запрессовываются в нагретом состоянии с натягом 0,1 мм и закрепляются винтами 4.
Цельные червячные фрезы с нешлифованным профилем повышенной точности отличаются от шлифованных тем, что после закалки профиль зубьев не подвергается механической обработке. Их точность по сравнению с фрезами со шлифованным профилем ниже и соответствует классу В. Фрезы с нешлифованным профилем по сравнению с цельными фрезами со шлифованным профилем имеют большее число переточек, большие задние и боковые углы, которые обеспечивают повышенный период стойкости, и более низкую стоимость.
За последние годы наметилось новое направление при изготовлении фрез с нешлифованным профилем. С целью повышения их точности до класса А профиль зубьев фрезы после термообработки подвергают электроискровой обработке.
Цельные фрезы, изготовленные методом электроискровой обработки, широко применяют в автомобильной промышленности под последующее шевингование. Фрезы с модулем от 1,75 до 3,5 имеют большую длину150 мм, малый наружный диаметр в пределах 65-77 мм. Шпоночный паз для передачи вращения делают в отверстии или на торце, в последнем случае внутреннее отверстие уменьшают - жесткость фрезы увеличивается. Для повышения периода стойкости на зубья фрезы наносят покрытие из нитрида титана.
Твердосплавные червячные фрезы изготовляют цельными и сборными с монолитными твердосплавными рейками. У фрез с модулем свыше 10 мм твердосплавные пластины припаивают к зубу корпуса фрезы.
Из-за частых выкрашиваний режущих кромок, высокой стоимости и практически отсутствия специальных зубофрезерных станков с высокой жесткостью и мощным приводом область применения твердосплавных фрез ограничена. Твердосплавные фрезы в основном применяют для обработки зубчатых колес из неметаллических материалов (пластмасс) и цветных металлов в часовой и приборостроительной промышленности.
При обработке серого чугуна выкрошивания режущих кромок не наблюдается, поэтому ряд ведущих автомобильных заводов применяют эти фрезы в серийном производстве. Твердосплавные фрезы применяют и для обработки стальных зубчатых колес малого модуля 1-2,5 мм. Эти колеса нарезают на специальных зубофрезерных станках при скорости резания 200-300 м/мин.
Большой отрицательный передний угол на зубьях фрезы обеспечивает равномерное резание при большой подаче с минимальным усилием резания и отсутствием ударов и вибраций. Эти фрезы снимают небольшой припуск с боковой стороны зуба (0,1-0,4) , не касаясь дна впадины, что способствует получению высокого качества шероховатости боковых поверхностей зубьев колеса (Ra = 1—2 мкм). Большой период стойкости фрезы позволяет окончательно обрабатывать зубчатые колеса большого диаметра без промежуточной ее заточки с обеспечением высокого качества.
Многозаходные червячные фрезы применяют для повышения производительности станка при зубофрезеровании. Чтобы рационально использовать преимущества многозаходных фрез, необходимо соблюдение определенных условий.
Однозаходная червячная фреза имеет только одну винтовую линию (виток), навитую на наружную цилиндрическую поверхность. За один оборот такой фрезы обрабатываемое зубчатое колесо повернется на один зуб. Двухзаходная червячная фреза имеет две винтовые линии, навитые на наружную цилиндрическую поверхность. За один оборот фрезы колесо повернется на два зуба и т. д.
Таким образом, при зубофрезеровании многозаходными фрезами заготовка вращается быстрее по отношению к фрезе в прямой зависимости от числа заходов. Это является главным преимуществом многозаходного зубофрезерования. Время фрезерования двухзаходной фрезой вдвое меньше, чем однозаходной. Однако при работе двухзаходной фрезой сечение срезаемой стружки больше, чем однозаходной. Например, 12-зубая однозаходная фреза при работе по методу обката формирует профиль зуба колеса 12 резами, двухзаходная - 6, а трехзаходная - только 4 резами. Следовательно, сечение стружки у многозаходных фрез увеличивается, профиль зубьев колеса становится менее точным. Вот почему приходится несколько уменьшать величину подачи при работе многозаходными фрезами. При переходе с однозаходных фрез на двухзаходные производительность увеличивается на 40-50 %, а трехзаходных - на 60-70 %. Кроме того, при применении многозаходных фрез число зубьев колеса не должно быть кратным числу заходов фрезы. Ошибки в заходности фрезы вызывают погрешность в шаге определенных зубьев колеса во время зубофрезерования, устранить которые на последующих операциях затруднительно. У однозаходной фрезы все зубья колеса образуются одним заходом, следовательно, ошибки фрезы влияют на все зубья одинаково.
Когда отношение числа зубьев колеса к числу заходов фрезы выражено целым числом, например при нарезании зубчатого колеса с числом зубьев 22 двухзаходной фрезой, то каждый из заходов фрезы нарезают только определенные впадины зубьев, четные или нечетные при каждом обороте заготовки. Поэтому ошибки шага и профиля между заходами фрезы будут переданы определенным зубьям вовремя зубофрезерования.
Следующим важным условием является отношение между числом заходов фрезы и числом стружечных канавок, которое не должно быть кратным. Для уменьшения погрешности профиля зубьев колеса при фрезеровании многозаходными фрезами необходимо, чтобы эти фрезы имели больше стружечных канавок. Чтобы при этом не уменьшилась эффективная ширина зуба фрезы, следует увеличить наружный диаметр.
В связи с созданием новых, более жестких зубофрезерных станков применение многозаходных фрез с каждым годом возрастает. В большинстве случаев многозаходные фрезы применяют при предварительном зубофрезеровании под последующее шевингование или шлифование. При чистовом нарезании многозаходные фрезы используют там, где точность является второстепенным условием, например для обработки звездочек, зубчатых венцов маховика и т. д.
При выборе параметров червячной фрезы необходимо учитывать ряд факторов.
Преимущества большого диаметра фрезы: возможно большее число зубьев и меньшая нагрузка на зубья фрезы, что позволяет повысить производительность станка, более высокая точность огибающих резов.
Преимущества малого диаметра фрезы: небольшие длина врезания и путь перебега фрезы, а также более высокая частота вращения фрезы повышают производительность и уменьшают нагрузку на станок.
При обработке зубчатых колес в массовом и крупносерийном производстве экономично применять длинные червячные фрезы, они имеют большой срок службы. В мелкосерийном производстве из-за более низкой стоимости применяют короткие фрезы.
При нарезании зубчатых колес с углом наклона зубьев свыше 20° целесообразно применять фрезы с заборным конусом. Такие фрезы уменьшают путь врезания, работают без передвижки в одном положении. Угол заборного конуса выбирают так, чтобы все его зубья участвовали в резании. На какой стороне фрезы должна быть выполнена заборная часть, зависит от направления подъема винтовой линии фрезы, направления линии зуба колеса, способа фрезерования (с попутной или встречной подачей). Косозубые колеса с правым направлением линии зуба предпочтительнее нарезать правозаходными червячными фрезами, а с левым направлением - левозаходными фрезами.
Особенно большое значение для повышения эффективного использования червячной фрезы имеет устройство для автоматического перемещения ее вдоль оси. В процессе резания зубья фрезы снимают различную по величине стружку в зависимости от ее положения относительно оси обрабатываемого колеса. Одни зубья снимают большой слой металла, другие небольшой, а многие вообще не участвуют в резании. Зубья нагружены по-разному, поэтому износ их также различен. Более нагруженные режущие кромки зубьев имеют большой износ. В процессе заточки в один размер сошлифовываются как изношенные зубья, так и те, которые не участвовали в резании. Чтобы устранить этот недостаток (полностью использовать все зубья фрезы), разработано устройство для автоматического перемещения фрезы. Фреза периодически перемещается вдоль оси на определенную величину после обработки одного колеса, пакета или партии зубчатых колес.
На рис. 5 представлен график износа зубьев червячной фрезы по задней поверхности при ручном 1 и автоматическом 2 ее перемещении. При ручном перемещении фрезы по сравнению с автоматическим наблюдается большая неравномерность в затуплении зубьев и более низкая стойкость. Внедрение механизма автоматического перемещения червячных фрез позволяет повысить период стойкости на 20~40 % за счет более полного и равномерного затупления зубьев. Кроме того, повышается производительность, облегчаются условия труда наладчика и повышается качество обработки.
Зубья фрезы, находящиеся на входной стороне, изнашиваются больше, чем остальные, поэтому периодическое перемещение должно быть направлено против вращения обрабатываемого колеса. В этом случае неиспользованные зубья фрезы на выходной стороне будут окончательно нарезать зубья колеса. На станках с автоматическим перемещением инструмента особенно эффективно работать длинными червячными фрезами.
При автоматическом перемещении фрезы важное значение имеют величина периодического перемещения и положение фрезы относительно оси нарезаемого колеса в начальном и конечном положении. Эти величины определяются опытным путем в каждом конкретном случае. Если при принятой величине передвижки износ фрезы мал, величину передвижки необходимо уменьшить и, наоборот, величину передвижки увеличить, если износ велик. Оптимальная величина передвижки обычно находится в пределах 0,8-2,0 мм.
4.Зажимные приспособления
Основное назначение зажимных приспособлений удерживать зубчатое колесо точно и устойчиво во время зубообработки и контроля. Поэтому зажимные приспособления должны иметь достаточную жесткость, высокую точность размеров установочных поверхностей (отверстий, шеек и опорных торцов), не иметь чрезмерного вылета (консоли), свободно сидящих втулок и множества посадок. Если позволяет форма и размер заготовки, при зубонарезании нужно использовать те базовые поверхности, которые обеспечивают надежный зажим заготовки в процессе резания. При установке на зубофрезерном станке (рис. 6) биение установочных поверхностей приспособления шейки В и торца Т не должно превышать 0,01-0,015 мм, а для прецизионных зубчатых колес - 0,005 мм.
Рис. 6 Приспособление для закрепления двух цилиндрических колёс на зубофрезерном станке
На рис. 6 показано зажимное приспособление, устанавливаемое на стол зубофрезерного станка, для нарезания одновременно двух цилиндрических зубчатых колес-дисков. Зубчатые колеса 3 базируют по отверстию и торцам зубчатого венца, а центрируют по втулке 4 с опорой на кольцо 5. Заготовки в приспособлении зажимают с помощью гидроцилиндра через соединительную муфту 7, тягу 2 и прижимную крышку 1. Крышка имеет шпоночные пазы; при зажиме ее надевают через шлицы тяги 2 и поворачивают на небольшой угол. При опускании тяги торцы шлицев, опираясь на крышку, зажимают заготовки. Втулка 4 закреплена на массивной чугунной тумбе б. Это зажимное приспособление универсального типа можно использовать для широкого диапазона зубчатых колес, заменяя втулку 4, кольцо 5 и прижимную крышку 1. Оно обеспечивает точное и жесткое крепление заготовок.
Зубчатые колеса-валы небольших размеров обрабатывают от центровых фасок, вращение заготовке передается от шпинделя станка через хомутик или специальные острые стержни, которые внедряются в торец заготовки и передают вращение.
Приспособление такого типа, показанное на рис. 7, применяют на горизонтальном зубофрезерном автомате. Заготовку 5 устанавливают в центрах 3, 6 на фаски центровых отверстий. Правый центр б перемещает заготовку 5 влево, ее торец внедряется в острые стержни 4, посредством которых осуществляется вращение заготовки в процессе резания червячной фрезой 7. Левый центр 3 подпружинен пружиной 2. Поверхность 1 служит для выверки правильности установки приспособления в шпиндель станка. Колеса-валы с модулем свыше 5 мм базируют и зажимают за шейку в цанговом или кулачковом патроне.
5. Зубофрезерные станки и их основные технические характеристики
Согласно принятой в отечественном станкостроении классификации металлорежущих станков каждая модель станка обозначается шифром, состоящим из нескольких цифр в сочетании с буквами. Первая цифра шифра обозначает группу, к которой относится станок. Так, зубообрабатывающие станки Относятся к 5-й группе, поэтому первой цифрой в шифре зубообрабатывающих станков является цифра 5. Вторая цифра в шифре станка характеризует его тип.
Группа зубообрабатывающих станков подразделяется на девять типов: 1 - зубодолбежные и зубострогальные станки для обработки цилиндрических колес; 2 - зубострогальные и зуборезные станки для конических колес; 3 - зубофрезерные станки для цилиндрических и червячных колес; 4 - зубофрезерные станки для червячных колес; 5 - станки для обработки торцов зубьев (зубозакругляющие, зубофасочные); 6 - резьбообрабатывающие станки (для обработки червяков); 7-зубоотделочные (шевинговальные, зубопритирочные), контрольно-обкатные и обкатные станки;















