125388 (690511), страница 4
Текст из файла (страница 4)
Размеры шпонок определяем по [3, с.26, табл.12]
Таблица 12
Расчет производился с помощью модуля автоматизированного проектирования шпоночных соединений на основе проверки на смятие.
4 Проектирование узлов подшипников качения
-
Выбор подшипников качения. Расчет их долговечности
Для третьего вала выбираем: подшипник 7314А ГОСТ 27365-87
Основные параметры:
d = 70 мм
D = 150 мм
Сдин = 110 кН
е = 0.39
Y = 1.55
Рис. 4Подшипник роликовый радиально – упорный
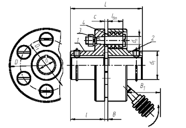
5 Выбор и расчет муфт
Соединение редуктора с электродвигателем осуществляется с помощью муфты.
Для входного вала выбираем упругую муфту [4, с.12, рис.1.4].
Рис.5 Муфта упругая втулочно – пальцевая
Муфты упругие предназначены для смягчения толчков и ударов, защиты от резонансных крутящих колебаний, компенсации смещений соединяемых валов.
Параметры муфты [4, с. 11]
[Т] = 500 Н*м , dn = 18 мм,
d = 45 мм, lBT = 36 мм,
D = 1700 мм, c = 6,
D1 = 130 мм, Z = 8
L = 225 мм, Tp = 64,5 Н*м
l = 110 мм,
d1 = 90 мм, масса 13,20 кг.
Выбираются муфты по расчетному крутящему моменту и диаметрам концов соединяемых валов. Условно считая, что нагрузка равномерно распределяется между пальцами и по их длине, производим проверочный расчет пальцев на изгиб, упругих втулок на смятие по формулам [4, с.12]:
6 Конструирование корпуса редуктора
Корпус редуктора служит для размещения в нем деталей передач, обеспечения смазывания передач и подшипников, предотвращения загрязнения деталей, восприятие усилий, которые возникают при работе редуктора. Он должен быть достаточно крепким и жестким, т.к. при значительных деформациях корпуса возможен перекос валов и вследствие чего повышение неравномерности распределения нагружения по длине зубцов зубчатых колес. Для удобства монтажа деталей выполняют корпус разъемным.
Определим размеры отдельных элементов корпуса редуктора [4, с.27-36]:
-
Толщина стенки корпуса
где
- межосевое расстояние тихоходной ступени
Принимаем
-
Толщина стенки крышки корпуса
, принимаем
-
Толщина верхнего пояса фланца основания
-
Толщина нижнего пояса фланца крышки
-
Толщина фланцев подставки корпуса (без бобышек)
-
Диаметр фундаментальных болтов
Принимаем фундаментные болты М22, количество фундаментальных болтов
принимаем из [4, с.31,табл. 2.1].
-
Диаметр болтов, расположенных у подшипниковых гнезд
. Принимаем болты М18
-
Диаметр стяжных болтов
. Принимаем болты М14
-
Диаметр болтов для крепления смотровой крышки
. Принимаем болты М8
-
Диаметр отверстия в проушине
-
Толщина ребер основания корпуса
-
Толщина ребер крышки
Конструктивно принимаем смотровое окно, крышку, отдушину, пробку к маслоспускному отверстию. Размеры этих элементов принимаем по [4].
ВЫВОДЫ
В курсовом проекте было спроектировано три зубчатые передачи и проведен их проверочный расчет.
В ходе выполнения работы был выбран электродвигатель 4А1002У3 с Р=4.0кВт, удовлетворяющий всем необходимым требованиям (условиям нагрева и перегрузки).
Сконструированы валы и проведен проектный и проверочный расчет промежуточного (третьего вала) вала данного редуктора. В результате чего был получен вал с коэффициентом запаса n = 2.2.
Подобраны подшипники качения для третьего вала, а именно радиально – упорные роликовые конические подшипники, серии 3007108А ГОСТ 27365 - 87 и проведена их проверка на долговечность. Подобраны и проверены шпоночные соединения для третьего вала.
Подобрана упругая втулочно – пальцевая муфта и проведен её проверочный расчет.
Спроектирован корпус редуктора. В графической части приведены : общий вид привода, редуктора, деталей.
Перечень ссылок
1. Методические указания по курсовому проектированию деталей машин. Раздел 1. Краткая инструкция, расчет исходных данных (для студенитов всех специальностей)/ Сост.: В.С. Исадченко, В.П. Онищенко, О.К. Помазан. – Донецк: ДПИ, 1981. – 51 с.
2. Методические указания к самостоятельной работе над курсовым проектом по деталям машин. Раздел 2. Этапы «Эскизный проект» и «Технический проект». Проектирование зубчатых и червячных передач (для студентов технических специальностей)/ Сост.: В.С. Горелик, В.С. Исадченко, В.И. Проскурин,
П.М. Матеко, А.Л. Симонов, В.П. Алиферов. – Донецк: ДПИ, 1992. – 84 с.
3.Методические указания по курсовому проектированию деталей машин. Раздел 3. Расчет и конструирование валов (для студентов всех специальностей)/ Сост.: П.М. Матеко, А.Л. Симонов, В.Ф. Ващенко. – Донецк: ДПИ, 1981. – 48 с.
4. Методические указания по курсовому проектированию деталей машин. Конструирование муфт и корпусов (для студентов механических специальностей) / Сост.: В.С. Исадченко, П.М. Матеко, В.С. Горелик. – Донецк: ДПИ, 1987. – 43 с.















