125115 (690287), страница 2
Текст из файла (страница 2)
=0,3м,
- проекція ширини лопаті на напрямок обертання (якщо ширина лопаті дорівнює 0,01м, а кут нахилу α=40...45о то проекція буде дорівнювати -
=0,1cos45о=0,0707м.);
- коефіцієнт звороту суміші, який залежить від числа лопатей із зворотним кутом їх установки;
- коефіцієнт заповнення змішувача ( 0,55...0,60); n- частота обертання лопатей, 0,9с-1.
Отже знаючи радіус, можна знайти геометричні параметри змішувача
b к=1,5R=1,5·0,3=0,45м; В =b к+2R =3.5R=3,5·0,3=1,05м;
h=1.35R=1,35·0,3=0,405м; H=h +R=2.35R=2,35·0,3=0,705;
L=4.25R=4,25·0,3=1,275м; bл=0,42R=0,42·0,3=0,126м;
hл=0,5R=0,5·0,3=0,15м; tл=0,7R=0,7·0,3=0,21м.
Місткість змішувача у об’ємних одиницях, м3
,
=0,6 – коефіцієнт заповнення змішувача; kл – кількість парних лопатей на кожному валу =18;
=(1,41 ·0,6 ·18·0,33)=0,4м3.
Знаючи об’єм ми можемо знайти потужність змішувача, кВт, розраховується за формулою двовального змішувача
=27.3 кВт.
2.3 Визначення конструктивних навантажень на елементи приводу
На рух лопаток в бетонній суміші діє сила опору бетонної суміші на лопатку, яка залежить від складу бетонної суміші, її жорсткості та рухливості, а також від заповнення змішувального барабану.
Для розрахунку сили опору на лопатку змішувача є декілька запропонованих формул, кожна з яких може бути використана. наприклад
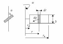
схема №1.
Візьмемо як приклад схему №1 робочого органа змішувача, що має лопатку з відповідними розмірами. Оскільки колова швидкість лопатки ν є величина змінна і залежить від радіуса обертання лопатки (ν=ω·r, де ω – кутова швидкість лопатки, с-1), то виділимо елементарну площадку на відстані r і визначимо елементарну силу dP
Тоді повна сила опору, кН
=
=79кН
Другий підхід до визначення навантаження на лопатку змішувача можна вивести з іншої формули яка використовується для визначення крутячого моменту, що використовується в подальших розрахунках
де r – відстань до середини лопатки від вісі вала; Z – кількість лопаток які знаходяться одночасно в бетонній суміші. З попередньої формули визначаємо Р
.
2.4 Розрахунок потужності привода машини
В загальному випадку момент, необхідний для обертання лопаті
, Н ·м
де k – коефіцієнт опору руху лопаті, Н/м2; b – проекція ширини лопаті на площину, перпендикулярну до напрямку обертання, м; rн, rн – радіус відповідно внутрішньої і зовнішньої кромки лопаті, м.
Для змішувачів з горизонтальними валами, що мають лопаті однакового розміру, потужність двигуна, кВт
,
де ω – кутова швидкість вала, рад/с; Z – число лопатей; η (0,9) – ККД привода.
Таким чином підставивши задані значення параметрів лопатей, знаходимо потужність потрібну для перемішування бетонної суміші
n=0,9 с-1 частота обертання; k=0,6 - коефіцієнт опору руху лопаті; b=0,0707 – проекція ширина лопаті на площину; rн, rн =0,3. 0,12. - радіус відповідно внутрішньої і зовнішньої кромки лопаті; Z=72;
=2·3,14·0,9·0,6·70(3002-1202)72·0,6/(2000·0,9)=27,3кВт.
2.5 Розрахунок вала привода на міцність
Основними умовами, яким повинна відповідати конструкція вала привода, є достатня міцність; жорсткість, для забезпечення нормальної роботи зачеплень і підшипників; технологічна конструкція і економія матеріалу. В якості матеріалу для валів використовують вуглеводневу леговану сталь. Невідповідальні вали, габарити яких не грають важливої ролі, виготовляють із сталі Ст.5. Для більш відповідальних валів, в тому числі для валів редукторів загального призначення, приймають сталі 45, 50, 40Х, що піддаються термічній обробці. Для відповідальних важко навантажених валів, які повинні мати невеликі габарити, використовують леговані сталі 40ХН, 30ХГС. Термообробка – покращення, закалка ТВЧ. Для дуже відповідальних валів, а також валів які працюють в підшипниках ковзання, використовують також цементуючі сталі – 20Х, 20ХН, 12ХНЗА, 18ХГТ та ін.
Розрахунок вала виконується в чотири етапи орієнтовний розрахунок на кручення; розрахунок на складний опір (кручення зі згином); перевірка запасу міцності на витривалість в найбільш небезпечних перерізах; перевірка жорсткості вала.
Розрахунок вала на кручення виконують перед складання першої компонованої схеми привода и редуктора.
Для розрахунку вала на складний опір необхідно скласти його розрахункову схему розмістити точки, в яких розміщені умовні опори, визначити величину і напрямок діючих на вал сил, а також точки їх прикладання.
В більшості випадків використовують двопорні вали. Опору, що сприймає радіальні і осьові навантаження, вважають шарнірно нерухомою, опору, яка сприймає тільки радіальні навантаження – шарнірно-рухомою. При застосуванні в опорі одного шарикового або роликового підшипника, розрахункову точку опори розміщують посередині ширини підшипника. При радіально-упорному підшипнику радіальна реакція вважається прикладеною до валу в точці перетину його геометричної осі і прямої, проведеної через центр шарика і середину ролика під кутом (90о – α) до осі підшипника, де α – кут контакту, вказаний в каталозі підшипників. Відстань а між точками прикладення реакції і широким торцем зовнішнього кільця підшипника приблизно може бути знайдений по таким формулам для однорідних шарикових радіально-упорних підшипників а=
,
Для однорядних конічних роликових підшипників
,
де е=1,5tgα. Розміри D,d, B, Т см. За довідником.
Після складення розрахункової схеми вала будують епюри приведених моментів в різних площинах, сумарних згинаючих моментів, крутячих моментів, епюр приведених моментів.
Після побудови епюри згинаючих моментів в двох взаємно перпендикулярних площинах х, у будують епюру сумарних згинаючих моментів
,
При побудові епюр приведених моментів використовують 3-ю і 4-у гіпотези міцності. На основі третьої гіпотези міцності приведений момент визначають за залежністю
.
Коефіцієнт α враховує різницю в характеристиках циклів напруження згину і кручення. Напруження згину у валі знакозмінне симетричне, характеристика циклу якого r=-1. α=1.















