125100 (690274), страница 3
Текст из файла (страница 3)
Колба со средой ставится на лабораторную качалку на 3-5 дней. Полученную накопительную культуру использовали в дальнейшем для иммобилизации.
2.1.6 Иммобилизация микроорганизмов
Сначала нами была проведена работа по иммобилизации клеток микроорганизмов на слоистых двойных гидроксидах. В качестве исходной матрицы для иммобилизации был выбран двойной гидроксид железа-магния, структура которого показана на рис. 1:
Рис. 1. Структура слоистого двойного гидроксида состава [Mg4Fe(OH)8]Cl3·2H2O.
Материалы на основе двойного слоистого гидроксида железа-магния были выбраны в качестве носителя потому, что при изменении их состава и условий получения можно добиться изменения свойств материала в широких пределах.
В частности, можно увеличивать межслоевые пространства при замещении одних анионов другими, более крупными. Кроме того, меняя степень окисления железа можно влиять на поверхностный заряд матрицы носителя в процессе ее формирования. Таким образом, отрицательно заряженные клетки притягиваются к положительно заряженной матрице, увеличивая степень связывания клеток с носителем.
Существуют следующие способы иммобилизации микроорганизмов на матрице двойных гидроксидов Mg-Fe:
-
Соосаждением гидроксидов с микроорганизмами,
-
Осаждением гидроксидов в присутствии крупных органических анионов с последующим их замещением в структуре гидроксидов микробными клетками,
-
Интеркаляцией клеток в структуру гидроксидов на стадии окисления ионов в составе гидроксидов.
Эксперимент был направлен на выбор способа интеркаляции, определение условий ее осуществления и оценку полученных результатов.
Первым был испытан метод соосаждения двойного гидроксида Mg-Fe с микроорганизмами. Установлено, что в ходе осаждения гидроксида Fe(II)-Mg возможно повышение рН среды до 10,5, что может снижать жизнеспособность большинства видов микроорганизмов. Фенол – разлагающие микроорганизмы живут при рН от 5 до 8 с оптимумом при рН=5,5, поэтому данный способ иммобилизации не подходит.
Для реализации метода иммобилизации микроорганизмов, основанного на замещении анионов в составе двойного гидроксида, были предложены следующие органические анионы: оксалат-ион, ацетат-ион, бензоат-ион, терефталат-ион и стеарат-ион. Однако последние три иона обладают антимикробными свойствами, поэтому их применение нежелательно. Органические ионы с длинной углеродной цепью (стеарат-ион) слишком прочно связываются с матрицей носителя, поэтому их применение также ограничено. Соответственно, для практической реализации метода были рекомендованы оксалат-ион и ацетат-ион.
Известно, что межслоевые пространства способны изменять свой размер при замещении в их объеме одних ионов другими, более крупными. Возможность расширения межслоевых пространств за счет интеркаляции ионов на примере двойного гидроксида [ZnII(1-x)AlIIIx(OH)2]Clx показаны на рис. 2 (по данным [12]).
Рис. 2. Изменение межслоевых пространств двойного гидроксида в ходе обмена анионов.
П
одобный метод увеличения межслоевого расстояния применены для иммобилизации микроорганизмов. Процесс иммобилизации можно представить следующими уравнениями:
где
отрицательно заряженные клетки Bacillus sp.
Образцы приготовленного таким путем материала были испытаны в процессе разложения фенола. Оценку эффективности работы биокатализатора осуществляли по изменению концентрации фенола в среде. Все измерения проводились при одинаковой степени аэрации среды и температуре. Они показали низкую активность (рис. 3).
Следующий метод иммобилизации основан на том, что при окислении FeIIFeIII в составе гидроксидных слоев двойного гидроксида Mg-Fe в матрице материала накапливается избыточный положительный заряд. При иммобилизации микроорганизмов избыточный положительный заряд матрицы компенсируется за счет присоединения отрицательно заряженных микробных клеток
:
Полученные таким путем образцы материала обладают повышенной активностью (рис. 3), которая примерно в 1,5 раза больше, чем у свободных клеток активного ила (рис. 4). Преимущество этого метода в том, что он позволяет проводить закрепление бактерий на гидроксиде уже после его отмывки от избыточной щелочи, избегая влияния высоких рН на жизнеспособность клеток.
Рис. 4. Интенсивность разложения фенола свободным активным илом и иммобилизованным сорбентом.
Таким образом, по результатам проведенных экспериментов биокатализа был выбран метод иммобилизации клеток двойными гидроксидами Mg-Fe, основанный на процессе окисления FeIIFeIII в составе гидроксидов, как наиболее перспективный. Полученные образцы иммобилизованного сорбента обладают довольно высокой активностью в процессе разложения фенола.
Перспективным направлением интенсификации процессов биологической очистки сточных вод, основанным на адсорбционной иммобилизации, является биосорбционный метод, осуществляемый путем добавления порошкообразного или гранулированного активированного угля в зону аэрации. Добавленный материал в данном случае выполняет двойную функцию: во первых, является носителем иммобилизованных микроорганизмов; во вторых, благодаря его большой сорбционной емкости, обеспечивается быстрая адсорбция токсичного субстрата.
Поскольку фенол является трудноокисляемым соединением, был предложен именно биосорбционный метод очистки, позволяющий снизить токсическое действие фенола на микроорганизмы и повысить скорость разложения нефтепродуктов.
Далее была проведена работа по использованию биосорбционного метода для иммобилизации фенол – разлагающих микроорганизмов.
Для иммобилизации фенол – разлагающих микроорганизмов использовали предварительно отмытый гранулированный активированный уголь марки БАУ-4. Этот материал, в отличие от двойных гидроксидов, обладает повышенной емкостью как по отношению к клеткам, так и к фенолу и нефтепродуктам. Иммобилизацию проводили адсорбционным методом, прокачивая концентрированную суспензию клеток через колонку с углем в течение 4,5 часов, поддерживая режим кипящего слоя. В данном случае, закрепление микроорганизмов осуществляется только за счет адсорбционных сил, без каких-либо дополнительных механизмов связывания.
2.2 Разработка лабораторной установки
Поскольку размеры частиц активированного угля не превышают 5 мм, а размеры гранул слоистых двойных гидроксидов лежат в пределах 0,1-1 мм, для реализации процесса был предложен аппарат с псевдоожиженным слоем.
Применение взвешенного (псевдоожиженного) слоя для биологической очистки сточных вод значительно меняет традиционную технологию. Установка с псевдоожиженным слоем песчаной загрузки «Окситрон», предназначенная для биологической очистки сточных вод с применением технического кислорода, разработана совместно фирмами «Эколотрон» и «Дорр-Оливер» (США) [4]. В настоящее время этот процесс получает широкое распространение в передовых зарубежных странах.
В установке со взвешенным слоем объединены преимущества аэротенков и биофильтров. Технологическая схема включает биореактор, в котором очищаемая сточная жидкость проходит снизу вверх со скоростью, достаточной для взвешивания загрузки, находящейся в реакторе. Как и в биофильтре, популяция микроорганизмов покрывает зерна загрузки. Частицы носителя обеспечивают значительную площадь поверхности для роста микроорганизмов активного ила. Процесс стабилен при залповых нагрузках и менее подвержен токсическому влиянию загрязнений сточных вод.
Концентрация биомассы в реакторе может составлять от 12 до 40 г/л, эффективность использования подаваемого кислорода составляет до 90%. Процесс не требует разделения иловой смеси, поскольку выходящая из загрузки жидкость содержит незначительное количество взвешенных веществ.
Физико-химические методы, такие как коагуляция, окисление озоном, сорбция на активированном угле, позволяют значительно снизить остаточное содержание органических веществ, однако эти методы требуют дорогостоящих реагентов и оборудования, а термическая регенерация активированных углей сложна и связана со значительными потерями сорбента, поэтому немалый интерес представляет возможность непрерывной регенерации активированного угля в процессе очистки биологическим методом.
Результаты исследований, выполненных во ВНИИ ВОДГЕО [4] на респирометре, показали, что присутствие активированного угля в системе с активным илом не приводит к увеличению скорости потребления кислорода. В то же время по полученным данным можно сделать предположение о наличии биологической регенерации активированного угля в присутствии микроорганизмов активного ила. Использование активированного угля (порошкообразного ила гранулированного) в системах с активным илом, как правило, способствует более стабильной работе сооружений биологической очистки и обеспечивает некоторое увеличение глубины очистки как по БПК, так и по ХПК. При этом окислительная мощность сооружений возрастает.
Существенное снижение концентрации органических загрязнений, СПАВ и цветности воды происходит в результате сорбции на уголь и биохимического окисления сорбированных веществ. Эффективность снижения ХПК составляет 40-70%, БПК — 85-95%, СПАВ — 95-100%, цветности —30-40%, что существенно превосходит соответствующие показатели аэротенка.
Опыт использования лабораторной установки в течение длительного времени подтвердил возможность биологической регенерации активированного угля в процессе очистки. Стабильная непрерывная работа установки без дополнительного введения активированного угля дает возможность предполагать, что система находилась в динамическом равновесии и в ней наблюдалась непрерывная регенерация активированного угля микроорганизмами активного ила. Возможность непрерывной биологической регенерации активированного угля непосредственно в биосорбере исключает необходимость его периодической замены или пополнения.
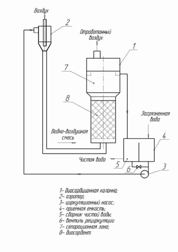
На рис. 5 представлена конструкция лабораторной установки (биосорбера) для очистки фенол-содержащих сточных вод.
Рис. 5. Лабораторная установка для очистки сточных вод от фенола.
Лабораторный биосорбер представляет собой полипропиленовую колонну диаметром 50 мм и высотой 200 мм, заполненную псевдоожиженным слоем сорбирующей загрузки (активированным углем или слоистым двойным гидроксидом железа-магния). Загрузочный материал насыпается на полиэтиленовую сетку, расположенную у дна аппарата и исключающую попадание частиц загрузки во входной трубопровод.
Для насыщения воды кислородом рядом с биосорбером предусмотрена аэрационная колонна диаметром 10 мм с аэратором типа «кольцевое сопло». Аэрационная колонна сообщается с биосорбером трубопроводом Dу=10 мм. Для предотвращения выноса частиц загрузки из аппарата в верхней части биосорбера предусмотрена сепарационная зона диаметром 100 мм и переливом высотой 20 мм. В крышке аппарата сделано отверстие для выхода отработанного воздуха.
Ниже уровня биосорбционной колонны располагаются приемная емкость и сборник чистой воды. В приемной емкости находится погружной центробежный насос, подающий воду в аэратор. Сборник и приемная емкость находятся в одном корпусе, разделенном перегородкой, не доходящей до верхнего края на 20 мм. Кроме того, в нижней части они сообщаются трубопроводом с краном рециркуляции. Это позволяет исключить неравномерность подачи и отвода жидкости, переполнение любой из емкостей, а также обеспечивает стабильность кипящего слоя и заданную кратность рециркуляции.
Установка работает следующим образом. Сточная вода подается в приемную емкость. Далее насосом она подается в аэрационную колонну, после чего поступает под псевдоожиженный слой сорбента. При контакте сточных вод с насадкой происходит очистка от фенола и других органических загрязнений в результате их адсорбции загрузочным материалом. На поверхности последнего образуются микрозоны с повышенной концентрацией органических веществ. При достаточной концентрации кислорода создаются благоприятные условия для развития микроорганизмов, осуществляющих биоокисление адсорбированных загрязнений, т. е. биорегенерацию сорбента. Избыточная масса микроорганизмов в виде взвеси потоком воды выносится из псевдоожиженного слоя в сепарационную зону и задерживается в ней, а очищенная вода собирается в лотках перелива и отводится из установки.
Данная установка позволяет проводить не только процесс очистки, но и иммобилизацию микроорганизмов в одном аппарате, без перемещения загрузки.
2.3 Отработка режимов иммобилизации и очистки
Для дальнейших исследований в качестве носителя для иммобилизации микроорганизмов был выбран активированный уголь, поскольку иммобилизованный сорбент на его основе обладает набольшей эффективностью по разложению фенола.
Поскольку лабораторный биосорбер (рис. 5) позволяет проводить иммобилизацию микроорганизмов и дальнейшее использование полученного сорбента в одном аппарате, то процесс иммобилизации клеток проводился в режиме кипящего слоя путем прокачивания концентрированной суспензии клеток микроорганизмов через колонну с носителем.
Далее был проведен эксперимент по определению оптимального времени иммобилизации. Для этого производился отбор проб жидкости из сборника и определение ее оптической плотности на фотоэлектрокалориметре ФЭК-3. Поскольку содержание микроорганизмов в жидкости пропорционально ее оптической плотности (при условии, что для культивирования используются прозрачные среды), то для определения количества иммобилизованных клеток использовали наиболее простой турбидиметрический метод. Результаты эксперимента представлены на рис.6.
Как видно из графика, количество клеток в среде уменьшается, а количество иммобилизованных клеток, соответственно, увеличивается при проведении процесса до 4,5-5 часов. То есть за это время иммобилизация проходит полностью, и проведение процесса более длительное время нецелесообразно. Увеличение оптической плотности после 5 часов работы установки, по-видимому, связано с завершением адаптации микроорганизмов и началом их интенсивного размножения.
Отработка процесса очистки сточных вод с использованием биосорбента сводится к определению удельной скорости окисления загрязняющих веществ, так как этот технологический параметр необходим для нахождения количества биосорбента, необходимого для проведения очистки конкретных стоков, а, следовательно, и объема аппарата.
Эксперимент проводился следующим образом. Навеска активированного угля m=1.953 г. помещалась в биосорбционную колонну лабораторной установки. Далее проводили иммобилизацию клеток микроорганизмов путем прокачивания концентрированной суспензии клеток через установку в течении 5 часов. Отработанную культуральную жидкость сливали и колонну выдерживали 2 часа.
Затем установка заполнялась модельным стоком (водопроводная вода с добавлением фенола в концентрации 0,056 мг/л и отработанного минерального масла в концентрации 3 мг/л). Рабочий объем жидкости в установке – 2000 мл. Далее один раз в сутки производился отбор проб объемом 1 мл и пробы анализировались на содержание фенола и нефтепродуктов. Концентрацию фенола определяли по фотометрически с использованием реактива Фолина-Чокольтеу. Содержание нефтепродуктов определяли гравиметрически, путем экстракции CCl4.















