125096 (690271), страница 5
Текст из файла (страница 5)
Таблица 8
Химстойкость СВПБ ФАМ в агрессивных средах лесохимических производств
| | Концентрация | Стойкость | |
| Вода | - | 100 | Стойки |
| Фенолы | 5 | 20 | Стойки |
| Муравьиная кислота | 90 | 100 | Стойки |
| Уксусная кислота | 100 | 60 | Стойки |
| Пропионовая кислота | - | - | Стойки |
| Масляная кислота | 100 | 120 | - |
| Серная кислота | 80 | 20 | Стойки |
| Бисульфит натрия | - | - | - |
| Этилоцетат | - | 20 | - |
| Натрий гидрат окиси | 20 | 60 | - |
| Кальций гидрат окиси | - | 60 | - |
| Калий гидрат окиси | 25 | 20 | - |
| Бензино-бутанольная смесь | - | - | - |
| Абиетиновая кислота | - | - | - |
| Метиловый спирт | 10 | 60 | - |
Вывод
-
Фурфорол, получаемый из отходов лесной и деревообробатывающей промышленности, является эффективным продуктом для производства фурфурол-ацетоновых (фурановых) смол на предприятиях лесопромышленного комплекса без особых капитальных вложений, а ФАМ на заводах химической промышленности.
-
Корпуса технологических аппаратов, емкости лесохимических производств, перечисленных в разделе 1, могут быть выполнены из стекловолокнистых или древесностекловолокнистых полимербетонов ФАМ на андезите или пиритовой муке.
-
Так как потребность в корозионностойких материалах в стране и за рубежом огромна, то лесная промышленность и лесохимические производства могут стать их основными поставщиками и получать соответствующую прибыль.
2. Переработка отходов деревообрабатывающей промышленности
2.1 Переработка мягких отходов древесины
Переработка отходов древесины в основном заключается в разделке фанерного сырья и форматной обрезке фанеры для получения опилок, которые представляют наибольший интерес, для производства плит. Исследования показали, что переработка отходов древесины очень выгодна - опилки можно применять во внутреннем слое древесностружечных плит в объеме до 50% без потери прочности и снижения других показателей ДСтП. Для этого необходимо:
наладить сбор опилок
обеспечить удаление металлических включений с помощью железоотделителей
обеспечить сортировку в СЩ-1М или рассевах типа ДРС-1М с целью удаления крупных частиц (сколов) и пыли
Переработка отходов древесины в производстве пятислойных плит используется также широко. Можно применять такое соотношение объемов: 1/3 - cредний слой из опилок или станочной стружки, 1/3 - промежуточный слой из специальной стружки и 1/3 - наружные слои из тонкой стружки, микростружки и древесной пыли. В зарубежной практике широкое распространение получила технология переработки отходов древесины (опилок, станочной стружки) и отсева щепы в волокно для наружных слоев плит путем размола на рафинерах, дефибрерах. Однако распространение такой переработки отходов древесины сдерживается большой энергоемкостью процесса размола. Лучшие результаты достигаются при переработке отходов древесины на дробилках и мельницах, вырабатывающих специальную тонкую стружку или микростружку. При переработке таких отходов древесины, как опилки, на молотковой дробилке или шаровой мельнице частицы уменьшаются по толщине и ширине в 2-3 раза по сравнению с опилками, но имеют исходную длину.
2.2 Оборудование для переработки отходов древесины
Переработка отходов древесины включает в себя и процесс получения и использования таких отходов, как мельчайшие частицы и древесная пыль. Если такие частицы не содержат коры в виде включений размером более 1 мм, то для наружных слоев они не менее эффективны, чем специально изготовленная микростружка или волокно. Технология переработки отходов древесины: опилок, станочной стружки и пыли требует применения специального оборудования - закрытой пневмосистемы для сбора отходов, специальных циклонов для отделения пыли в две стадии, малых бункеров для хранения частиц и пыли. При параллельном изготовлении фанерной продукции и древесностружечных плит такая утилизация может оказаться вполне рентабельной
Переработка и использование крупномерных отходов
Крупномерные отходы являются наиболее ценным вторичным сырьем в производстве шпона и фанеры. Их переработка возможна в товарный шпон путем долущивания или дострагивания сортиментов, в технологическую щепу путем измельчения в рубительных машинах, в технологическую стружку - в стружечных станках, в упаковочную стружку - в древошерстных станках, а также в пилопродукцию и товары народного потребления - на станках общего назначения.
Переработка отходов в товарный шпон
От 3 до 6% сырья могут составлять некондиционные кряжи и чураки, отбракованные по наличию ядровой гнили или загнивающего ложного ядра, что препятствует их лущению в станках, оснащенных обычными кулачками. Для такого сырья разработаны методы центровки в лущильных станках специальными зажимными элементами - планшайбами, которые передают осевое усилие со шпинделей на периферийную, здоровую часть чурака. Диаметр планшайбы должен быть не менее диаметра чурака. Для обеспечения нормального процесса лущения на суппорте станка установлена выносная траверса с лущильным ножом, длина которого меньше длины чурака, а по концам траверсы и ножа закреплены подрезающие ножи.
Рис. 10.1. Схемы лущения чурака с гнилью в начальный (а) и конечный (б) моменты обработки: 1 - подрезающие ножи, 2 - шпиндель, 3 - зажимной элемент, 4 - чурак, 5 -суппорт, 6 - гниль, 8 - лущильный нож, 9 - карандаш.
При лущении подрезающие ножи производят опережающее перерезание волокон - вырезают канавки, глубина которых равна толщине шпона. Лущение ведут до такого диаметра карандаша, при котором на нем остается кольцо здоровой древесины минимальной толщины, а сам карандаш имеет вид катушки. Опыт показал, что величина смещения лезвия лущильного ножа и выносной траверсы от корпуса ножедержателя должна составлять 140 - 150 мм, длина торцовых шайб - 90 - 100 мм, а наименьшая толщина кольца здоровой древесины карандаша - 10 - 15 мм. При этом способе получают неформатный шпон из-за уменьшенной длины зоны лущения.
Значительный эффект в использовании некондиционного сырья дает использование бесшпиндельных лущильных станков. Наилучшие результаты они дают при долущивании карандашей (см. рис.4.6). Долущивание карандашей возможно и на малых лущильных станках типа СпЛУ. Перед этим они распиливаются на три или две заготовки. Долущивание позволяет уменьшить диаметр карандашей с 80 - 100 мм до 45 - 70 мм и получить дополнительно от 0,2 до 0,6 м3 шпона на каждые 100 штук карандашей длиной 0,8 м. Заслуживает внимания способ, разработанный в Японии, который состоит в том, что карандашам на специальном станке путем строгания сначала придаётся шестигранная форма. Затем семь таких брусков специальным клеем склеивают в блок, имеющий форму чурака, пригодного для лущения на обычном лущильном станке. В производстве строганого шпона самым ценным вторичным продуктом являются отструги твердолиственных пород, максимальные размеры которых могут составлять до 3000 х 300 х 70 мм. Для получения из них дополнительного шпона существует несколько способов.
Первый способ предусматривает крепление отстругов на столе шпонострогального станка специальными крюками толщиной 7 - 8 мм, что позволяет обеспечить их строгание с толщины 60 - 70 мм до толщины 15 - 20 мм. Второй способ связан с реконструкцией станка, на котором устанавливается плита с системой присосов и манжетами. Включение вакуум - насоса создает разрежение, и отструги плотно прижимаются к столу с усилием 100 - 150 кН, после чего могут строгаться до толщины 5 - 10 мм. Третий способ основан на соединении нескольких отстругов в один блок с помощью деревянных нагелей или специальным клеем. Соединение на клею более перспективно, так как дает более высокий выход шпона, и более безопасно, чем при использовании нагелей. Клей КМ - 2 на основе смолы СМ 60 - 08 обеспечивает склеивание древесины влажностью до 80 - 90%. Он наносится на обе склеиваемые поверхности в количестве 200 - 250 г/м2. Количество отстругов в блоке определяется средней высотой ванчеса и возможностями оборудования. Блоки склеивают в струбцинах при совмещении операций склеивания и гидротермической обработки при давлении не менее 0,17 МПа. После этого блоки обрезают с четырех сторон с целью образования достаточно ровной плоскости прилегания блоков при их креплении в станке. Выход строганого шпона из склеенного блока составляет 50 -56 %.
2.3 Переработка отходов в технологическую щепу
ГОСТ 15815 - 83 предусматривает следующие марки щепы в зависимости от ее назначения:
Ц-1 для производства сульфитной целлюлозы и древесной массы, предназначенной для изготовления бумаги с регламентируемой сорностью;
Ц-2 - то же для бумаги и картона с нерегламентируемой сортностью и для производства сульфатной и бисульфатной целлюлозы, предназначенной для изготовления бумаги и картона с регламентируемой сорностью;
Ц-3 - для производства сульфатной целлюлозы и различных видов полуцеллюлозы, предназначенной для изготовления бумаги и картона с нерегламентируемой сорностью;
ГП-1 для производства спирта, дрожжей, глюкозы и фурфурола;
ГП-2 для производства пищевого кристаллического ксилита;
ГП-3 для производства фурфурола и дрожжей при двухфазном гидролизе;
ПВ - для производства древесноволокнистых плит; ПС - для производства древесностружечных плит.
Показатели качества щепы зависят от её марки (табл. 9).
Таблица 9
Показатели качества технологической щепы.
| Показатель | Ц-1 | Ц-2 | ц-з | ГП-1 | ГП-2 | гп-з | ПВ | ПС | ||
| Массовая доля коры, %, не более | ||||||||||
| 1 | 1,5 | 3 | 11 | 3 | 3 | 15 | 15 | |||
| Массовая доля гнили, %, не более | ||||||||||
| 1 | 3 | 7 | 2,5 | 1 | 1 | 5 | 5 | |||
| Массовая доля минеральных примесей, | ||||||||||
| % | - | 0,3 | 0,3 | 0,5 | - | 0,3 | 1 | 0,5 | ||
| Остаток, % не более, на ситах с диа- | ||||||||||
| метром, мм: | ||||||||||
| 30 | 3 | 5 | 6 | 5 | 5 | 5 | 10 | 5 | ||
| 20 и 10 | 86 | 84 | 81 | 90 | 90 | 94 | 79 | 85 | ||
| 5 | 10 | 10 | 10 | - | - | - | 10 | - | ||
| на поддоне | 1 | 1 | 3 | 5 | 5 | 1 | 1 | 10 | ||
| Обугленные частицы | Не допускаются | |||||||||
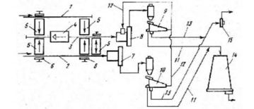
Для плитного производства можно использовать все лиственные породы или их смесь с хвойными в любом соотношении. ЦНИИФ рекомендует двухпоточную технологию переработки крупномерных отходов фанерного производства (рис.10).
Рис. 10. Схема переработки крупномерных отходов на технологическую щепу:
Среда















