125086 (690268), страница 5
Текст из файла (страница 5)
Черт.3
Отрыв каблука производят на разрывной машине с помощью специальных приборов-приспособлений. Скорость опускания нижних зажимов должна быть 100 мм/мин. Предельная нагрузка разрывной машины по соответствующей шкале не должна превышать нагрузку отрыва более чем в 10 раз.
ПОДГОТОВКА К ИСПЫТАНИЮ
1. На каждую испытуемую полугару обуви маркируют порядковым номером на ходовой или боковой поверхности каблука.
2. При наличии язычка подошвы, укрепленного на фронтальной части каблука, каблук перед испытанием отделяют.
3. Отрыв каблука или набоек, прикрепленных клеевым способом, производят не ранее чем через 24 ч после приклеивания.
ПРОВЕДЕНИЕ ИСПЫТАНИЙ
Определение прочности крепления низкого каблука и набойки.
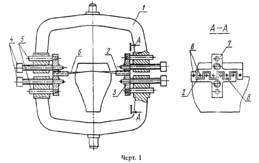
1. Обувь, обращенную каблуком вверх, подводят к иглам нижней скобы прибора (см. черт. 3). Вращением винтов вводят всю выступающую длину иглы нижней скобы между каблуком и подошвой либо между каблуком и набойкой по линии их разделения. Включив разрывную машину, сближают нижнюю и верхнюю скобы прибора до совмещения пластин, при этом выступы должны войти в зацепление с пазами, а иглы верхней скобы должны быть на одной линии с иглами нижней скобы. Вращением винтов сближают иглы верхней скобы, вводят их в обувь по линии разделения каблука и подошвы или каблука и набойки. Включив разрывную машину на растяжение, производят отрыв каблука или набойки. Прочность крепления определяют как до полного отрыва, так и доведением нагрузки отрыва до прочности крепления, предусмотренной нормативно-технической документацией на соответствующую обувь.
При определении прочности крепления без полного отрыва растяжение производят до достижения нормативной нагрузки прочности, затем разрывную машину переключают на сближение верхней и нижней скобы, снимают напряжение и освобождают обувь от игл.
ОБРАБОТКА РЕЗУЛЬТАТОВ
1. Прочность крепления каблука и набойки определяют величиной нагрузки, требуемой для их отрыва. Нагрузку отмечают по шкале разрывной машины с точностью 0,5 кгс.
2. Форма записи при определении прочности крепления каблука приведена в таблице 8.
ФОРМА ЗАПИСИ РЕЗУЛЬТАТОВ ИСПЫТАНИЙ ПРОЧНОСТИ КРЕПЛЕНИЯ КАБЛУКА
Таблица 8.
| Показатели | Полупара | |
| Правая | левая | |
| Дата отбора образца Номер анализа Вид, год, фасон обуви Высота каблука Материал каблука Характеристика крепителей а) гвозди: тип длина количество б) клей вид Прочность крепления в кгс: а)при отрыве каблука б)при нормативной прочности без нарушения крепления каблука Характер отрыва каблука | ||
5. Описание испытательной лаборатории
Испытательная лаборатория «Эксперт» является независимой организацией. В область деятельности испытательной лаборатории входят испытания по безопасности обуви детской.
В обязанности лаборатории входит проведение испытаний таким образом, чтобы выполнялись требования стандарта ИСО 17025 и удовлетворялись потребности потребителя, регулятивных органов или организаций, осуществляющих официальное признание.
Испытательная лаборатория обязана:
-
исполнять соответствующие требования ГОСТ ИСО/МЭК 17025 – 2005 и стандарта ГОСТ Р 51000.4-96;
-
создавать необходимые условия для проведения аккредитующим органом инспекционного контроля за деятельностью испытательной лаборатории, повторной аккредитации испытательной лаборатории и принятия решения по жалобам, включая доступ уполномоченных аккредитующим органом лиц к документации, персоналу и всем сферам деятельности;
-
заявлять о своей аккредитации только в отношении деятельности, включенной в область аккредитации;
-
не использовать свою аккредитацию таким образом, который мог бы подорвать доверие к аккредитующему органу;
-
не делать заявлений относительно своей аккредитации, которые могли бы ввести в заблуждение потребителей ее услуг или органов управления;
-
после приостановления или отмены аккредитации не делать никаких заявлений, которые содержат ссылку на нее, вернуть все документы, которые потребовал аккредитующий орган;
-
не допускать использования аккредитации таким образом, который позволил бы предположить, что результаты испытаний, полученные испытательной лабораторией, одобрены аккредитующим органом.
Лаборатория «Эксперт» должна располагать необходимой документацией и сведениями, касающимися квалификации, практического опыта и подготовки кадров. Большое внимание в испытательной лаборатории «Эксперт» уделяется мероприятиям по повышению квалификации персонала. Они проводятся как для новых, так и для опытных сотрудников.
Испытательная лаборатория «Эксперт» оснащена средствами измерений, испытаний и контроля, а также расходными материалами. Для правильного проведения испытаний и измерений, что требуется для признания ее компетентности. В исключительных случаях можно на договорных условиях применять оборудование, не принадлежащее лаборатории, притом, что это оборудование аттестовано, а средства измерений поверены в установленном порядке. Данные по оснащенности техническими средствами испытаний приводятся в руководстве по качеству.
Оборудование лаборатории, в том числе и средства измерений, должны использоваться по назначению. Документация по его эксплуатации и техническому обслуживанию должна быть доступна. Неисправное оборудование, которое дает при испытании сомнительные результаты снимается с эксплуатации и отмечается соответствующим образом, указывающим его непригодность. Такое оборудование хранится в специально отведенном месте до тех пор, пока оно не будет отремонтировано и его пригодность не будет подтверждена с помощью испытаний. Каждая единица оборудования для испытания или измерения имеет регистрационную карточку, содержащую следующие сведения:
- наименование оборудования;
- наименование изготовителя, тип (марка), заводской и инвентарный номер;
- даты получения и ввода в эксплуатацию;
- месторасположение в настоящее время;
- состояние на момент получения (новое, изношенное, с продленным сроком действия);
- данные о ремонте и обслуживании;
- описание всех повреждений или отказов, переделок или ремонта.
Калибровка или поверка измерительного или испытательного оборудования при необходимости проводится перед вводом его в эксплуатацию и далее в соответствии с установленной программой. Общая программа калибровки оборудования обеспечивает прослеживаемость измерений, проводимых лабораторией на соответствие национальным и международным образцовым средствам измерений, если таковые существуют. При необходимости испытательное оборудование может подвергаться контролю между периодическими повторными калибровками.
Оборудование эксплуатируется уполномоченным персоналом. В Лаборатории «Эксперт» установлены процедуры по безопасному обращению, транспортированию, хранению, использованию и плановому обслуживанию измерительного оборудования для обеспечения надлежащего функционирования. Испытательное и калибровочное оборудовании, включая аппаратные средства и программное обеспечение, должно быть защищено от юстировок, которые могут сделать недействительными результаты испытаний и калибровок.
Помещения испытательной лаборатории «Эксперт» обеспечивают условия, неспособные отрицательно повлиять на точность и достоверность испытаний. Помещения проведения испытаний защищены от воздействия таких факторов, как повышение температуры, пыль, влажность, пар, шум, вибрация, электромагнитные возмущения, и отвечает требованиям применяемых методик испытаний, санитарных норм и правил, а также безопасности труда и охраны окружающей среды. Помещение достаточно просторное, чтобы устранить риск порчи оборудования и возникновения опасных ситуаций, обеспечить сотрудникам свободу перемещения и точность действий. Помещения для испытаний оснащены требуемыми оборудованием и источниками энергии, а при необходимости – устройствами для регулирования условий, в которых проводятся испытания. Доступ к зонам испытаний и их использование соответствующим образом контролируется. Также определены условия допуска лиц, не относящихся к персоналу данной лаборатории. Это еще одно из условий обеспечения конфиденциальности информации о деятельности лаборатории для третьих лиц. В лаборатории приняты соответствующие меры по обеспечению порядка и чистоты. План (рис.) испытательной лаборатории «Эксперт» приведён в приложении А.
6. Подготовка документов к аккредитации на техническую компетентность и независимость
Успешная сертификация соответствия возможна только при высокой компетенции участников сертификации в проведении испытаний и поверок, их взаимном доверии друг другу. Заявитель доверяет органу по сертификации и испытательной лаборатории, которые дают заключение на его продукцию, испытательная лаборатория – органу по сертификации, и наоборот. Таким образом для определения беспристрастности, независимости и компетенции участников сертификации необходим соответствующий механизм.
Определение аккредитации, согласно Руководству ИСО/МЭК 2, гласит, что это официальное признание того, что испытательная лаборатория (орган по сертификации) правомочна осуществлять конкретные испытания или конкретные типы испытаний.
Основные цели аккредитации:
- повышение качества работы и укрепления доверия к испытательным лабораториям со стороны заявителя;
- обеспечение конкурентоспособности продукции и услуг на внутреннем и внешнем рынках;
- признание результатов испытаний и сертификатов соответствия на национальном, европейском и мировом уровнях.
Данные цели предполагают решение следующих задач в области аккредитации:
- установление единых требований к испытательным лабораториям и органам по сертификации;
- установление общих правил аккредитации и требований к органам по аккредитации;
- создание национальных систем аккредитации, соответствующих международным нормам;
- сотрудничество национальных структур по аккредитации на международном уровне и внутри страны.
Развитие процесса аккредитации испытательных лабораторий и органов по сертификации в России началось с введением системы сертификации ГОСТ Р в 1992 г. Данная система охватывала вопросы не только по сертификации, но и аккредитации. Однако, это противоречило международной практике, где, как правило, сертификация и аккредитация не существуют в рамках одной системы. В 1995 г. Началась работа по созданию самостоятельной Российской системы аккредитации. Для этой цели был сформирован Межведомственный совет, в состав которого вошли специалисты министерств и ведомств, заинтересованных в решении проблем аккредитации. В настоящее время подготовлена правовая и методическая основа Российской системы аккредитации. Она максимально гармонизирована с Руководствами ИСО/МЭК в области аккредитации и европейскими нормами серии EN 45000. Структура Российской системы аккредитации приведена на рис. 4.
Рис. 4
Аккредитация, как и сертификация, проводится в законодательно регулируемой и нерегулируемой областях. Аккредитация органов по сертификации и испытательных лабораторий, работающих в системах обязательной сертификации, относится к регулируемой законом области.
Основные принципы и подходы к созданию Системы аккредитации Российской Федерации изложены в проекте федерального закона «Об аккредитации организаций в сферах деятельности по оценке соответствия продукции и услуг нормативным требованиям», подготовленном в соответствии с постановлением Правительства российской Федерации. Огран по аккредитации управляет системой аккредитации и проводит соответствующую процедуру. Организация, претендующая на право стать органом по аккредитации, должна иметь: определенный юридический статус; финансовую стабильность; организационную структуру; площади и оборудование; квалифицированный персонал; необходимые нормативные документы на критерии и процессы аккредитации; систему обеспечения качества аккредитации.
В настоящее время аккредитацию испытательных лабораторий и органов по сертификации в РФ осуществляют подразделения ФАТР в обязательной области.
Типовая схема органа по аккредитации приведена на рис. 5.















