124717 (690128), страница 2
Текст из файла (страница 2)
(13)
Рис. 4.1. Токонесущая полоска фильтра
Определим геометрические размеры подложки, для этого вычислим общую длину токонесущей полоски фильтра. Общая длинна полоски фильтра равна 74,7 мм. Выберем размер подложки, табл. П.3 [2]. Размеры подложки: габариты 75х48 мм; толщина – 1±0,05 мм.
Определим предельную частоту. Частота, на которой происходит интенсивное возбуждение поверхностных волн низшего типа, является предельной частотой использования микрополосковой линии в конкретных конструкциях и определяется соотношением:
(14)
где h – толщина подложки, в мм;
fпр – предельная частота, в ГГц;
εr – относительная диэлектрическая проницаемость.
Подставив значения, получим:
ГГц (15)
На практике fпр получается в 4 – 5 раза меньше, чем рассчитанная, это объясняется тем, что в теории не учитывается влияние различных неоднородностей.
3. Выбор корпуса
В процессе хранения и эксплуатации устройства СВЧ подвергаются воздействию различных внешних факторов: механических, климатических. Для уменьшения влияния этих факторов на работоспособность устройств, осуществляют её защиту.
Основным способом защиты устройств СВЧ от воздействия дестабилизирующих факторов (температуры, влажности, плесневых грибков, агрессивных химических сред, механических воздействий) является герметизация. Её осуществляют с помощью специально разработанных корпусов.
В зависимости от условий хранения и эксплуатации к корпусам устройств СВЧ предъявляются различные требования: достаточная механическая прочность, позволяющая выдерживать нагрузки при сборке и эксплуатации; минимальные габариты, для обеспечения компактности сборки; конструкция корпуса должна позволять легко и надёжно выполнять электрические соединения внутри корпуса; обеспечивать минимальные паразитные параметры, надёжную изоляцию элементов, герметичность, минимальное тепловое сопротивление между подложкой и окружающей средой; защищать устройство от воздействий электромагнитного поля, света; иметь минимальную стоимость.
В связи с необходимостью обеспечения хорошего электрического контакта экранирующих трактов, а также компонентов микросборки с экранирующими металлическими слоями подложек одним из конструктивных требований к монтажу таких устройств, является необходимость многократной пайки в блоке без выведения из строя уже выполненных соединений.
Рис. 5.1. Конструкция герметичного СВЧ соединителя.
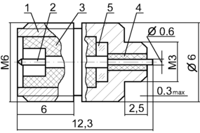
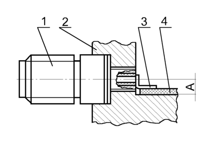
Выводы СВЧ сигнала из гермообъёма выполняются с помощью коаксиального микрополоскового герметичного соединения рис. 5.1. Где 1 – корпус; 2 – штырь; 3,4 – изоляционные втулки; 5 – стекло. Для герметизации штыря соединителя используется металлостеклянный спай, для этого применяют твёрдые стёкла с коэффициентом теплового расширения α=(45…55)·10-7, 1/0с. Чаще всего в качестве материалов корпуса используют ковар (α=47·10-7, 1/0с, Fe - 54%, Ni – 29%, Co – 17%, обладает хорошей теплопроводностью) и молибден (α=55·10-7, 1/0с). Эти материалы образуют хороший спай с твёрдыми стёклами. Соединитель герметизируется опайкой, электрические соединения между СВЧ микросборками и гермосоединителем осуществляются перемычками из фольги, как показано на рис. 5.2. Где 1 – соединитель; 2 - корпус блока; 3 – перемычка; 4 – СВЧ микросборка. Расстояние А от плоскости установки микросборки до оси гермосоединителя зависит от способа крепления микросборок и толщины подложек табл. 2.6 [2]. В данной курсовой работе используется подложка толщиной 1 мм и способ крепления подложки к корпусу – приклейка, для этих данных коэффициент А равен 1,6±0,05 мм.
Рис. 5.2. Монтаж СВЧ соединителя.
Вычислим конструктивные размеры для микрополосковой линии. Расстояние до верхнего экрана выбирается из условия:
(5.1)
где b – расстояние между нижним и верхним экраном корпуса;
h – толщина диэлектрика.
Подставив значения, получим, что b=6 мм.
Минимальное расстояние между боковыми экранами определяется по формуле:
(5.2)
где a – ширина между боковыми экранами;
W – максимальная ширина токонесущей пластинки.
Подставив значения получим, a = 3·8,7 = 26,1 мм.
Корпус для данного ФНЧ фильтра показан на рис. 5.3. Где 1 – СВЧ соединители; 2 – перемычки; 3 – СВЧ микросборка.
Рис. 5.3. Корпус ФНЧ фильтра.
Для уменьшения напряжений, вызванных изменением температуры окружающей среды и (или) СВЧ устройства, между корпусом и подложкой прокладывается медная сетка. В следствие этих напряжений, возможно разрушение подложки. Эта сетка, также будет играть роль контакта, между корпусом и нижней металлизированной стороной подложки. Для соединения корпуса с сеткой, а также сетки с подложкой используется пайка. Общая герметизация СВЧ устройства, достигается с помощью пайки по контуру верхнего экрана (крышки). Крепление подложки к корпусу, а также крепление верхнего экрана показано на рис. 5.4. Где, 1 – верхний экран (крышка); 2 – подложка; 3 – корпус.
Рис. 5.4. Крепление подложки и верхнего экрана (крышки) к корпусу.
Заключение
Во время выполнения данной курсовой работы были освоены методики конструкционных расчётов устройств СВЧ. Проведен расчет фильтра низкой частоты СВЧ устройства. Сделан анализ и разработана конструкция микросборки. Таким образом, все требования технического задания были выполнены.
Список литературы
-
Голубев В. И., Ковалев И. С., Кузнецов Е. Г. и др. «Конструирование и расчет полосковых устройств», М. – 1974.
-
Конструирование экранов и СВЧ устройств/ сост.: Васильев Е.П. Захарьящев Л.И. – Рязань: РРТИ 1984 г. 36с.
-
Конструирование тонкоплёночных гибридных микросборок/ сост.: Клочков А.Я., Дьяков С.Н., Чистяков В.В. – Рязань: РГРТА 2002. 160с.















