124563 (690070), страница 2
Текст из файла (страница 2)
4.1 Разработка графических методов обработки, основных узлов изделия.
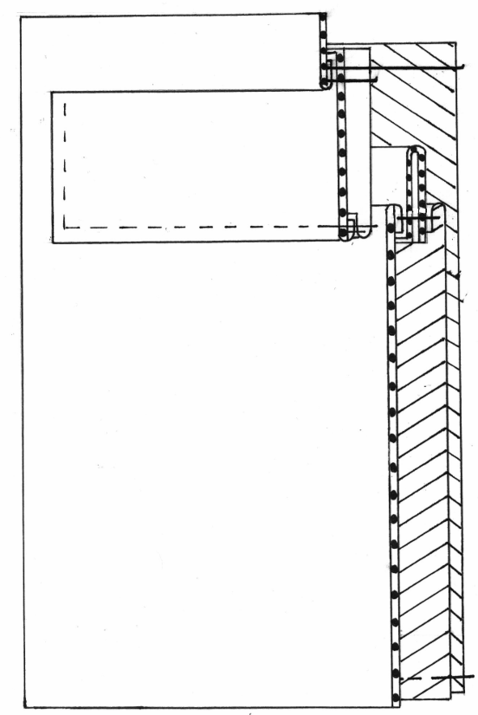
Рисунок№3 А-АУзел обработки воротника
Рисунок№4 Б-Б Узел обработки шлицы рукава
1. Стачать локтевые срезы рукавов
2. Пришить пуговицы на рукава
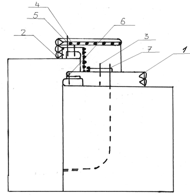
Рисунок№5 В-В Узел обработки застежки на брюках.
-
Обметать срез откоска
-
Обметать внутренний срез гульфика.
-
Притачать правую часть застежки «молния» к откоску.
-
Притачать левую сторону застежки « молния» к левой передней части брюк.
-
Притачать « застежку «молния» к гульфику.
-
Обтачать левую сторону брюк обтачкой.
-
Настрочить отделочную строчку по застежке, на передней левой половине брюк, одновременно делая закрепку.
Рисунок№6 Д-Д Узел обработки кармана в брюках
-
Обметать подзор кармана
-
Настрочить подзор к подкладке кармана на лицевую сторону.
-
Обметать боковой срез передней половины брюк.
-
Застрочить верхний срез кармана.
-
Стачать подкладку кармана.
-
Стачать боковые срезы брюк.
-
Обметать боковой срез и подкладку кармана.
Рисунок№7 Г-Г Узел обработки борта.
-
Обтачать борта подбортами.
-
Притачать подкладку к подбортам
-
Прокладывание отделочной строчки шву соединения подборта и подкладки.
4.2 Характеристика оборудования и средств малой механизации
Для ТПО было выбрано оборудование с оптимальной производительностью, что обеспечивает высокое качество изделий.
Предлагается оборудование одной фирмы – «Джуки» (Япония). Оно отвечает всем современным требованиям к оснащению цеха:
-
Позволяет обеспечить высокое качество изделия независимо от квалификации оператора;
-
Позволяет изготавливать изделия с любыми модельными особенностями;
-
Высокая степень автоматизации (автоматическая обрезка ниток, автоматическая смазка, обрезание срезов, дифференциальные верхний и нижний транспортеры, обеспечивающие сборку и т.д.);
-
Снижение эксплуатационных затрат при обслуживании и взаимозаменяемость комплектующих деталей;
-
Легкая осваиваемость, простота обслуживания;
-
Экономия финансов при приобретении оборудования (предприятие дает большую скидку на приобретение и последующий сервис).
Таблица 2 – Характеристика оборудования, приспособления малой механизации
| Класс машины, завод – изготовитель | Технологическое назначение машины, обрабатываемые материалы | Тип стежка | Частота вращения главного вала, мин-4 | Длина стежка, мм | Иглы ГОСТ 22249 | Нитки ГОСТ шелк | Нитки ГОСТ армированные | Толщина соединяемых материалов, мм | Дополнительные данные | |||||||
| 1 | 2 | 3 | 4 | 5 | 6 | 7 | 8 | 9 | 10 | |||||||
| Juki LK – 1900 ASS /ip-200 | Закрепочная машина с компьютерным управлением, легкие, средние костюмные ткани | 3000 | 0,1-1,0 | DPх5 (#14) ГОСТ 0277 | 65 | 35 ЛЛ | 3,0-4,0 | Устройство зажима игольной нити, механизм обрезки нити, Автоматический подъем лапки | ||||||||
| Juki AMB-289 | Однониточная машина цепного стежка для пришивания пуговиц, для средних костюмных тканей | 3000 | В автоматич. Реж. | ГОСТ 0519 | 65 | 44 ЛХ-I | 4,5 | Электронная система управления натяжением нитки, возможность сохранения в памяти, регулировка длины остатка нитки, предотвращение износа нитки, снижение появления масляных пятен, приспособление для подачи пуговиц, повышенная надежность конструкции, возможность пришивания разнообразных пуговиц | ||||||||
| Juki DDL-8700-7-WB/AK85 | Одноигольная машина челночного стежка, для средних тканей | 301 | 5500 | 5 | DB •1 (#14)#99#18 ГОСТ 0277 | 65 | 44 ЛХ-I 45-ЛЛ 36 ЛХ 35 ЛЛ | 5,5 | Автоматическая обрезка ниток, автоматическая смазка, компьютерное управление | |||||||
| Juki DP-2100 | Одноигольная машина челночного стежка для втачивания рукавов (с сухой головой), костюмные ткани | 301 | 3500 | 6 | DPX 17 #10~#14 ГОСТ 0277 | 65 | 44 ЛХ-I 45-ЛЛ 36 ЛХ 35 ЛЛ | 5,5 | Компьютерное управление, возможность выбора режима – автомат, полуавтомат и ручной, не требует смазки | |||||||
| Juki LBH-1790s/ip-200 | Одноигольная машина челночного стежка для выполнения петель, средние костюмные ткани | 4200 | В автоматич. Реж. | DP 5 (#11J) #11J~#14J ГОСТ 0277 | 65 | 36 ЛХ | 5,5 | Компьютерное управление, новый механизм обрезки ниток, | ||||||||
| Juki MFB-2600HHMU | Двухигольная трехниточная машина цепного стежка для изготовления шлевок, для средних и тяжелых костюмных тканей | 301+301 | 5000 | 3,4 | ГОСТ 0277 | 65 | 36 ЛХ | 5,5 | ||||||||
| Juki MO-6716S-FH6-6ОН | Двухигольная пятиниточная стачивающе – обметочная машина цепного стежка, средние костюмные ткани | 504+401 | 7000 | 3,6 | ГОСТ 0519 | 65 | 36 ЛХ 35 ЛХ | Автоматическая смазка, автоматический подъем лапки, автоматическая обрезка ниток | ||||||||
| Juki MO-6914S-BE4-307/LB4/MC40 | Двухигольная краеобметочная машина цепного стежка, костюмные ткани | 504 | 8000 | 4 | DC*27 #11 ГОСТ 0037 | 65 | 36 ЛХ 35 ЛХ | 6,5 | Полуавтоматическое устройство захвата нитки и затягивания ее в шов, устройство отсоса обрезков материала, автоматический подъем лапки | |||||||
| Juki СВ-640/NP/Т003 | Машина для подшивания низа изделия потайным однониточным цепным стежком, костюмные ткани | 103 | 2500 | 3-8 | LWх6T | 65 | 36 ЛХ | 9 | Устройство для обрезки ниток, устройство для позиционирования иглы | |||||||
Таблица 3– Характеристика оборудования влажно – тепловой обработки
| Марка (тип) оборудования, предприятие - изготовитель | Техноло гическое назначение | Усилие прессования кг/см2 | Установленная мощность, кВТ | Температура гладильных подушек, °С | Габариты оборудования, мм | ||||||||
| 1 | 2 | 3 | 4 | 5 | 6 | 7 | 8 | ||||||
| Электро паровой утюг Juki JVB-909/JMB-151V (плоская и выпуклая подушки, запоминание 10 типовых операций, програм мирование силы и момента всасывания) | Для внутри процессной ВТО | Электродвигатель 600 ВТ, нагреватель 2 кВТ | 130-180 | Высота 740-810 мм | |||||||||
| Пресс Juki JNS-2400 (Управление микро ЭВМ, паронагревание для верхних и для нижних утюгов) | Для внутри процессной и окончательной ВТО | 1100 | 200 в, 0,2 кВТ/час | 120-190 | Ш 1200-1500 | Г1245 | В 1330 | ||||||
4.3 Выбор вариантов методов обработки для заданного узла модели изделия
Рисунок № 8 Узел № 1.
Рисунок № 9Узел № 2.
Рисунок № 10Узел № 3
5. Разработка технологической документации
5.1 Разработка технологической последовательности на заданный узел изделия.
Таблица №4 Технологическая последовательность обработки кармана узел № 1
| Наименование операции | специальность | разряд | Затраты времени | Оборудование, спецприспособления |
| Обтачать верхний клапан нижним | М | 3 | 36 | Juki DDL-8700-7-WB/AK85 |
| Настрочить отделочную строчку по клапану | М | 3 | 34 | Juki DDL-8700-7-WB/AK85 |
| Нанесение месторасположения листочки и клапана на левой части переда | Р | 4 | 25 | Мел, лекало |
| Притачивание подкладки кармана к листочке | М | 3 | 18 | Juki DDL-8700-7-WB/AK85 |
| Настрачивание листочки на перед. | М | 5 | 20 | Juki DDL-8700-7-WB/AK85 |
| Настрачивание клапана на перед | М | 5 | 20 | Juki DDL-8700-7-WB/AK85 |
| Разрезание входа в карман | Р | 4 | 20 | Ножницы |
| Вывернуть листочку, и клапан | Р | 4 | 12 | |
| Закрепить уголки листочки и кармана | М | 4 | 25 | Juki DDL-8700-7-WB/AK85 |
| Притачать подкладку кармана к шву притачивания клапана | М | 4 | 15 | Juki DDL-8700-7-WB/AK85 |
| Стачать подкладку кармана | М | 4 | 30 | Juki DDL-8700-7-WB/AK85 |
| Приутюжить карман в готовом виде | У | 4 | 10 | Электропаровой утюг Juki JVB-909/JMB-151V |
| Итого | 265 с | |||
Таблица №5 Технологическая последовательность обработки кармана узел № 2
| Наименование операции | специальность | разряд | Затраты времени | Оборудование, спецприспособления |
| Обтачать верхний клапан нижним | М | 3 | 36 | Juki DDL-8700-7-WB/AK85 |
| Настрочить отделочную строчку по клапану | М | 3 | 34 | Juki DDL-8700-7-WB/AK85 |
| Нанесение месторасположения листочки и клапана на левой части переда | Р | 4 | 25 | Мел, лекало |
| Настрачивание листочки на перед. | М | 5 | 20 | Juki DDL-8700-7-WB/AK85 |
| Настрачивание клапана на перед | М | 5 | 20 | Juki DDL-8700-7-WB/AK85 |
| Разрезание входа в карман | Р | 4 | 20 | Ножницы |
| Вывернуть листочку, и клапан | Р | 4 | 12 | |
| Закрепить уголки листочки и кармана | М | 4 | 25 | Juki DDL-8700-7-WB/AK85 |
| Притачать подкладку кармана к шву притачивания клапана | М | 4 | 15 | Juki DDL-8700-7-WB/AK85 |
| Стачать подкладку кармана | М | 4 | 30 | Juki DDL-8700-7-WB/AK85 |
| Приутюжить карман в готовом виде | У | 4 | 10 | Электропаровой утюг Juki JVB-909/JMB-151V |
| Итого | 247 с | |||
Таблица №6 Технологическая последовательность обработки кармана узел № 3
| Наименование операции | специальность | разряд | Затраты времени | Оборудование, спецприспособления |
| Обтачать клапан | М | 3 | 15 | Juki DDL-8700-7-WB/AK85 |
| Настрочить отделочную строчку по клапану | М | 3 | 34 | Juki DDL-8700-7-WB/AK85 |
| Нанесение месторасположения листочки и клапана на левой части переда | Р | 4 | 25 | Мел, лекало |
| Настрачивание листочки на перед. | М | 5 | 20 | Juki DDL-8700-7-WB/AK85 |
| Настрачивание клапана на перед | М | 5 | 20 | Juki DDL-8700-7-WB/AK85 |
| Разрезание входа в карман | Р | 4 | 20 | Ножницы |
| Вывернуть листочку, и клапан | Р | 4 | 12 | |
| Закрепить уголки листочки и кармана | М | 4 | 25 | Juki DDL-8700-7-WB/AK85 |
| Притачать подкладку кармана к шву притачивания клапана | М | 4 | 15 | Juki DDL-8700-7-WB/AK85 |
| Стачать подкладку кармана | М | 4 | 25 | Juki DDL-8700-7-WB/AK85 |
| Приутюжить карман в готовом виде | У | 4 | 10 | Электропаровой утюг Juki JVB-909/JMB-151V |
| Итого | 221 с | |||
5.2 Разработка инструкционной карты на оптимальный вариант обработки узла
















