124458 (690017), страница 2
Текст из файла (страница 2)
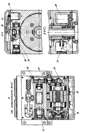
Максимально допустимый промежуток времени между считыванием стробирующего сигнала и фактическим включением электромагнита 3 должен быть не более значения R1, указанного в таблице. Вращение головки происходит до тех пор, пока предварительный фиксатор, приводимый в действие электромагнитом, попадет в фиксирующий паз муфты. Этот момент регистрируется пропаданием сигнала от датчика контроля индексации 4, который останавливает двигатель 1. По истечении времени Т2 двигатель должен начать вращаться в противоположном направлении. Наличие кодового сигнала выбранной позиции, поступающего от преобразователя угловых перемещений 6, и сигнала от датчика роля индексации 4 свидетельствует о правильной предварительной фиксации головки. Отсутствие одного из сигналов означает ошибку позиционирования. При поступлении сигнала от датчика 5 происходит фиксация револьверной головки. Это сигнал используется одновременно для остановки двигателя 1 и для срабатывания тормоза 2, при этом снимается напряжение с обмотки тормоза.
Максимальное время рассогласования от момента поступления сигнала с датчика 5 до момента фактического останова двигателя может быть не более значения R2, приведенного в таблице. После завершения останова двигателя может даваться сигнал на пуск станка. По истечении времени Т3, после поступления сигнала от датчика 5 электромагнит 3 отключается, при этом предварительный фиксатор выходит из фиксирующего паза, что контролируется появлением сигнала от датчика 4. На этом цикл индексации завершается, и головка готова к следующему циклу.
Н
аличие в головке нескольких вращающихся осевых и радиальных инструментов с большим вылетом ограничивает технологические возможности станка, затрудняет программирование, которое должно исключить возможность столкновения инструмента с патроном или обрабатываемой заготовкой. Необходимость размещения инструментальных оправок с фиксирующими и приводными элементами, приводов вращения инструментов приводит к значительному увеличению габаритов револьверных головок и усложняет их конструкцию.
Применение одноинструментальных шпиндельных головок с независимым приводом со сменой инструментов из магазина манипуляторами по типу сверлильно-фрезерных многоцелевых станков обеспечивает существенное расширение технологических возможностей станка, большую жесткость и точность установки инструментов. Однако повышается стоимость станка, усложняется его управление.
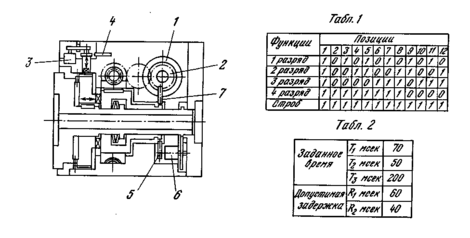
Рис.10. Циклограмма работы револьверной головки.
Рис.11. Схема направления движения инструмента и заготовки















