124381 (689993), страница 3
Текст из файла (страница 3)
MgCl2 + 2H2O = Mg(OH)2 + 2HCl
З підвищенням температури швидкість гідролізу хлоридів значно збільшується. З хлоридів, що утримуються в нафті, найбільше легко гідролізується хлористий магній, за ним хлористий кальцій і складніше за всіх гідролізується хлористий натрій.
При перегонці сірчистих нафт сірководень реагує з залізом і утворює сульфід заліза, що розчиняється не у воді, що у виді тонкої плівки покриває стінки апаратів і, таким образів, захищає апаратуру від подальшого впливу корозії. Але хлористий водень, що виділився, розкладає цю захисну плівку, при цьому виділяються нові порції сірководню й утвориться нерозчинне у воді хлористе залізо. У результаті оголюється поверхня металу і протікає інтенсивна сполучена корозія сірководнем і хлористим воднем.
Наявність значної кількості мінеральних солей у мазутах, що являють собою залишок при перегонці нафти і використовуються як казанове паливо приводить до відкладення солей у топках, на зовнішніх стінках нагрівальних труб. Це приводить до зниження тепловіддачі і, отже, до зниження коефіцієнта корисної дії печі.
Таким чином, переробка таких нефтей може здійснюватися тільки після обов'язкового знесолення і зневоднювання.
ДСТ 21534 установлює два методи визначення хлористих солей у нафті: титруванням водного екстракту (метод А) і неводним поценціометричним титруванням (метод Б).
Здатність молекул рідини виходити через вільну поверхню назовні, утворити пара, називають випаровуваністю. Над поверхнею кожної рідини унаслідок випару знаходиться пара, тиск якого може зростати до визначеної межі, що залежить від температури і називається тиском насиченої пари. При цьому тиск пари і рідини буде однаковим, пара і рідина виявляються в рівновазі і пара стає насиченим. При цьому, число молекул, що переходять з рідини в пару дорівнює числу молекул, що робить зворотний перехід.
Тиск насичених парів з підвищенням температури росте. Утворення насичених пар приводить до того, що тиск на вільній поверхні не може бути нижче тиску насичених пар [8].
Для нафти і нафтопродуктів і інших складних багатокомпонентних систем тиск насиченої пари при даній температурі є складною функцією складу і залежить від співвідношення обсягів просторів, у яких знаходиться пара і рідина.
Тиск насичених пар характеризує інтенсивність випару, пускові якості моторних палив і схильність їх до утворення парових пробок.
При транспортуванні нафти, що містить парафін, по трубопроводах на їх стінках, а також на деталях устаткування часто відкладається парафін. Це пояснюється як тим, що температура стінок трубопроводу може бути нижче, ніж у рідини, що перекачується, так і тим, що частки парафіну, що виділилися з нафти унаслідок високої концентрації або коливання температури на різних ділянках трубопроводу, прилипають до його стінок. Це приводить до зменшення ефективного перетину труб і устаткування, що у свою чергу вимагає підвищення тиску в насосів для підтримки необхідної витрати (обсягу рідини, що протікає,) і може привести до зниження продуктивності всієї системи.
Таким чином, знання вмісту в нафті і нафтопродуктах кількості парафіну і температури його масової кристалізації дозволяє визначити технологічний режим експлуатації магістральних трубопроводів.
ДСТ 11851-85 регламентує два методи визначення парафіну. Метод А полягає в попереднім видаленні асфальто-смолистих речовин з нафти, їхній екстракції й адсорбції, і наступного виділення парафіну сумішшю ацетону і толуолу при температурі мінус 20ос. При використанні методу Б попереднє видалення асфальто-смолистих речовин здійснюється вакуумною перегонкою з добором фракцій 250-550оС і виділення парафіну розчинниками (суміш спирту й ефіру) при температурі мінус 20оС.
2. Способи первинної переробки нафти
2.1 Сутність процесу та типи установок
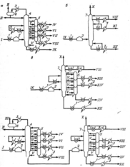
У технології нефтепереработки до первинної перегонки відносять процеси атмосферної перегонки нафти і вакуумної перегонки мазуту. Їх призначення складається в поділі нафти на фракції для наступної переробки або використання як товарних нафтопродуктів. Ці процеси здійснюють відповідно на так званих атмосферних трубчастих і вакуумних трубчастих або атмосферно-вакуумних трубчастих установках. На установках AT здійснюють неглибоку перегонку нафти з одержанням бензинових, гасових, дизельних фракцій і мазуту. Установки ВТ призначені для поглиблення переробки нафти. Одержувані на них з мазуту газойлеві, масляні фракції і гудрон використовують як сировину процесів вторинної переробки нафти з метою виробництва палива, мастил, коксу, бітумів і інших нафтопродуктів. У залежності від напрямку використання фракцій установки первинної перегонки нафти прийнято іменувати паливні, масляні або паливно-масляними і відповідно до цього - варіанти переробки нафти. Принципові схеми установок первинної перегонки нафти показані на мал. 1.
Рис. 1. Принципові схеми установок первинної перегонки нафти: AT (а), ВТ паливна (б), ВТ масляна (в), АВТ паливно-масляна (г):
1 - теплообмінник; 2 - трубчаста піч; 3 - холодильник, конденсатор-холодильник; 4 – атмосферна колона; 5 - відгінна колона; 6 - газосепаратор; 7 - вакуумна колона;
І - нафта; ІІ - легкий бензин; ІІІ - углеводородный газ; ІV - важкий бензин; V - водяна пара; VІ - гас; VІІ - легке дизельне паливо; VІІІ - важке дизельне паливо; ІX - мазут; X - неконденсаційні гази і водяна пара в системи, що створює вакуум; XІ - широка масляна фракція (вакуумний газойль); XІІ - гудрон; XІІІ – малов`язка масляна фракція; XІ – середньов`язкая масляна фракція; XV - грузла масляна фракція.
2.2 Основні види перегонки
2.2.1 Проста перегонка
Проста перегонка здійснюється шляхом поступового, однократного і багаторазового випаровування рідких сумішей.
Рис. 2. Схеми простої перегонки: а - поступова; б - однократна; в - дворазова; 1 - куб; 2 - кип'ятильник; 3 - конденсатор; 4 - приймач; 5 - сепаратор; І - сировина; ІІ - відгін; ІІІ - залишок; ІV - відгін другої ступіні; V - залишок другої ступіні.
Перегонка з поступовим випарюванням (мал. 2, а) складається в поступовому безперервному нагріванні рідкої суміші в кубі 1 від початкової до кінцевої температури при безперервному відводі пару, що утворюється, конденсації їх в апараті 3 і зборі в приймачі 4 цілком або виведенні з нього періодично окремими фракціями [7].
Цей спосіб перегонки нафти і нафтопродуктів переважно застосовують у лабораторній практиці при визначенні фракційного складу за ДСТ 2177-82 на стандартному апараті періодичної дії; аналіз дає можливість судити про технічну цінність нафти й експлуатаційних властивостей нафтопродукту.
Перегонка однократним (рівноважним) випарюванням (мал. 2, б). Вихідну рідку суміш безупинно подають у кип'ятильник 2, де вона нагрівається до певної кінцевої температури при фіксованому тиску; що утворилися і досягли стани рівноваги парова і рідка фази однократно розділяються в адіабатичному сепараторі 5. Парова фаза, пройшовши конденсатор 3, надходить у приймач 4, відкіля безупинно відводиться як дистилят (відгон). З низу сепаратора 5 безупинно виділяється рідка фаза - залишок.
Відношення кількості пар, що утворився, при однократному випаровуванні до кількості вихідної суміші називають часток відгону.
Перегонка з однократним випаровуванням забезпечує велику частку відгону, чим з поступовим при однакових температурі і тиску. Цю важливу перевагу використовують у практиці перегонки нафти для досягнення максимального випару при обмеженій температурі нагрівання внаслідок розкладання (крекінгу) окремих компонентів нафти.
Багаторазове випаровування полягає в послідовному повторенні процесу однократного випару при більш високих температурах (або низьких тисках) стосовно залишку, отриманому від попереднього однократного випару рідкої суміші. На мал. 2, в показана схема дворазової перегонки. Залишок однократного випару першої ступіні після нагрівання до більш високої температури надходить у сепаратор другого ступіня, з верхньої частини якого відбирають відгін другого ступіня, а з нижнього - залишок другого ступіня.
Способи перегонки з однократним і багаторазовим випаром мають найбільше значення в здійсненні промислової переробки нафти на установках безперервної дії. Так, прикладом процесу однократного випару є зміна фазового стану (частки відгону) нафти при нагріванні в регенеративних теплообмінниках і в змійовику трубчастої печі з наступним відділенням парової від рідкої фази в секції живлення ректифікаційної колони [7].
Проста перегонка, особливо варіант з однократним випаром, не дає чіткого поділу суміші на складові компоненти. Для підвищення чіткості поділу перегонку ведуть з дефлегмацією або з ректифікацією.
2.2.2 Складна перегонка
Перегонка з дефлегмацією заснована на частковій конденсації пари, що утвориться при перегонці, і поверненні конденсату (флегми) назустріч потоку пари. Завдяки цьому однократному й однобічному масообміну між зустрічними потоками пари і рідини, що ідуть із системи пари додатково збагачуються низкокиплячими компонентами, тому що при частковій конденсації з них переважно виділяються висококиплячі складові частини.
Дефлегмацію здійснюють а спеціальних за конструкцією поверхневих конденсаторах повітряного або водяного охолодження, розташовуваних над перегінним кубом.
Перегонка з ректифікацією дає більш високу чіткість поділу сумішей у порівнянні з перегонкою з дефлегмацією. Основою процесу ректифікації є багаторазовий двосторонній масообмін між рухаючимися противотоком парами і рідиною суміші, що переганяється. Цей процес здійснюють у ректифікаційних колонах. Для забезпечення більш тісного зіткнення між зустрічними потоками пари і рідини ректифікаційні колони обладнані контактними пристроями - тарілками або насадкою. Від числа таких контактів і від кількості флегми (зрошення), що стікає назустріч парам, в основному залежить чіткість поділу компонентів суміші [2].
Сучасна промислова технологія первинної перегонки нафти основана на процесах одно- і багаторазової перегонки з наступною ректифікацією утворених парової і рідкої фаз. Перегонку з дефлегмацією і періодичною ректифікацією, так само як перегонку з поступовим випаром, застосовують у лабораторній практиці.
2.2.3 Перегонка з водяною парою й у вакуумі
Нафтові суміші термічно нестійкі. Серед вхідних до їх складу компонентів менш стійкі до нагрівання сірчисті й асфальтосмолисті сполуки. Парафінові вуглеводні термічно менш стійкі, чим нафтенові. Останні при нагріванні легше розкладаються, чим ароматичні. Термічна стабільність нафтових сумішей залежить в основному від температури нагрівання і часу її впливу. Поріг термічної стабільності для безперервної перегонки вище, ніж для періодичної. На практиці нафта й отримані з неї продукти (мазут, масляні фракції) можна без помітного розкладання нагрівати до наступних температур, °С:
| Перегонка | ||
| безперервна на промислових установках | періодична лабораторна | |
| Малосірчиста високопарафіниста і малосмолиста нафта | 370-380 | 350-360 |
| мазут | 420-425 | |
| Сірчиста парафіниста смолиста нафта мазут для одержання паливних фракцій масляних фракцій широка масляна фракція | 375-385 400-410 390-400 350-360 | 330-340 |
| Високосірчиста парафіниста високосмолиста нафта мазут | 370-380 390-400 | 320-330 |
Розкладання при перегонці погіршує експлуатаційні властивості нафтопродуктів: знижує їх в'язкість, температуру спалаху, стабільність до окислювання. З метою зменшення розкладання обмежують час перебування нафтових залишків при високих температурах. Час перебування, що рекомендується, мазуту в нижній частині атмосферної колони не більш 5 хв, гудрону в низу вакуумної колони -2-5 хв.
Коли температура кипіння нафтової суміші при атмосферному тиску перевищує температуру її термічного розкладання, при перегонці застосовують вакуум і водяну пару. Вакуум знижує температуру кипіння. Дія водяної пари аналогічна дії вакууму: знижуючи парціальний тиск компонентів суміші, вона викликає кипіння її при меншій температурі. Водяной пар використовують як при атмосферної, так і при вакуумній перегонці. При ректифікації його застосовують для відпарювання низкокипящих фракцій від мазуту і гудрону, з паливних і масляних фракцій. Сполучення вакууму з водяною парою при перегонці нафтових залишків забезпечує глибокий добір масляних фракцій (до 530-580 °С) [7].
Однак дія водяної пари як отпаривающего агента обмежено. Оскільки теплота на випар віднімається від рідини, що переганяється, то в міру збільшення витрати водяної пари температура її і, отже, тиск насичених пар знижуються. Отпарка поступово знижується, тому що тиск насичених пар рідини порівнюється з парціальним тиском нафтових пар. Найбільш ефективним є витрата водяної пари в межах 2-3% на сировину відгінної колони при числі теоретичних ступіней контакту 3-4. У цих умовах кількість отпариваемых з мазуту низкокипящих компонентів досягає 14-23%.
Температура водяної пари повинна бути не нижче температури нафтопродукту, що переганяється, щоб уникнути його обводнювання. Звичайно застосовують пару з температурою 380-420 0С, тиском 0,2-0,3 Мпа.
Технологія перегонки з водяною парою має свої переваги. Поряд зі зниженням парціального тиску нафтових пар, водяна пара інтенсивно перемішує киплячу рідину, запобігаючи можливі місцеві перегріви її, збільшує поверхня випару за рахунок утворення міхурів і струменів.















