124232 (689931), страница 5
Текст из файла (страница 5)
Рис. 13. Схема резервуара с плавающей крышей
1 – корпус резервуара; 2 – затвор, уплотняющий зазор между корпусом резервуара и плавающей крышей; 3 – плавающая крыша; 4– насыщенное парами газовое пространство; 5 – поплавки плавающей крыши; 6 – подвижная лестница; 7 – неподвижная лестница
Резервуар с понтоном отличается от резервуара с плавающей крышей наличием стационарной кровли и отсутствием шарнирных труб и водостоков с обратным сифоном, предназначенных для удаления воды с поверхности плавающей крыши. Наличие стационарной кровли предотвращает попадание на поверхность плавающего понтона атмосферных осадков. Резервуары с понтонами распространены в северных районах и в средней полосе; резервуары с плавающей крышей преимущественно в южных районах.
Понтоны и плавающие крыши изготовляются из стали, синтетических и резинотканевых материалов.
Хранение легкоиспаряющихся нефтепродуктов в вертикальных цилиндрических резервуарах рекомендуется только при уклоне крыши 1:20 («плоские» крыши).
Плавающие крыши сокращают потери от «малых и больших» дыханий в среднем на 70—80%.
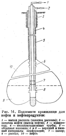
На рис.14 изображено схематично подземное хранилище для нефти и нефтепродуктов.
Рис. 14. Подземное хранилище для нефти и нефтепродуктов:
1 – выход рассола (закачка рассола); 2 – закачка нефти (выход нефти); 3 – кондуктор; 4 – эксплуатационные трубы; 5 – обсадная колонна; 6 и 8 – верхний и нижний интервалы перфораций; 7 – пакер; 9 – рассол; 10 – нефть
Нефть подается в кольцевое пространство между эксплуатационными трубами и колонной, рассол вытесняется через нижний интервал перфораций и уходит наверх по эксплуатационным трубам в специальную земляную емкость. Выдача нефти производится путем закачки рассола через нижний интервал перфораций и вытеснением ее в кольцевое пространство через верхний интервал. При хранении в таких емкостях потери от испарения отсутствуют.
2. Сокращение амплитуды колебания температуры газового пространства уменьшает потери от испарения.
Для уменьшения амплитуды колебания температуры защищают резервуары от нагревания солнечными лучами. Наиболее простое мероприятие — затенение небольших резервуаров путем насаждения лиственных деревьев. Сюда же относится и окрашивание резервуаров луче-отражающими светлыми красками, устройство луче-отражающих экранов из асбофанеры, шифера и других материалов; их помещают на расстоянии 0,1—0,5 м от корпуса и покрытия резервуара. Простейшим мероприятием является устройство на резервуарах водяного экрана. С этой целью боковые стенки резервуара делают возвышающимися над плоским покрытием. В образовавшийся бассейн наливают воду, добавляя ее по мере испарения, либо устанавливают непрерывный ток воды. Газовое пространство охлаждается за счет скрытой теплоты испарения воды и разности температур охлаждающей воды и паро-воздушной смеси. Водяные экраны на 25—30% снижают потери от «малых дыханий» резервуаров.
Сокращение амплитуды колебания температуры газового пространства достигается также заглублением резервуаров. В резервуарах, заглубленных на 0,5 м, суточные колебания температур практически не наблюдаются.
В железобетонных резервуарах из-за высокого теплового сопротивления бетонных стенок температура внутри резервуара в течение суток мало меняется, и поэтому потери от малых дыханий из таких резервуаров незначительны.
3. При увеличении нагрузки клапана давления (хранение под давлением) можно сократить потери от «больших дыханий» и ликвидировать потери от «малых дыханий».
Вертикальные цилиндрические стальные резервуары с обычной кровлей мало пригодны для хранения под давлением, так как конструкция их рассчитана лишь на небольшие избыточные давления и вакуум.
К резервуарам, рассчитанным на повышенное избыточное давление и вакуум, относятся вертикальные цилиндрические резервуары со сферическим покрытием при высоких давлениях (0,03 — 0,04 МПа) объемом до 2000м3, при низких (0,015 — 0,02 МПа) — до 5000м3.
На большие избыточные давления рассчитаны и каплевидные резервуары. В основу конструирования каплевидных резервуаров положен принцип равнопрочности оболочки в направлении главных кривизн. Каплевидные резервуары объемом до ~ 6000м3 при давлении 0,03 — 0,2 МПа строят с опорным кольцом и экваториальной опорой.
4. Потери от испарения можно сократить улавливанием паров нефтепродуктов. В сфере транспорта и хранения широкое распространение получили газовые обвязки. Ввиду отсутствия надежного промышленного образца газосборника газовые обвязки сокращают потери только при совпадении операций закачки и выкачки в группе обвязанных резервуаров (рис.15).
Рис. 15. Схема газовой обвязки группы резервуаров с газосборником
1 – резервуары; 2 –газосборник
5. Для сокращения потерь большое значение имеет уменьшение парциального давления паров нефтепродукта в газовом пространстве.
Применение понтонов кроме сокращения до минимума объема газового пространства между поверхностью продукта и понтоном приводит также к уменьшению парциального давления паров нефтепродукта в пространстве между понтоном и кровлей резервуара, что сокращает потери из этого пространства в атмосферу.
Рис. 16. Схема установки диска-отражателя в резервуаре:
1 – диск-отражатель; 2 – огневой предохранитель; 3 – дыхательный клапан; 4 – резервуар
Установка диска-отражателя под монтажным патрубком дыхательного клапана (рис.16) не дает струе входящего при выкачке продукта воздуха быстро распространяться в глубь газового пространства резервуара, сокращая тем самым перемешивание воздуха с нижележащими насыщенными слоями парововдушной смеси. Это приводит к уменьшению парциального давления паров нефтепродукта в верхних, выталкиваемых при «большом дыхании», слоях газового пространства и, следовательно, к уменьшению потерь от испарения.
6. Потеря нефтепродуктов от испарения можно в значительной степени уменьшить путем рациональной организации эксплуатации резервуарных парков: герметизации резервуаров, регулярной ревизии дыхательной арматуры, хранения легкоиспаряющихся нефтепродуктов в заполненных резервуарах, сокращения до минимума количества внутрибазовых перекачек и др.
5. Выбор мероприятия для сокращения потерь
Понтоны – эффективное средство сокращения потерь нефти и легкоиспаряющихся нефтепродуктов от «малых и больших дыханий» и «обратного выдоха» резервуара.
Резервуар с понтонов отличается от резервуара с плавающей крышей наличием стационарной кровли, защищающей понтон от атмосферных осадков. В результате этого отпадает необходимость в сооружение малонадёжных в эксплуатации дренажных систем и катучей лестницы, облегчаются условия работы уплотняющих затворов, предотвращается загрязнение нефтепродуктов и т.д.
Существует конструкции понтонов как из металла, так и из синтетических материалов.
Эффективность применения понтонов для сокращения потерь нефти или нефтепродуктов определяется степенью герметизации зазора между понтоном и стенкой резервуара и вокруг направляющих стоек, что зависит от конструкции уплотняющего затвора.
Затвор частично погружён в хранимую в резервуаре жидкость и имеет собственную плавучесть. Вследствие этого под затвором отсутствует газовое пространство, что повышает эффективность понтона в сокращение потерь нефти или нефтепродуктов от испарения.
Практика показала, что понтоны из синтетических материалов по сравнению с металлическими практически непотопляемы (вследствие отсутствия полых поплавков), обладают хорошей гибкостью, позволяют вести ремонт без применения огневых работ в резервуаре. Их можно собирать в действующих резервуарах без демонтажа части кровли или корпуса. У них значительно меньше масса и небольшой расход металла. При их использовании полезная ёмкость резервуара уменьшается незначительно.
Расчёт потерь нефти от испарения с применением понтона
Расчёт сводится к произведению эффективности применения понтона на годовые потери нефти от испарения.
При
20 примем
71,5%; .
Среднегодовые потери нефти от испарения с применением понтона составят:
=0,715*176713,7=126350,2955 кг.
Как видно применение понтона сокращает потери от испарения нефти в 1,4 раза. На основании этого можно утверждать что применение понтона в данном случае является рациональным решением по сокращению потерь.
Список использованных источников
-
Едигаров С. Г., Юфин В. А. Проектирование и эксплуатация нефтебаз. М., Недра, 1982.
-
Константинов Н. Н. Борьба с потерями от испарения нефти и нефтепродуктов. М., Бостоптехиздат, 1961.
-
Лабораторный практикум на ЭВМ. Исследование потерь нефти и нефтепродуктов из резервуаров типа РВС. Уфа, УГНТУ, 1997.
-
Методические указания к выполнению контрольных и домашних заданий по курсу "Эксплуатация газохранилищ и нефтебаз". Уфа, УНИ, 1992.















