123752 (689599), страница 8
Текст из файла (страница 8)
Примем Q - 2 л/мин
-
Определим геометрические размеры жиклера d0 и D0
(cм.рис.2), где D - диаметр подводящего трубопровода
Диаметр жиклера:
где:
Сd=0,6 - коэффициент расхода диафрагмы
∆Рж = Рм - Р'м - перепад давлений на жиклере
∆Рж =(I9,5- 5) *105 = 14,5*105 Па
ρ= 851 кг/м3 - плотность масла при температуре tп
Принимаем dо= 1,5 мм и определим пропускную способность
жиклера
11.5 Расчет подшипников на долговечность
Расчет произведен по следующей литературе:
1. Максимов B.A. и др. Расчет опорных подшипников с самоустанавливающимися подушками высокоскоростных, турбомашин. -энергомашиностроение, 1979, №2,с. 15-19.
2. Чернавский С.А., Ицкович Г.М. и др. Курсовое проектирование деталей машин. М.: Машиностроение, 1979. 351 с.
Расчет долговечности подшипников проведем по выбранной схеме
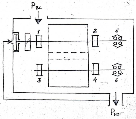
компрессора
Рис. 11 Схема компрессора
Для разгрузки осевой, силы на ведущем роторе установлен разгрузочный механизм
Долговечность подшипника в часах определяется по формуле:
где: n – частота вращения подшипника, об/мин;
С – динамическая грузоподъемность, Н;
Р – эквивалентная динамическая нагрузка, Н;
r – степенной показатель, для шариковых подшипников
r = 3, для роликовых r = 10/3
где: F2 и Fa – соответственно радиальные и осевые нагрузки;
V – коэффициент вращения колец относительно вектора нагрузки и равен 1,0;
kT – коэффициент учитывающий слияние температуры, принимаем равным 1,0;
kб – динамический коэффициент, в нашем случае принимаем равным 1,0;
X и Y – соответственно коэффициенты радиальной и осевой нагрузок.
Для роликовых подшипников при угле контакта α= 0°,Fa =0 и X = 1.
Для упорных шарикоподшипников 46307 принимаем У = 0,87, a X = 0, так как подшипник воспринимает только осевую нагрузку.
Динамическая грузоподъемность подшипников равна:
для 32508 С = 5610 кгс=55 кН
для 46307 С= 4260 кгс=42 кН
Реакции и силы, действующие на подшипники приведены в табл.11.5.1
Таблица 11.5.1
| Режим | Обозначение подшипника на схеме | ||||||
| 1 | 2 | 3 | 4 | 5* | 6 | ||
| 4/18 | 491 | 250 | 261 | 469 | 189 | 240 | |
| 4/20 | 521 | 287 | 281 | 520 | 150 | 280 | |
*Сила с учетом разгрузки.
Расчетные ресурсы в часах приведены в табл. 11.5.2
Таблица 11.5.2
| Режим | Обозначение подшипника по схеме | |||||
| 1 | 2 | 3 | 4 | 5 | 6 | |
| 4/18 | 10280 | 97427 | 118160 | 16738 | 53211 | 36386 |
| 4/20 | 8429 | 61556 | 87030 | 11874 | 148881 | 22913 |
Выводы
По результатам расчета наименьший расчетный ресурс при постоянной работе на исходных режимах у роликоподшипника № I. Решение о его замене при среднем ремонте, после 10000 часов работы, можно принять после анализа его состояния.
Выводы и предложения
Спроектированная установка винтового компрессора ГВ 4/6 выдала следующие преимущества перед другими решениями:
Уменьшение затрат на перекачку газа.
Регулируемый электропривод (число оборотов в зависимости от количества газа на приеме).
Уменьшение затрат на ремонт и обслуживание.
Практически вдвое увеличился срок службы подшипников.
Компрессор устанавливается на маслоотделителе. Делая установку в целом мобильной и легко транспортируемой.
Не требуется массивный фундамент.
Наличие мультипликатора, позволяет уменьшить диаметры цилиндров, что приводит к снижению металлоемкости.
Таким образом, данную установку целесообразно применят в производстве с малыми объемами перекачиваемого газа.















