123367 (689451), страница 3
Текст из файла (страница 3)
В конструкции гидроциклон питание вводилось в гидроциклон не через патрубки, а через жалюзи в цилиндрической части.
Однако опытные данные показали, что увеличение числа питающих патрубков или питание через жалюзи не дали технологических преимуществ по сравнению с питанием через один патрубок, а только усложнили конструкцию циклона.
1.3.1Сливной (шламовый) патрубок.
Сливные патрубки делают сменными, прикрепленными своими фланцами к днищу гидроциклона на шпильках или болтах. Удаление слива производится через сливную камеру (рис. 5, а) или непосредственно через трубу, являющуюся продолжением сливного патрубка (рис. 5, б).
В конструкциях, предусматривающих удаление слива через сливную камеру, последняя устанавливается таким образом, что в нее поступает слив, выбрасываемый с большой скоростью из сливного патрубка. Из сливной камеры слив удаляется по трубе, устанавливаемой тангенциально по направлению вращения пульпы. В зависимости от соотношения сечений сливного патрубка и отводной трубы, а также перепада высоты между верхним и нижним концами последней в сливной камере создается соответствующее статистическое давление (или вакуум). Для облегчения разгрузки песков иногда в центре крышки сливной камеры просверливается отверстие для подсоса воздуха или вставляется трубка, открытая с обоих концов.
В конструкции гидроциклонов, установленных на промывочной фабрике Высокогорного рудоуправления, предусматривается плавная регулировка глубины погружения сливного патрубка (рис. 5, в). Сливной патрубок 1 телескопического типа может перемещаться вдоль своей оси при помощи винта 2. Слив удаляется через боковую прорезь в патрубке, горизонтальный отводной патрубок 3 и кран 4, предназначены для изменения количества слива без остановки работы гидроциклона.
В гидроциклоне конструкции ДонУГИ слив удаляется через патрубок, расположенный в центральной части циклона вдоль его оси (рис. 5, г). Верхний конец патрубка находится вблизи днища циклона, приблизительно на уровне питающего патрубка или немного ниже его. Разгрузка слива производится снизу, рядом с песками. Такая конструкция сливного патрубка не может быть рекомендована для гидроциклонов – классификаторов из-за ее серьезных недостатков.
1.3.2.Песковые насадки
Песковые насадки служат для разгрузки песков из гидроциклонов. Их изготовляют в виде съемных конических насадок (рис. 6, а) с различными отверстиями для выхода песков или в виде резиновых затворов.
Рис. 5. Способы разгрузки слива
В
следствие значительного износа песковых насадок при работе их следует изготовлять из износоустойчивых материалов, а при конструировании их крепления – предусматривать возможность быстрой замены.
Для изготовления песковых насадок гидроциклонов применяют:отбеленный чугун, Ст. 3, легированный чугун с примесями марганца, никеля, хрома, резину № 8-ЛТИ Механобра и другие сорта резины, карборундовую крошку, цементированную бакелитом, каменное литье, карбиды кремния, бора и пластмассы.
Крепления песковых насадок в нижней части гидроциклона могут осуществляться различными способами. В большинстве случаев насадка прижимается отдельным фланцем к нижнему фланцу циклона. При таком способе крепления для смены насадки требуется остановка гидроциклона. Для смены насадок на ходу в некоторых конструкциях гидроциклонов предусматриваются обоймы, в которые вкладываются насадки с различными отверстиями (рис. 6, б). Передвижение обоймы позволяет быстро, без остановки гидроциклона, сменить песковую насадку. На Норильском комбинате смену насадок производят при помощи затворов (рис. 6, в). Применяют также резиновые затворы, которые позволяют производить плавную регулировку влажности и крупности песков на ходу.
Р
езиновые песковые насадки в затворах отличаются между собой конструкцией и способом их сжатия. Насадки, представляющие собой втулку из эластичной резины, могут быть сжаты в продольном направлении при помощи гайки (рис. 6, г).
Насадки в виде резиновой манжеты (рис. 6, д) сжимается сжатым воздухом, подаваемым от компрессора. Наибольшее давление, требуемое для работы насадки, 4-6 кг/см². Такие затворы применяют для автоматического регулирования загрузки песков.
Рис. 6. Крепление песковых насадок
При регулировке пескового отверстия без остановки работы гидроциклона применяют толстостенную резиновую насадку
В некоторых случаях применяют конические пробки (рис. 6, ж), позволяющие изменять количество песков на ходу. Но в связи с тем, что разгрузка производится здесь через щель, не исключена возможность забивания гидроциклона, особенно при работе на крупном материале, а также загрязнения слива крупными зернами, которые могут засасываться через отдельные участки щелевого пескового отверстия при наличии большого вакуума в циклоне.
Таблица 1
Основные параметры гидроциклонов (рис. 7)
| Параметры | ГЦ-5 | ГЦ-7,5 | ГЦ-15 | ГЦ-25 | ГЦ-36 | ГЦ-50 |
| Диаметр,мм: Гидроциклона Питающего отверстия Сливного отверстия Пескового отверстия Угол, конусность, градус Производительность, м³/ ч (при давлении 1 кгс/см²) Основные размеры, мм(не более): Длина Ширина Высота Масса гидроциклона, кг (не более): литого футерованного каменным литьем футерованного резиной | 50 10-20 10-25 6-12 10 1-5 400 250 600 25 - - | 75 15-30 15-38 8-17 10 2-12 500 350 750 40 - - | 150 24-40 40-70 12-50 20 9-25 650 400 950 120 110 70 | 250 40-60 50-100 17-75 20 18-35 800 550 1350 260 220 131 | 360 50-70 70-190 24-100 20 32-100 900 700 1750 430 360 200 | 500 60-100 100-215 34-150 20 55-200 1050 900 2300 780 600 327 |
Спиральный гидроциклон СГМ-ТПУ
Разработанный на кафедре техники и разведки ТПУ малогабаритный спиральный гидроциклон имеет ряд существенных преимуществ перед серийно выпускаемыми гидроциклонами:
- простота конструкции, регулировки, эксплуатации, монтажа, высокий ресурс работы;
- высокая степень очистки раствора от абразивных и недиспергированных глинистых частиц – 0.2%;
- незначительные потери промывочной жидкости через песковую насадку – до 2-3%;
- отсутствие автономного насоса и привода.
Назначение и устройство гидроциклона
Спиральный гидроциклон СГМ-ТПУ предназначен для промывочных жидкостей от
п
еска, грубодисперсных частиц поступающих в раствор вместе с глиной, и частиц выбуренной породы, которыми раствор обогащается в процессе бурения скважин.
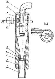
Гидроцклон СГМ-ТПУ состоит из корпуса 7, с питающим штуцером 6, шнековой спирали 9, со сливным патрубком 8 для вывода очищенного раствора, конуса 2, заканчивающегося песковой насадкой 1 и регулировочными кольцами 3, 4, 5. Питающий штуцер 6 приварен касательно к корпусу 7. Кольцо 5 используется при производительности очистки 200-220 л/мин, при этом кольца 4, 3 – извлекаются. Кольца 4,5 ставятся при расходе 160 л/мин. Все три кольца 3,4,5 ставятся при расходе 100 л/мин. Для снижения износа колец песковой насадки их следует изготавливать из износостойких материалов.
Рис. 8. Спиральный гидроциклон СГМ-ТПУ
Принцип работы спирального гидроциклона СГМ-ТПУ
Принцип действия любого гидроциклона заключается в следующем. Исходная пульпа (раствор) подается в гидроциклон через питающую насадку, установленную по касательной к боковой поверхности цилиндрической части непосредственно под крышкой. Продукты классификации (твердая фаза и раствор) разгружаются соответственно через песковую насадку и сливной патрубок, расположенные по оси гидроциклона. Поток жидкости идет по спирали вдоль стенок конуса к песковой насадке, через которую выходит только часть общего потока. Гидроциклон быстро заполняется вращающейся жидкостью и вдоль его оси образуется вращающийся поток. При вращении пульпы шлам, песок и недиспергированные глинистые частицы за счет центробежных сил отбрасываются в периферийную зону, то есть к стенкам корпуса гидроциклона. Вблизи оси гидроциклона центробежная сила становится настолько большой, что жидкость разрывается, образуется воздушной ядро (вихревой шнур), имеющее вид воздушного столба. При нормальных условиях (достаточном давлении на входе, открытых разгрузочных отверстиях) воздушный столб возникает по всей высоте гидроциклона, соединяя по оси сливной патрубок и песковую насадку. Внешний вращающийся поток вместе с продуктами сепарации уходит через песковую насадку, основной внутренний поток поднимается вдоль воздушного столба и разгружается через сливной патрубок в емкость с очищенным раствором.
С учетом условий курсового задания не рентабельно применять выше приведенный гидроциклон, так как он не отвечают современному уровню развитию техники и не может вести к дальнейшему прогрессу.
Предлагается использовать спиральный малогабаритный гидроциклон
СМГ-С так как:
• для привода гидроциклона СМГ-С не требуется дополнительного
привода и насоса;
• гидроциклон СМГ-С имеет малые размеры;
• гидроциклон СМГ-С обеспечивает необходимую тонкость очистки
промывочной жидкости, даже при бурении в абразивных породах;
• применение гидроциклона СМГ-С не приводит к большим
энергозатратам.
• гидроциклон СМГ-С, с учетом упрочнения, имеет средний ресурс до
списания 2000 часов.
-
Выбор принципиальных схем и способов компоновки гидроциклона СМГ-С:
1.5.1.Износ изделия
Пульпа, вращающаяся в гидроциклоне с большой скоростью, оказывает истирающее действие на его стенки. Наибольшему износу подвергается нижняя часть гидроциклона вблизи штуцера , на который действую наиболее крупные фракции твердой фазы пульпы при большой концентрации. Сильному истирающему действию подвергается так же питающий патрубок, шнековая спираль и стенки цилиндрической части циклона, в месте на которое попадает с большой скоростью струю питания из патрубка.
Сливной патрубок и стенки конической части, примыкающие к цилиндрической части, подвергаются меньшему износу. Износ тем более, чем крупнее и абразивнее твердая фаза пульпы. На истирающее действие, оказываемое пульпой на стенки циклона во время работы, влияют следующие факторы:
- Минералогический состав твердой фазы пульпы и форма зерен.
















