123148 (689376), страница 2
Текст из файла (страница 2)
(2)-подготовительные процессы и дубление;
(3)-химическая отделка и красильно-жировальные процессы.
На первой стадии отмочка имеет цель возвратить шкуре состояние (по степени содержания влаги), которое она имела в парном состоянии. После стадии отмочки в отработанных растворах находятся грязь, растворимые белки, соли (хлорид и карбонат натрия), нафталин, жиры, антисептики. В результате операции обезволошивания-золения происходит удаление волоса и эпидермиса, а также видоизменяется волокнистая структура дермы - происходит разволокнение и дефибриляция. После этой операции в отработанном растворе содержатся гидроксид кальция, сульфид и гидросульфид натрия, белки и продукты их расщепления, другие органические вещества небелкового происхождения, производные жиров, волос.
На второй стадии в результате операции обеззоливания-мягчения нейтрализуют дерму, удаляют соединения кальция, межфибрилярное неколлагеновое вещество, жиры. Сточные воды после этой операции содержат соединения кальция, соли аммония, энзимы, продукты превращений неколлагенового вещества и жиров. Следующая операция на этой стадии - пикеливание, - имеет целью подготовить голье (обезволошенную и подготовленную в ходе предыдущих операций шкуру) к дублению путем обработки обработки кислотой в присутствии некоторых добавок. Сточные воды после этой операции содержат хлорид натрия, минеральные и органические кислоты. Заключительной операции на этой стадии является дубление, которое имеет целью стабилизировать дерму путем фиксации в ее коллагеновой структуре дубящих соединений и блокировки различных поверхностных химических групп. В зависимости от типа дубления в сточных водах после этой операции будут находится:
-при хромовом дублении - основной сульфат хрома, сульфат и карбонат натрия;
-при растительном дублении - натуральные танниды, различные органические кислоты;
-при дублении синтанами - фенолы и конденсированные полифенолы. Присутствие в сточных водах фенолов и конденсированных полифенолов и использование хлорирования для очистки этих сточных вод может явиться причиной образования крайне опасных для здоровья человека соединений - диоксинов, которые получили название "яды XXI века".
На заключительной стадии химической отделки в отработанных растворах содержатся:
-при додубливании - соединения хрома, синтаны, специальные средства;
-при крашении - различные красители, органические и минеральные кислоты;
-при жировании - жиры, масла, эмульгаторы, аммиак.
Таким образом, сточные воды кожевенных предприятий характеризуются высокой степенью загрязненности. Основными загрязняющими компонентами являются продукты обработки шкур и неиспользованные химические материалы. Эти стоки являются наиболее токсичными, засоленными, мутными, велики по объему иимеют наибольшее содержание нерастворимых веществ органического и неорганического происхождения. Токсичность стоков обусловлена содержанием сульфидов, продуктов превращений белков, соединений хрома. Сточные воды кожевенного производства относятся к высококонцентрированным и содержат различные загрязнения: шерсть, кровь, кусочки мездры, продукты распады белков, растительные и синтетические дубители, поверхностно-активные и жировые вещества, красители, а также различные минеральные соединения: гидроксид кальция, сульфиды, щелочи, кислоты, соединения хрома. Вследствие значительного количества органических веществ эти сточные воды подвержены загниванию.
При том, что мировая кожевенная промышленность перерабатывает в год 4,8 млн. тонн крупных шкур при среднем расходе воды 65 куб.м на 1 тонну сырья, получим общее количество потребляемой воды 300 млн. куб.м, а с учетом мелких шкур это количество воды возрастает до 450 млн. куб.м. Из них 60% или 270 млн. куб.м приходится на подготовительные и 40% или 180 млн. куб.м на преддубильные, собственно дубление и красильно-жировальные процессы. Очистка такого объема воды является сложнейшей и дорогостоящей задачей. Расходы, связанные с созданием очистных сооружений, могут достигать 40-50% всех капитальных затрат на строительство. В структуре издержек кожевенного производства расходы на эксплуатацию очистных сооружений и решения других экологических проблем иногда достигают 10%, что сопоставимо с оплатой всего персонала (12-14%).
Проблемы, возникающие с очисткой сточных вод кожевенных предприятий напрямую связаны с недостаточным уровнем технологии и невысокой по современным меркам степенью использования химических соединений, применяемых в кожевенном производстве. Так, по данным журнала Leder und Haute Markt при выработке хромовых кож для верха обуви 47% коллагена дермы - ценнейшего белкового продукта переходит в отходы, а соединения хрома используются лишь на 48%. Низкая степень использования хрома связана не только с ухудшающейся экологической обстановкой на кожевенных предприятиях. Потерями такого количества хрома с отработанными растворами нельзя пренебречь и с точки зрения его большой стоимости - 800-1000 USD за тонну. Кожевенная промышленность потребляет ежегодно около 65 тыс. тонн соединений хрома. По данным BLMRA (British Leather Manufacturers' Research Association) из этого количества 20 тыс. тонн переходит в изделия, остальное - теряется с отходами. Причем 25 тыс. тонн сливается с отработанными растворами.
Влияя на состав и свойства природных вод, соединения хрома вызывают необратимые изменения в организмах растений и животных, а через них воздействуют на всю биосферу. Токсическое действие хрома на человека во всех случаях приводит к ухудшению показателей обмена веществ. Соединения хрома вызывают местное раздражение кожи и слизистых, приводящих к их изъязвлению, а при вдыхании аэрозолей - к прободению хрящевой части носовой перегородки, поражению органов дыхания вплоть до развития пневмосклероза. Общетоксическое действие соединений хрома сказывается в поражении печени, почек, желудочно-кишечного тракта, сердечно-сосудистой системы. Независимо от пути введения соединений хрома в организм, в первую очередь поражаются почки - сначала канальцевый аппарат, затем сосудистая сеть с преимущественным поражением клубочков. Все соединения хрома попадая в организм человека изменяют активность ферментов и угнетают тканевое дыхание. Аллергическое действие этих соединений проявляется приступами, сходными с бронхиальной астмой, и развитием кожной сенсебилизации, являющейся причиной "хромовых экзем". Имеются данные, свидетельствующие о более высокой заболеваемости и смертности от рака органов дыхания и пищеварения среди работающих на хромовых производствах.
Наиболее эффективное решение охраны водного бассейна от деятельности кожевенных предприятий должно носить комплексный характер и осуществляться за счет снижения количества загрязняющих веществ в сточных водах и обеспечения надежной финишной очистки сточных вод с утилизацией обезвоженного осадка. Снизить количество загрязняющих веществ можно за счет многократного повторного использования воды путем создания водооборотных систем для отдельных технологических растворов, содержащих реагенты для выделки кож.
Схемы очистки сточных вод кожевенного производства
Вариант № 1
Вариант № 2
Глава 3 ИЗВЛЕЧЕНИЕ ХРОМА ИЗ СТОКОВ КОЖЕВЕННОГО ПРОИЗВОДСТВА
Для сохранения структуры кожи и предотвращения гниения кожу подвергают обработке различными дубильными веществами. Для этой цели широко используют трехвалентный хром, обычно гидрат основного сульфата хрома. Трехвалентный хром часто приготовляют на кожевенной фабрике восстановлением шестивалентного хрома сахаром и серной кислотой.
В течение нескольких лет потери растворимых соединений в стоках кожевенного производства постепенно возрастали, поскольку было дешевле покупать хромсодержащие вещества заново, чем проводить выделение хрома.
Другим фактором, способствующим направлению солеи хрома в отходы, являлось желание увеличить скорость дубления за счет усиления проникновения хромовых солей в кожу при использовании более высоких концентраций хрома. Увеличение скорости дубления позволяет уменьшить износ оборудования и повысить производительность труда. Однако при этом происходит значительное увеличение концентрации хрома, в сточных водах, а также потерь хрома, используемого для дубления.
Рядом проведенных исследований было установлено, что на наиболее эффективно работающих кожевенных фабриках около 1/3 закупаемого количества соединений хрома выбрасывается со сточными водами: на некоторых производствах допускается выброс даже половины всего закупаемого хрома.
Большие количества хрома выбрасываются также вместе с отходами кожи, образующимися на стадиях обрезки, скобления, лощения и т. п. Такие потери могут достигать 2/3 от общего количества хрома, введенного в процесс. Это представляет значительную опасность для окружающей среды, поскольку ионы хрома, в особенности шестивалентного, ядовиты. Средняя кожевенная фабрика, обрабатывающая 2000—3000 кож в день ежедневно сбрасывает около 1000 кг хрома в расчете на Сг2О4. Из этого количества 50—60 % удаляются со сточными водами и 40—50 % с отходами кожи.
Этот метод включает непрерывное перемешивание хромсодержащего осадка с непрерывной фильтрацией и прохождением через последовательно расположенные зоны фильтрования. Метод является экономически эффективным и привлекательным с точки зрения экологии. Выделяемые соединения хрома могут быть использованы для приготовления свежих дубильных растворов.
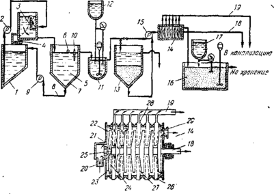
Схема процесса приведена на рис. 1 Отработанные жидкости, содержащие хром, со всех участков производства собирают в отстойнике откуда насосом 2 их прокачивают через каскад 3. Отсеянные твердые частицы попадают на бесконечный ленточный транспортер 4 и направляются в приемную камеру, которая на рисунке не показана. Жидкая фаза направляется в сепаратор 5, в котором жиры и смазки собираются на поверхности и сливаются с частью жидкости через отверстие 6. Все твердые частицы оседают в конической нижней части 7, откуда они с помощью насоса 26 выводятся по линии 8 и направляются для повторного разделения в отстойник.
Рис. 1 Схема непрерывного процесса выделения гидроокиси хрома из отработанных хромсодержащих дубильных жидкостей и его повторного использования для дубления
Прозрачный хромсодержащий раствор из средней части резервуара 5, проходя под отражателем 10, поступает в смеситель 11, в который из резервуара 12 подается каустическая сода или какой-либо другой щелочной раствор для того, чтобы поддерживать величину рН в резервуаре И равной 8,0—9,5. Если концентрация осажденного гидроксида хрома достаточно высока, то отстаивание в осветлителе 13 можно не проводить; в этом случае смесь непосредственно поступает на фильтр 14 для непрерывной фильтрации под давлением. Если же суспензия гидроксида хрома достаточно разбавлена, то перед фильтрованием ее направляют в отстойник 13, где осадок собирается в конической нижней части.
Одновременно чистый раствор, находящийся над осадком, декантируют из отстойника на определенной высоте, уменьшая таким образом до минимума объем суспензии гидроксида хрома, которую необходимо фильтровать. Суспензию перекачивают под давлением насосом 15 на непрерывную фильтрацию на фильтре 14, где поддерживается постоянная толщина слоя осадка и происходит концентрирование гидроксида хрома до заранее определенной концентрации.
При достижении этой желаемой концентрации (14—15%) концентрировали пасту гидроксида хрома направляют в резервуар 16, куда из емкости 17 подается для смешения серная кислота до тех пор, пока не будет достигнута требуемая основность и произойдет растворение осадка. Прозрачный фильтрат с фильтра 14 по линиям 18 и 19 направляется в сток; суммарное содержание хрома в нем составляет менее 2 рргп.
В нижней части рис. 1 проиллюстрирована работа фильтра 14. Этот многосегментный фильтр для непрерывного фильтрования под давлением имеет входное отверстие 20, ведущее в корпус 21. Внутри корпуса размещены вращающиеся фильтровальные пластины 22, состоящие из металлического диска 23, прилегающего к фильтрующей поверхности 24. Жидкость проходит через фильтр 24 и выводится через
коллекторную трубу 25. Стационарные пластины 26 закреплены внутри корпуса и состоят из круглых полых каркасов, с фильтровальными поверхностями 27, через которые проходит фильтрат, вытекающий далее через коллекторную линию 28. По линиям 18 и 19 фильтрат отводится в сток. Осадок, образующийся при фильтровании, выбрасывается по линии 29, на которой имеется пневматический клапан, срабатывающий, когда давление достигает определенного уровня.















