123144 (689374), страница 2
Текст из файла (страница 2)
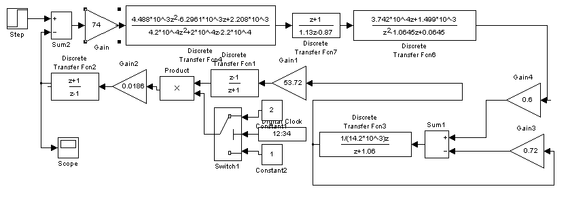
Рисунок 3.1 – Структурная схема ЦЭП, полученная на MATLAB.
Рисунок 3.2 – Переходной процесс, полученный на MATLAB по расчётным коэффициентам регулятора.
Коэффициент колебательности у такой системы:
.
Время переходного процесса:
с или 100 мс.
Перерегулирование
.
Система удовлетворяет заданным требованиям.
3.2 Определение реакции системы на линейно-возрастающее
воздействие
Этот эксперимент проводится для определения скоростной ошибки системы. Для этого на вход системы подадим линейно-нарастающий сигнал (угол нарастания 45, т.е. К=1). Этот сигнал можно получить путём интегрирования единичного ступенчатого воздействия (см. рис. 3.3):
Рисунок 3.3 – Структурная схема системы при подаче линейно-нарастающего воздействия.
На выходе системы имеем переходной процесс:
, м/с
t, c
Рисунок 3.4 – Переходной процесс при подаче линейно-нарастающего воздействия.
3.3 Работа привода под нагрузкой
Кроме исследования работы привода без нагрузки целесообразно провести анализ его работы под действием нагрузки, которая представляет собой момент сопротивления (или статический ток ).
Синтезированная выше система представлена передаточной функцией, которая не позволяет ввести нагрузку, поскольку электромеханическая часть двигателя и формирователь тока завязаны в одно звено. Поэтому необходимо произвести эквивалентные преобразования структурной схемы привода, которые не изменят сути передаточной функции, но позволят ввести нагрузку.
Электромеханическая часть двигателя, т.е. та часть в которой происходит преобразование тока в скорость вращения, описывается передаточной функцией, представленной выражением (1.2). Преобразуем это выражение в z-форму.
(3.4)
Теперь для осуществления эквивалентных преобразований структурной схемы достаточно передаточную функцию помножить на выражение, обратное (3.4 ), т.е.:
(3.5)
Затем поставить дополнительно суммирующее устройство, на которое подать нагрузку.
Таким образом, упрощенно структурную схему можно представить в виде, показанном на рисунке (3.6)
Рисунок 3.6-Схема привода для определения реакции его на нагрузку
Приведенная выше схема реализуется на MATLABе. В результате полученного переходного процесса можно сказать, что при нагрузке, близкой к номинальной в приводе в момент введения этой нагрузки ( определяется “дискретными часами” ) наблюдается просадка скорости, которая затем устраняется благодаря влиянию регулятора. Переходный процесс для привода при включении нагрузки представлен ниже.
Рисунок 3.7 – Структурная схема на MATLAB с набросом нагрузки.
, м/с
t, c
Рисунок 3.8 – Переходной процесс при набросе нагрузки.
-
РАЗРАБОТКА МАТЕМАТИЧЕСКОЙ МОДЕЛИ
ПОДСИСТЕМЫ ИДЕНТИФИКАЦИИ
Изменение момента инерции нагрузки влияет на динамическую ошибку системы. Сымитировать скачкообразное изменение момента инерции нагрузки можно с помощью модели в MatLABe (см. рис 4.1):
Рисунок 4.1 – Имитация изменения момента инерции нагрузки.
Подсистема идентификации момента инерции приведена на рис.4.2.
Рисунок 4.2 – подсистема идентификации.
Выведем зависимость i=f(,Jн):
1. Найдём Jн:
;
;
. (4.1)
2. Но
, отсюда
. (4.2)
-
Подставим значение Jн в формулу (4.1):
(4.3)
(4.4)
В формулу (4.4) подставим численные значения:
,
,
.
; (4.5)
Реализуем данную функцию в MatLABe (см. рис. 4.3):
Рисунок 4.3 – Реализация подсистемы идентификации в MatLABe
Подсистема идентификации (ПИ) включается в систему управления следующим образом (см. рис. 4.4):
Рисунок 4.4 – Подключение ПИ в систему управления.
Исследуем переходные процессы в системах с ПИ и без нее при параметре момента инерции Jн =10Jд (см. рис. 4.5 и 4.6):
Рисунок 4.5 Переходные процессы без ПИ
, м/с
, м/с
t, c
Рисунок 4.6 – Переходные процессы в системах с ПИ
Как видно из рисунка, уменьшилась колебательность системы, а также уменьшилась просадка скорости при изменении момента инерции нагрузки.
Действия ПИ аналогичны при моменте инерции нагрузки, равному 5Jд и Jд (см. рис. 4.7, 4.8):
t, c
Рисунок 4.7 Переходные процессы при Jн =Jд без ПИ
, м/с
t, c
Рисунок 4.8 – переходные процессы при и Jн=Jд с ПИ
Предпримем попытку идентифицировать полученную систему, как апериодическое звено II порядка
. При идентификации целесообразно использовать обратную частотную характеристику
, точнее квадрат её модуля
. Произведём замену
,
, а коэффициенты
,
,
. В результате получим уравнение параболы
.
Произведём ряд опытов с подачей в систему синусоидального воздействия единичной амплитуды и различной частоты.
м/с
рад/с
Рисунок 4.9 – Апмлитудно-частотная характеристика.
Рисунок 4.10 – Апмлитудно-фазовая характеристика.
В результате аппроксимации в параболу получили следующее уравнение:
.
Отсюда
Тогда передаточная функция модели будет иметь вид:
Преобразуем его в MathCADe в Z-форму
Реализуем полученную передаточную функцию в MATLAB 6
Рисунок 4.11 модель полученной передаточной функции в MATLAB
Результаты реализации представлены на рисунке 4.12:
, м/с
t, c
Рисунок 4.12 – Переходной процесс в объекте
Анализ графиков переходных процессов, представленных на рисунках 4.11 и 3.2 позволяет сделать вывод об их качественном сходстве, а следовательно и верности идентификации системы.
Выводы
В процессе курсовой работы были получены передаточные функции неизменяемой части, регулятора, была построена желаемая ЛАЧХ. Оценка качества регулирования была проведена на ЭВМ при помощи пакетов MatLAB b MathCAD. В результате проверки можно сделать вывод об удовлетворительной работе системы при подаче на неё различных сигналов. В соответствии с заданием была разработана подсистема идентификации изменения момента инерции нагрузки. При её подключении заметно улучшилась реакция системы на нагрузку, уменьшилась динамическая ошибка. Была проведена идентификация системы цифрового электропривода как астатического звена второго порядка. По результатам сравнения модели и объекта можно судить о достаточно высокой точности идентификации.
Перечень ссылок
-
Лебедев А.М. «Следящие электроприводы станков с ЧПУ» - Москва 2000 г.
-
Лебедев А.М. «Моделирование в научно-технических исследованиях» - Москва 1999г.
-
Сердюк А.А. Лекции по курсу «Идентификация и моделирование технологических объектов» - ДГМА 2006 г.
-
Сердюк А.А. Методические указания к курсовому проектированию по дисциплине «Программное управление станков» - ДГМА 2004 г.















