123130 (689368), страница 3
Текст из файла (страница 3)
Для защиты слоя битумной мастики она покрывается сверху защитной оберткой (стеклохолстом, бризолом, бикарулом, оберткой ПДБ и ПРДБ).
Изоляционные покрытия на основе битумных мастик применяются при температуре транспортируемого продукта не более 40 °С и на трубопроводах диаметром не более 820 мм.
Полимерные покрытия
Для защиты трубопроводов применяют полимерные покрытия из следующих материалов:
• экструдированного полиолефина;
• полиуретановых смол;
• термоусаживающихся материалов;
• эпоксидных красок;
• полимерных или битумно-полимерных лент.
Полиолефины (полиэтилен, полипропилен и их сополимеры) — это высокомолекулярные углеводороды алифатического ряда, получаемые полимеризацией соответствующих олефинов.
Полиэтилен является продуктом полимеризации газообразного этилена. Он эластичен, обладает высокими механическими диэлектрическими свойствами, морозостойкостью (ниже -70 °С), водостойкостью, устойчивостью к нефти, газу и нефтепродуктам. Однако полиэтилен горюч, имеет низкую адгезию, подвержен старению в процессе эксплуатации (под действием тепла и кислорода воздуха), а также медленно деформируется (под действием нагрузок).
Для уменьшения горючести полиэтилена в него вводят специальные добавки (оксид сурьмы, хлорированные углеводороды и др.). Одновременно повышаются его механические свойства. С целью предупреждения старения полиэтилена и соответственного ухудшения физико-механических свойств (уменьшаются морозостойкость, текучесть, относительное удлинение, ударная вязкость, повышается хрупкость) в него при изготовлении вводят стабилизаторы, например фенолы.
Полипропилен является продуктом полимеризации пропилена (газообразного гомолога этилена). Он обладает более высокой прочностью, жесткостью и теплостойкостью по сравнению с полиэтиленом.
Полиуретаны — это полимеры, получаемые полимеризацией диизоцианатов или полиизоцианатов с соединениями, содержащими активные атомы водорода. Полиуретаны могут быть вязкими жидкостями или твердыми продуктами. Они устойчивы к действию кислот, масел, бензина, обладают высокими адгезией к стали, прочностью при ударе, удельным электросопротивлением и сопротивлением катодному отслаиванию, а также низким водопоглощением. Однако полиуретановые мастики практически непригодны для нанесения в полевых условиях при отрицательных температурах, т. к. имеют длительный период полимеризации, которая протекает только при положительной температуре (до 8 ч при температуре 20 °С). Кроме того, некоторые марки полиуретановых мастик токсичны.
Основу термоусаживающихся материалов составляет радиационно-вулканизированный полиэтилен трехмерной структуры, который при тепловом воздействии на него обеспечивает усадку изделия на защищаемой поверхности. Термоусаживающиеся материалы применяются в виде оберточных лент, манжет и муфт для изоляции сварных соединений труб с заводской изоляцией. Эпоксидные смолы после отверждения образуют покрытия, характеризующиеся высокой адгезией к металлам, механической прочностью, тепло-, водо- и химической стойкостью, хорошими диэлектрическими показателями. Защитные свойства эпоксидных смол существенно зависят от вида отвердителя, который предопределяет способ их сушки: горячий или холодный (при температуре 15.. .20 °С). К недостаткам тонкопленочных эпоксидных покрытий относятся относительно низкая ударная прочность и недостаточная стойкость к катодному отслаиванию.
Полимерные ленты в сравнении с мастиками более технологичны при нанесении и позволяют в значительной степени механизировать этот процесс. Кроме того, они обладают высокими диэлектрическими свойствами.
Изоляционные ленты выпускают на основе полиэтилена или поливинил-хлорида (ПВХ). Они состоят из полимерной пленки-основы, на которую нанесен подклеивающий липкий слой. Основа ленты обладает необходимыми механическими и диэлектрическими свойствами, а подклеивающий слой обеспечивает требуемую адгезию с металлом трубы и герметизацию нахлеста между слоями ленты.
Большим недостатком липких полимерных лент является постепенная утрата адгезии к металлу. Поэтому примерно через 5 лет после их нанесения металл оказывается не защищенным от коррозии. Другой недостаток ленточных покрытий — образование так называемых «шатровых пустот» в околошовной зоне, которые в дальнейшем становятся очагами коррозии.
Тип полимерного покрытия выбирается в зависимости от условий его эксплуатации. Одним из определяющих параметров является температура транспортируемого продукта Тп. Так, усиленное ленточное покрытие применяется при Т < 40 °С, покрытие на основе экструдированного полиолефина — не более 60 °С; на основе термостойких полимерных лент, полиуретановых смол, эпоксидных красок — не более 80 °С, на основе термоусаживающихся материалов — до 100 °С. Есть ограничения по применению изоляционных материалов в зависимости от диаметра трубопровода. Так, некоторые типы ленточных полимерных покрытий и покрытия на основе эпоксидных красок применяются на трубах диаметром не более 820 мм, покрытия же на основе экструдированного полиолефина и на основе полиуретановых смол допускаются к применению на трубопроводах диаметром от 273 до 1420 мм.
На участках со сложными почвенно-климатическими условиями, и особенно на подводных переходах, где трубы нередко укладываются методом протаскивания, к изоляционным покрытиям предъявляются особо высокие требования: значительная механическая прочность, низкая степень истираемости, высокая адгезия к металлу, химическая стойкость, долговечность. В этих условиях очень привлекательно выглядят антикоррозионные покрытия из полиуретанов. Данный материал обладает высокими изолирующими свойствами, значительной твердостью, эластичностью, чрезвычайно высоким сопротивлением истиранию, царапанию и биоповреждениям. Кроме того, полиуретаны стойки к воде, растворам солей и обладают хорошей адгезией к металлам.
Комбинированные покрытия
На протяжении многих лет в нашей стране наряду с мастичными широко применялись покрытия на основе липких полимерных лент. Опыт их использования показал, что они очень технологичны (простота нанесения, удобство механизации работ), однако легко уязвимы — острые выступы на поверхности металла, острые камешки легко прокалывают такую изоляцию, нарушая ее сплошность. С этой точки зрения хороши покрытия на основе битумных мастик, проколоть которые достаточно сложно. Однако с течением времени битумные мастики «стареют»: теряют эластичность, становятся хрупкими, отслаиваются от трубопроводов.
ВНИИСПТнефть (ныне ИПТЭР) разработал конструкцию комбинированного изоляционного покрытия «Пластобит», лишенную указанных недостатков. Покрытие представляет собой комбинацию битумного и пленочного покрытий: на слой грунтовки наносится битумная мастика толщиной 3.. .4 мм, которая сразу же обматывается поливинилхлоридной пленкой без подклеивающего слоя. Величина нахлеста регулируется в пределах 3...6 см. В момент намотки полимерного слоя часть мастики выдавливается под нахлест, что обеспечивает герметизацию мест нахлеста.
Полимерный слой в конструкции покрытия «Пластобит» играет роль своеобразной «арматуры», которая обеспечивает независимо от срока службы сохранение целостности основного изоляционного слоя — битумного. В свою очередь, прокол полимерной пленки не приводит к нарушению целостности покрытия, так как слой битумной мастики имеет достаточно большую толщину. Более того, опыт эксплуатации покрытия «Пластобит» показывает, что в местах мелких сквозных повреждений полимерной части имеет место «самозалечивание», выражающееся в вытекании части мастики через это отверстие и застывание ее в виде грибка над местом повреждения.
Покрытие «Пластобит» является технологичным с точки зрения нанесения, не требует значительной перестройки применяемой до настоящего времени технологии капитального ремонта, обладает высокими защитными качествами, которые, по утверждению разработчика, не ухудшаются со временем.
Однако относительно высокая текучесть, малая ударная вязкость и слабая несущая способность материала не позволяют использовать покрытие «Пластобит» для труб диаметром более 820 мм.
Новым типом комбинированного изоляционного покрытия является «Армопластобит», отличающееся от «Пластобита» тем, что в нем в качестве армирующего материала вместо стеклохолста используется нитепрошивная стеклосетка. «Армопластобит» допускается использовать на трубопроводах диаметром до 1220 мм включительно.
В последние годы разработаны битумно-полимерные изоляционные ленты для газонефтепроводов, также являющиеся комбинированными. Так, лента ЛИБ (лента изоляционная битумная) представляет собой рулонный материал, состоящий из основы (полимерной пленки), на которую нанесен слой битумной мастики и слой антиадгезива. Покрытие на основе ленты ЛИБ аналогично покрытию типа «Пластобит», но в отличие от последнего наносится холодным способом.
В последние годы разработаны и другие типы комбинированных изоляционных покрытий, сведения о которых приведены в табл. 11.3.
Таблица 1— Сведения о комбинированных покрытиях
3.2 Способы электрохимической защиты
Практика показывает, что даже тщательно выполненное изоляционное покрытие в процессе эксплуатации стареет: теряет свои диэлектрические свойства, водоустойчивость, адгезию. Встречаются повреждения изоляции при засыпке трубопроводов в траншее, при их температурных перемещениях, при воздействии корней растений. Кроме того, в покрытиях остается некоторое количество незамеченных при проверке дефектов. Следовательно, изоляционные покрытия не гарантируют необходимой защиты подземных трубопроводов от коррозии. Исходя из этого защита трубопроводов от подземной коррозии независимо от коррозионной активности грунта и района их прокладки должна осуществляться комплексно: защитными покрытиями и средствами электрохимической защиты (ЭХЗ).
3.2.1 Катодная защита
Катодная защита заключается в наведении на трубопровод специальными установками внешнего электрического поля, создающего катодный потенциал на поверхности трубы. При такой защите коррозионному разрушению подвергается электрически подключенный к защищаемому трубопроводу 1 анод 3, изготовленный из электропроводных материалов.
Защита магистральных трубопроводов от почвенной коррозии осуществляется катодной поляризацией поверхности трубы установками катодной защиты (автоматическими и неавтоматическими).
Для расчета установок катодной защиты необходимо при проведении электрометрических работ получить данные об удельном электрическом сопротивлении грунта в поле токов катодной защиты, а также в месте установки анодного заземления, иметь данные по характеристике трубопровода, ввиду изоляционного покрытия и наличию источников электроснабжения.
Основными параметрами установки катодной защиты являются сила тока и длина защитной зоны, в зависимости от которых принимаются мощность установки, тип и число анодных заземлителей, длина дренажных линий.
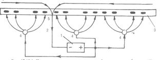
Принципиальная схема катодной защиты изображена на рис. 2
Рисунок 2 - Принципиальная схема катодной защиты трубопровода: 1 — источник постоянного тока; 2 — изолированный электропровод; 3 — трубопровод с поврежденной изоляцией; 4 — анод (заглубленное железо); 5 — дренаж (соединение тела трубы с электропроводом)
3.2.2 Протекторная защита
Протекторная защита относится к электрохимическому виду защиты трубопровода от коррозии и основана на принципе работы гальванического элемента. Она автономна, благодаря чему может использоваться в районах, где отсутствуют источники электроэнергии.
Принципиальная схема протекторной защиты изображена на рис. 3. Наиболее распространенными протекторами являются магниевые, потенциал которых Епр до подключения их к трубопроводу составляет - 1,6 В. Минимальный расчетный защитный потенциал Emin p составляет, так же, как и для катодной защиты - 0,85 В, естественный потенциал трубопровода по отношению к медносульфатному электроду сравнения Еест = - 0,55 В. Для повышения эффективности работы протектора его погружают в специальную смесь солей, называемую активатором.
При протекторной защите к защищаемому трубопроводу присоединяют металлический протектор 5 (анодный электрод), и имеющий более вязкий электрический потенциал, чем потенциал металла трубопровода. С применением протекторной защиты трубопровод принимает полярность катода, а протектор - анода.
Рисунок 3 - Принципиальная схема протекторной защиты
Принцип действия протекторной защиты аналогичен работе гальванического элемента.
















