122983 (689324), страница 3
Текст из файла (страница 3)
Рисунок 1 - Сравнение распределения расчетного перепада давления между участками сети при различных методах расчета
Сравнение показывает, что при использовании метода оптимальных диаметров линия гидравлических уклонов представляет собой ломаную линию, всегда располагающуюся ниже линии гидравлических уклонов при традиционном решении.
Отсюда можно сделать следующие практические выводы, которые необходимо учитывать при традиционном методе решения:
1. Если, после выбора стандартных диаметров, конечное давление в конце расчетного направления оказалось существенно больше минимально допустимого, то можно уменьшить диаметры на начальных участках рассматриваемого направления.
2. Если же, после выбора стандартных диаметров, конечное давление в конце расчетного направления оказалось меньше минимально допустимого, то следует увеличивать диаметры на участках, расположенных ближе к концу рассматриваемого направления.
Согласно СНиП 42-01-2002 рабочее давление в сети низкого давления не должно превышать 5кПа, а в жилых домах её значение не должно быть выше 3 кПа, отсюда принимаем рабочий перепад давлений АРР=1200 Па.
Расчет диаметров производим по программе Seti_ok3.bas. Результаты вычислений приведены ниже.
Результаты гидравлического расчета разветвленной газовой сети
| Участок | L, м | 0,мЗ/ч | D*b, мм*мм | Перепад Па |
| 1 2 3 4 5 б 7 8 9 10 11 12 13 14 15 16 17 18 19 20 21 22 23 24 25 26 27 28 29 30 31 | 53 24 91 19 105 19 273 306 321 263 306 321 153 206 273 234 167 211 19 120 19 19 129 134 100 211 19 201 96 86 201 | 471,5 421,9 273,0 242,5 222,2 111,1 93,8 57,4 19,1 92,0 55,6 19,1 10,1 15,3 36,6 11,7 144,2 52,2 41,8 6,0 29,8 14,9 7,4 7,4 77,2 11,7 57,7 10,3 30,0 25,1 11,7 | 219*6 159*4,5 159*4,5 159*4,5 159*4,5 108*4 108*4 89*3,5 89*3,5 108*4 89*3,5 76*3,5 57*3 57*3 76*3,5 57*3 108*4 76*3,5 76*3,5 57*3 76*3,5 57*3 57*3 57*3 89*3,5 57*3 76*3,5 57*3 76*3,5 76*3,5 76*3,5 | 31,1 56,3 96,1 16,3 76,4 28,6 299,4 362,9 53,2 278,8 342,3 121,9 80,6 224,6 331,4 159,8 403,3 487,2 29,7 25,0 16,1 20,0 39,3 40,7 204,1 143,5 53,3 108,7 81,2 53,3 32,0 |
Конечное давление по направлению 1 = 1979.8 Па
Конечное давление по направлению 2 = 1980.9 Па
Конечное давление по направлению 3 = 2719.6 Па
Конечное давление по направлению 4 = 2591.9 Па
Конечное давление по направлению 5 = 2477.7 Па
Конечное давление по направлению 6 = 1967.4 Па
Конечное давление по направлению 7 = 1917.0 Па
Конечное давление по направлению 8 = 1935.6 Па
Конечное давление по направлению 9 = 2161.7 Па
Конечное давление по направлению 10 = 2143.2 Па
Конечное давление по направлению 11 = 2085.3 Па
Начальное давление в сети Р1= 3000.0 Па
Требуемое конечное давление Р2= 1800.0 Па
Расчетный перепад давления Н0= 1200.0 Па
Массив направлений по приоритету :
| 1 | 9 | 8 | 7 | 6 | 5 | 4 | 3 | 2 | 1 |
| 2 | 12 | 11 | 10 | 5 | 4 | 3 | 2 | 1 | |
| 3 | 13 | 4 | 3 | 2 | 1 | ||||
| 4 | 14 | 3 | 2 | 1 | |||||
| 5 | 16 | 15 | 1 | ||||||
| 6 | 20 | 19 | 18 | 17 | 2 | 1 | |||
| 7 | 23 | 22 | 21 | 19 | 18 | 17 | 2 | 1 | |
| 8 | 24 | 21 | 19 | 18 | 17 | 2 | 1 | ||
| 9 | 26 | 25 | 17 | 2 | 1 | ||||
| 10 | 28 | 27 | 25 | 17 | 2 | 1 | |||
| 11 | 31 | 30 | 29 | 27 | 25 | 17 | 2 | 1 |
4. Выбор типа ГРП и его оборудования
По Q=471,5238 ivr/ч выбираем шкафной газорегуляторный пункт типа ГРПШ-400-01, изготовитель ООО «Радон и К°», город Энгельс Саратовской области. В состав пункта входят:
— узел фильтра;
— линия редуцирования давления газа;
— обводная линия, байпас.
Рисунок 2 - Шкафной газорегуляторный пункт
Таблица 3 - Технические характеристики ГРПШ-400-01
| Регулятор давления газа | Давление газа на входе, Рвх, МПа | Диапазон настройки выходного давления, Рвых, кПа | Максимальная пропускная способность, м3/ч | Масса, кг |
| 1 | 2 | 3 | 4 | 5 |
| РДНК-400М | 0,6 | Рвых =2-5 | 500 | 90 |
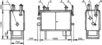
Рисунок 3 - Габаритный чертеж газорегуляторного пункта шкафного (ГРПТТТ)
1— Рвх; 2 — дымоход; 3 — выход клапана предохранительного сбросного; 4 — вентиляционный патрубок; 5 — продувочный патрубок; 6 — вход клапана предохранительного сбросного; 7 — Рвых; 8 — подвод импульса к регулятору.
Подбор оборудования ГРП производительностью 471,5238 м3/ч при избыточном давлении на входе 95 кПа и на выходе ЗкПа. Плотность газа 0,725 кг/м3, температура газа Т=276 К.
Предварительно задаемся потерями в газопроводах ГРП, кранах 1,5, предохранительном запорном клапане 3 и фильтре 2 (рисунок 3) в размере 3 кПа. В этом случае перепад давления на клапане регулятора 4 давления будет равен ДР=95-3-3=89кПа
Рисунок 4 - Расчетная схема ГРП
Абсолютное давление газа на входе и выходе регулятора давления (РД)
Р1 =Ри+Ра =95+1 00=1 95 кПа,
Р2=3+100=103кПа
Режим течения газа через клапан РД
что говорит о докритическом течении газа через РД.
По полученному значению ∆Р/Р1 =0,456 из графика [2] находим значение поправки на изменение плотности газа ε =0,772 при коэффициенте адиабаты для природного газа k=l,3-
Определим коэффициент пропускной способности РД















