122884 (689281), страница 3
Текст из файла (страница 3)
Глава 3 УДОБРЕНИЯ ИЗ ОТРАБОТАННОЙ СЕРНОЙ КИСЛОТЫ
Процесс включает стадии: а) подачу первого исходного материала — отработанной серной кислоты; б) подачу второго исходного материала, состоящего в основном их хлорида калия; в) смешивание двух исходных материалов; г) нагревание при повышенной температуре (более 150 °С) с образованием мелкокристаллического порошка сульфата калия; д) смешивание кристаллического сульфата калия с гранулирующими агентами и небольшим количеством воды до получения мелких гранул; е) сортировку гранул по размеру.
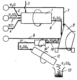
Схема процесса приведена на рис. 1. Аппаратура состоит из большой вращающейся обжиговой печи 1, гранулятора 9 и ротационного холодильника 12. Подаваемые материалы — вода 2, отработанная серная кислота H2S04 3, хлористый калий КС1 4
Процесс выделения алюминия и других металлов из зольной пыли:
1 — бойлерные топки; 2 — бункер для зольной пыли; 3 — грануляция; 4 — окислительное хлорирование; 5 — холодильник; 6 — хлорид железа, продукт; 7 — фракционная дистилляция; 8 — пар; — хранилище хлорида кремния: — бункер для сухого продукта; // — магнитное разделение; 12 — магнетит; 13 — сушка гранул; 14 — подача воздуха; 15 — подача топлива; 16 — хранилище пакетированных гранул; 17 — восстановительное хлорирование; 18 — кокс; 19 — кислород; 20 — генератор оксида углерода; 21 — серная кислота; 22 — выщелачивание остатка; 23 — разделение фаз; 24 — твердая фаза в отвал; 25 — перегонка под давлением; 26 — товарный продукт; 27 — связующий раствор; 28 — многоцелевой испаритель; 29 — подача хлора; 30 — возврат СО и COf; si — возврат тетрахлорида кремния; 32 — подача воды; 33 — хранилище хлорида алюминия; 34 — камера для дожигания
Процесс для выделения алюминия из зольной пыли, содержащей железо, кремний и читан, включает следующие операции:
а) хлорирование золы в атмосфере кислорода и отгонка парообразного хлорида железа из образовавшейся смеси;
б) хлорирование остатка стадии а в восстановительной атмосфере (в присутствии оксида углерода) с добавкой хлорида кремния для подавления реакции хлорирования кремния и отгонкой парообразных хлоридов алюминия, кремния, титана и остаточного хлорида железа;
в) разделение и извлечение индивидуальных отогнанных хлоридов селективной конденсацией; обработка остатка стадии б серной кислотой с превращением хлорида кальция в гипс и регенерацией хлорирующего и связующего раствора для гранулирования подаваемой зольной пыли.
Этот процесс схематически показан на рис. 3. Зольная пыль вместе с продукции сгорания из бойлеров, обогреваемых углем, собирается в бункере.
Собираемая зола периодически транспортируется в накопительный бункер. Сухая зольная пыль может подвергаться магнитной сепарации. Как правило, при этом отделяется 50—60 % магнетитового железа. Далее зола подается на стадию грануляции, где добавляется солянокислый связующий раствор; при этом получают тяжелые прочные гранулы. Гранулы далее высушиваются при 300 °С в туннельных печах при непосредственном контакте с пламенем. Сухие гранулы используются в качестве исходного материала для хлорирования. Зольная пыль может измельчаться перед гранулированием, однако измельчение не влияет на выход выделяемого металла. Гранулирование является обязательным при использовании шахтных реакторов.
Соляная и серная кислоты представляют собой подходящие связующие компоненты для гранулирования без добавок углерода. В отсутствие связующих компонентов в результате спекания при 300 "С зольная пыль дает гранулы с малой прочностью. Наличие углеродсодержащих материалов также снижает прочность гранул. Гранулы высушиваются в форсуночных печах или за счет использования тепла высокотемпературных отходящих газов окислительных хлораторов.
Как видно из рис. 3, за стадией окислительного хлорирования следует восстановительное хлорирование. Установлено, что наиболее эффективно удаление железа путем селективного хлорирования на стадии окислительного хлорирования с последующей отгонкой и конденсацией образующегося хлорида железа. До 98 % железа отгоняется без заметного хлорирования и отгонки других металлов. Весьма важно, что на этой стадии не образуется и не отгоняется хлорид алюминия. В процессе хлорирования для уменьшения расхода хлора необходимо подавить хлорирование других металлов, в первую очередь кремния, содержание которого в золе может быть >25 %.
Установлено, что степень хлорирования диоксида кремния в процессе восстановительного хлорирования значительно уменьшается при использовании в качестве восстановителя одного оксида углерода вместо смеси углеродсодержащих материалов. Оксид углерода значительно повышает селективность хлорирования алюминия по сравнению с кремнием. Введение хлорида кремния в реакционную газовую смесь оксида углерода и хлора приводит к практически полному подавлению процесса хлорирования кремния (например, при 950 °С).
В процессе хлорирования происходит также хлорирование щелочных и щелочноземельных металлов. Подавлению хлорирования этих металлов не уделяется специального внимания, так как найдены эффективные способы переработки остатка, содержащего хлориды этих металлов. Оптимальные условия для уменьшения хлорирования натрия и магния реализуются при проведении хлорирования в отсутствие углерода и температуре 950 °С.
Окислительное хлорирование с целью селективного выделения железа предпочтительно проводить в шахтных хлораторах при использовании в качестве сырья гранул со связующим компонентом. Попытки удалить железо из гранул путем перхлорирования в восстановительных или нейтральных условиях оказались неосуществимыми вследствие одновременного хлорирования избытка оксида алюминия.
Для реализации процесса целесообразно использовать несколько периодических шахтных хлораторов, работающих в циклическом режиме, обеспечивающем максимальную рекуперацию тепла. Сырье предварительно нагревают до требуемой температуры горячими нейтральными газами угольных топок. Смесь хлора и кислорода затем циркулирует через реактор в течение 3 ч, в результате чего 90—95 % содержащегося железа удаляется в виде паров хлорида. Летучий хлорид железа собирается в воздушном конденсаторе. Затем следует стадия восстановительного хлорирования.
В реактор добавляется оксид углерода; реакция в ее присутствии достаточно экзотермична и не требует наружного обогрева. Хлорирование продолжается 4— 8 ч, причем остаточный хлорид железа собирают в конденсаторе первой стадии, а высокочистый хлорид алюминия — в конденсаторе второй стадии.
Около 3 % (объемн.) хлорида кремния вводится в реактор в процессе восстановления с целью подавления хлорирования кремния. В конденсаторе третьей стадии собирают хлориды титана и кремния. Хлоратор охлаждается и очищается от остатков хлора путем продувки воздухом, а выходящие газы поступают в следующий хлоратор для нагревания и взаимодействия с остаточным хлором и хлористым кремнием.
Для введения хлорида кремния предпочтительно пропускать хлор, подаваемый в реактор через жидкий хлорид кремния. Охлажденные выработанные гранулы подаются на стадию выщелачивания, где отделяются водорастворимые хлориды и кальциевые соли переводятся в гипс под действием серной кислоты. Твердый осадок отфильтровывают, моют и удаляют в виде отходов. Солянокислый раствор выпаривают и возвращают на стадию грануляции для использования в качестве связующего компонента и хлорирующего агента.
















