83850 (689029), страница 4
Текст из файла (страница 4)
(1 = Nсегм /Р);
- рейтинг одного используемого канала - Крейт или сумма по нескольким используемым каналам;
- количество регионов, областей, городов, охваченных зоной приема канала –
L (mi * Ai).
Таким образом, все эти известные параметры для рекламы по телевидению и радио можно объединить одним общим коэффициентом Кт:
Кт = Крейт * I (mi * Ai) * (1 + Nсегм / Р).
Все дальнейшие расчеты проводятся путем изменения переменных параметров, стоящих в левой части следующего выражения:
(T/Tcp)*(nk/no)*'g = (n6*Np6 + nB*NpB)/KT.
В правой его части - все известные параметры.
Аналогичное выражение можно получить для периодической печати, где коэффициент Кп, объединяющий неизменные параметры, равен:
Кп = Крас * (1 + NcerM /Nизд).
Тогда расчетный оценочный способ определения эффективности рекламы сводится к изменению переменных параметров рекламы периодической печати, стоящих в левой части выражения.
(S / 8л) * (f / fM) * g * Nизд = (пб * Np6 + пв * Np6) / Кп.
При этом результат выдается в долях реального контрольного значения эффективности рекламы.
1.4.3 Аналитические способы определения эффективности рекламы
К аналитическим относятся способы определения эффективности рекламы, которые основаны на преобразовании оценочной информации для следующих целей:
- улучшение точности измерений;
- расчета окупаемости рекламы с минимальной погрешностью и учетом одного и многих посещений фирмы, продающей товары или услуги;
- выявления эффекта неравномерного воздействия рекламы на различные виды товаров или стоимостные категории товаров;
- учета влияния сезонности и внешнеэкономических изменений;
- разделения влияния рекламы и конкуренции.
Перечислены главные цели, характерные для существующей стадии раз • вития рынка. По мере его изменения появляются новые аналитические способы и могут становиться неэффективными старые.
На рисунке 4 показана классификация аналитических способов определения эффективности рекламы.
Рисунок 4 - Классификация аналитических способов определения эффективности рекламы
1.4.4 Относительная методика определения эффективности рекламы
Реклама характеризуется неоднозначностью по результатам полученной эффективности. Неоднозначность определяется в том, что одновременно с действием объявлений могут существовать другие факторы, которые уменьшают и даже нейтрализуют влияние объявления. Вот они:
- сезонность;
- выдача бюджетных средств в один и тот же период;
- возможность в ряде отраслей увеличение сумм продаж в третью неделю месяца;
- влияние внешнеэкономических изменений;
- изменение конъюнктуры рынка и проникновение на наш рынок новых сильных компаний, обладающий развитой сетью дистрибуции и брэндами;
- влияние погодных условий - сильных снежных заносов или же периода проливных дождей.
Все эти внешние воздействия можно разделить на две категории: непредсказуемые и повторяемые. Непредсказуемые учесть сложно - они обнаруживают себя только фактом своего воздействия. Повторяющие факторы, такие как сезонность. Можно учесть заблаговременно аналитическими способами
Предлагаемая относительная методика как раз и позволяет учесть влияние внешних факторов независимо от их происхождения.
Есть и другая сторона полезности этой методики, связанная с повышением точности определения эффективности рекламы.
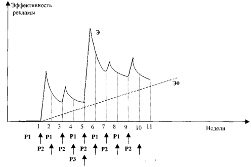
Эффективность рекламы характеризуется главным параметром - количеством новых клиентов, привлеченных её влиянием. Кроме того, она может определяться и другими параметрами: количеством счетов, суммой и объемом покупок, сделанных этими новыми клиентами. Реальной воздействие рекламы таково, что после опубликования одного объявления может проявиться пик параметров эффективности. Этот пик обычно накладывается на «пьедестал», характеризующий формирование постоянной составляющей новых клиентов за счет частой подачи объявлений, наложений эффектов отдельных воздействий от объявлений, а также по причине наличия эффекта отложенного спроса.
На рисунке 5 приведен пример изменения во времени параметра эффективности рекламы. Указана также моменты воздействия объявлений трех видов рекламы - PI, P2, РЗ. Эти объявления по периодам времени кратны неделе. И^ рисунка видно, что эффективностью обладает реклама Р1, а реклама Р2, наоборот, никакого воздействия не производит. Наибольшее возрастание параметров эффективности Э наблюдается сразу же за совпадением размещения реклам Р1 иРЗ.
В практике рекламы наблюдается два наиболее распространенных случая - когда есть постоянная составляющая и когда её нет. На рисунке 6 показан случай наличия постоянной составляющей эффективности ЭО - наиболее предпочтительный его вариант, когда постоянная составляющая не только есть, но и имеет тенденцию линейного возрастания. Происходит это по причине наличия эффектных и частых объявлений.
В реальных условиях наличия коротких пиков по эффективности, как это показано на рисунке 6, сложно численно подсчитать её величину, так как она характеризуется тремя составляющими:
- максимальным значением пика;
- величиной постоянной составляющей;
- величиной провалов между пиков.
Относительная методика производит сглаживание по точкам характера графика и уменьшение погрешности измерений примерно в 1,5 - 2 раза.
Рисунок 5 - Реальное изменение во времени эффективности рекламы при воздействии рекламных объявлений PI, P2, РЗ разных видов
Рисунок 6 - Совмещение на одном рисунке графиков изменения эффективности рекламы за текущий Э1 и за предыдущий Э2 годы
2. Реклама на ОАО завод «Инвертор»
2.1 Общая характеристика ОАО завод «Инвертор»
ОАО завод «Инвертор» основан на базе электромеханического завода, который начал свою работу в 1944 г. и до строительства нового предприятия занимался изготовлением низковольтных комплектно-распеределительных устройств. Их производство было впоследствии переведено на новое предприятие, фундамент которого был заложен в 1981 году. В 1983 году на новом заводе была произведена первая партия продукции для атомных электростанций.
Контрольный пакет акций предприятия принадлежит трудовому коллективу предприятия.
Несмотря на экономический кризис, предприятие смогло сохранить свои позиции на рынке. Продукция используется в различных отраслях народного хозяйства, где есть оборудование, нуждающееся в бесперебойном и качественном электропитании. Основными ее потребителями являются предприятия энергетики (в том числе и атомной), металлургии, газопереработки и нефтехимии, а также узлы связи, типографии, медицинские учреждения.
Наряду с агрегатами и системами предприятие изготавливает и другую преобразовательную технику, такую как преобразователи напряжения, инверторы, выпрямители, шкафы управления оперативным током, коммутационные устройства, феррорезонансные стабилизаторы и блоки питания. Данное оборудование предназначено для преобразования тока, а также для регулирования параметров тока и напряжения.
Предприятие производит также низковольтные комплектные устройства (НКУ), предназначенные для управления, регулирования и защиты электроустановок, распределения, трансформации и учета электроэнергии, а также для электрических измерений и сигнализации, НКУ -изготавливается как по отраслевым стандартам так и по индивидуальным проектам.
Совместно с немецкой фирмой «MESSER-EWM» изготавливают сварочное оборудование инверторного типа, предназначенное для сварки всех видов сталей, сплавов на основе алюминия и никеля, меди и ее сплавов, для сварки изделий, работающих при высоких нагрузках и под высоким давлением.
На протяжении многих лет нашими партнерами являются такие предприятия как «Газкомплектимпэкс», ВПО «Зарубежатомэнергострой», ВО «Технопромэкспорт», все атомные электростанции России и Украины. Все изделия проходят на заводе полный цикл производства: изготовление металлоконструкций, изготовление трансформаторов, сборка и испытание готовых образцов. ОАО завод «Инвертор» имеет для этого современное технологическое оборудование и следующие производства:
- металлообрабатывающее;
- обработка пластмассы;
- гальваническое;
- инструментальное;
- трансформаторное;
- сборочное;
- лакокрасочное;
- испытательную лабораторию.
Коллектив завода - 596 человек, обладающих значительным опытом и знаниями в области производства сложных электротехнических изделий (источники бесперебойного питания - ИБП, выпрямители, инверторы, инверторные сварочные аппараты). Работники привыкли работать в условиях, когда к качеству продукции предъявляются особенно высокие требования - на заводе постоянно работает спец приемка Госатомнадзор (ГАН). Предприятие имеет лицензию на разработку и производство изделий для атомной энергетики.
Имеется возможность отгружать свою продукцию железнодорожным, автомобильным и авиационным транспортом. На предприятии действует гибкая система скидок оптовым покупателям и постоянным партнерам.
Ввиду спада производства и сокращения заказов традиционных потребителей, загрузка мощностей и производственных площадей завода в настоящее время составляет около 70%. Это позволяет разместить на заводе заказы на сборку и электротехнической продукции, используя имеющееся технологическое оборудование и квалификационные кадры. Завод готов размещать у себя заказы иностранных фирм по производству их изделий или отдельных блоков для России, СНГ и других стран. Таким образом, потенциальные партнеры смогут сократить свои затраты за счет уменьшения транспортных и таможенных расходов. Торговая марка «Инвертор» хорошо известна на нашем рынке. Кроме этого, завод готов осуществлять пуско-наладочные работы и гарантийное обслуживание всех изделий, проданных заводом, что высоко ценится потребителями.
Миссия завода заключается в организации высокотехнологического производства систем бесперебойного питания для удовлетворения потребностей различных отраслей народного хозяйства, где есть оборудование, нуждающееся в бесперебойном и качественном электропитании.
Основной целью завода является производство высокотехнологического, электротехнического оборудования и снабжение им различных отраслей народного хозяйства.
2.2 Реклама, используемая на ОАО завод «Инвертор»
На ОАО «Инвертор» используется несколько способов распространения информации о своей продукции и о себе. Так как завод выпускает специфическую продукцию, нецелесообразным будет рекламную компанию на TV, радио и в печати. То, что изготавливает ОАО «Инвертор» пользуется спросом в узком кругу потребителей, поэтому здесь применяется такие виды рекламы, как ИНТЕРНЕТ, телефонные продажи и выставочная деятельность.
Выставки являются одним из наиболее эффективных средств стимулирования продаж и стимулирования целевых аудиторий. Высокий коммуникационный эффект выставки заключается в возможности демонстрировать продукт, отвечать на вопросы и - что самое важное -строить личные отношения с покупателями и партнерами.
Так как ОАО «Инвертор» является предприятием широкой номенклатурой выпускаемой продукции ведется планирование выставочной деятельности по многим направлениям и как следствие - сочетание больших финансовых расходов с дефицитом времени для организации подготовительных работ к выставке, что влечет за собой снижение эффективности выставочной деятельности.
Процесс выставочной деятельности завода представлен алгоритмом, по которому ежегодно осуществляется анализ посещаемых выставок, выбор выставок для участия и составления плана-графика выставочной деятельности на следующий плановый период.
ОАО «Инвертор» определяет цели выставочной деятельности в рамках рыночных стратегии завода. Это необходимое условие как для выбора оптимального списка выставок для участия, так и для оценки эффекта от приведенного мероприятия.
При определении целей завод учитывает, что участие в выставке помогает ему осуществлять одновременно и коммутативную, и ценовую, и сбытовую, и товарную политику.
Наиболее важными целями участия в выставке является:
- определение возможного спроса на продукцию;
- ориентация в ситуации по отрасли;
- инициация действующих и поиск новых клиентов;
- поиск новых торговых посредников в регионе;
- завязывание новых контактов в деловом мире;
- изучение конкурентов.
При отсутствии достаточного бюджета или интереса к определенной выставке завод может ограничиться командированием на выставку своих представителей, без организации собственной экспозиции. Целью посещения представителя является:
- оценка конъюктуры и перспектив, тенденций рынка отрасли;
- сбор информации об определенных товарах, возможностях их применения;
- сбор информации на стендах основных конкурентов;
- сбор заказов, заключение договоров;
- оценка возможностей участия в качестве экспонента.















