89027 (677969), страница 3
Текст из файла (страница 3)
Стол координат должен давать возможность размещения обычного механизма для смены кадров с высотой в 800 мм под столом и вне его.
Следующим требованием является возможность большого передвижения деки в боковом и продольном направлениях. Двухстороннее перемещение деки стола позволяет обеспечить более точную установку кадров при просвечивании и изготовлении снимков. Также это очень удобно обслуживающему персоналу.
Такие принадлежности как держатели рук, инъекционный аппарат и другие присоединяются к обычным столбикам на краю стола.
При оформлении стола надо иметь ввиду, кроме минимальной фильтрации луча, удовлетворительную грузоподъемность без деформации, материал не дающий рентгеновской тени и возможность легкой стерилизации.
Рассмотрим конструкцию стола координат фирмы ДЖЕНЕРАЛ-ЭЛЕКТРИК.
Операционный стол или стол координат поставляется двух типов:
-
Стол со строго горизонтальной декой.
-
Стол с люлькообразной декой.
Первый тип стола передвигается в двух направлениях оси координат: горизонтальном и вертикальном.
Второй тип стола, помимо этих двух перемещений, осуществляет движение вокруг своей оси ±90о, что дает большие удобства при рентгеновских исследованиях.
Такое устройство также позволяет РТ и УРИ оставаться неподвижными, а исследуемую часть тела приспосабливать к ним.
Большая смещаемость деки по длине позволяет подвести исследуемую часть тела точно над устройством смены кадра.
Дека стола также может быть поднята вверх или опущена вниз в соответствии с ростом врача.
Устанавливаются оба стола на тумбу, которая прикреплена к полу.
Управление этими двумя столами осуществляется выносным пультом управления, в котором сосредоточены все пункты управления двумя столами.
Тумба осуществляет и вторую роль: внутри ее укреплена рентгеновская трубка, которая дает защиту от рентгеновского излучения.
Для фиксирования больного в косом положении используется специальная люлька, поворачиваемая электромотором на желаемый угол.
По краям деки имеются специальные рельсы, на которых крепятся дополнительные приспособления, такие как: держатели рук, датчик давления, ампулы с физиологическим раствором и другие приспособления.
Контроль за исследуемой частью тела осуществляется посредством рентгенотелевизионной системы.
-
Методы визуализации рентгеновского изображения в ангиографическом комплексе.
Для визуализации рентгеновского изображения используют РЭОП, который сочетается:
-
с телекамерой и телевизионной системой, дающей возможность наблюдать рентгеновское изображение на экране монитора;
-
с кинокамерой;
-
с устройством для видеомагнитной записи;
-
с камерой, осуществляющей снимки с экрана РЭОП на малоформатную плоскую или рулонную пленку (типа флюорографической камеры).
Применение РЭОП дает возможность:
-
Производить просвечивание в незатемненных помещениях при резко уменьшенной интенсивности излучения.
-
Резко уменьшить лучевую нагрузку на пациента и на врача.
-
Уменьшить рассеянное излучение.
-
Дополнительно регулировать четкость и контрастность изображения.
Обеспечить постоянный контроль в течение всего ангиографического исследования.
Видеомагнитофон дает возможность записать на магнитную ленту наблюдаемое изображение. Непосредственно после записи изображение может воспроизводиться, что дает возможность контролировать усиленность полученного результата еще в присутствии на столе пациента. Благодаря этому быстро и результативно решается вопрос о достаточности проведенного исследования или о необходимости повторения снимка.
Кроме того, проявляющиеся короткое время аномалии могут быть в процессе исследования не замечены врачом. Зато они становятся очевидными при осмотре видеозаписи с растяжением масштаба времени.
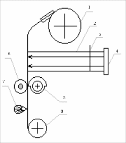
Высокая степень свечения экрана дает возможность часть светового потока направить в другие системы для фиксации изображения. Для этого используются специальные оптические системы, состоящие из линз и полупрозрачных зеркал, расположенных под требуемыми углами (рис. 1). Они называются распределителями света и бывают 2-х и 3-х канальными.
Для управления работой этой системы служит специальный электронный шкаф с микропроцессорами.
Кино- и фотосъемка с экрана УРИ приобретает особенно важное значение при исследованиях, требующих очень коротких выдержек (ангиография, коронарография). Скорость съемки при этом достигает до 200 снимков в секунду.
Рис. 1. Схема специальной оптической системы.
Кинокамеры могут использоваться 35-ти и 16-ти миллиметровые и обеспечивают съемку изображения с экрана УРИ на кинопленку. Кинокамеры обеспечивают самую большую чувствительность из всех средств фиксации изображения и дают возможность обеспечить фиксацию изображения с хорошим качеством при дозе 0,09 мР на снимок (для сравнения – необходимая доза на снимок при непосредственной рентгенографии составляет 0,5 мР на снимок).
Это дает возможность фиксировать снимки, выполненные при очень коротких выдержках и сравнительно небольших напряжениях, как это требуется, например, при коронарографии. Кинокамеры обеспечивают максимальную частоту смены кадров (90 – 200 кадров в секунду). В связи с этим киносъемка позволяет фиксировать во много раз более быстротекущие процессы, чем при любых других методах съемки. Кроме того, она дает возможность последовательного охвата гемодинамики, и воспроизведения в режиме растяжения времени.
В результате, выявляются дополнительные диагностические возможности, например, изучение функциональности сердечных клапанов, дефектов сердечных перегородок, которые проявляются только в течение доли времени продолжительности систолы.
Киноимпульсный режим значительно уменьшает нерезкость при движении органов, благодаря использованию чрезвычайно кратковременных импульсов рентгеновского излучения. Постоянное почернение пленки при киноимпульсном режиме обеспечивается системой автоматической регулировки экспозиции.
Датчиком этой системы является автоматический экспонометр, фиксирующий дозу излучения в доминантной области (в области, важной для получения хорошего качества изображения). Сигнал усилителя на выходе экспонометра может быть использован для регулирования напряжения на рентгеновской трубке.
Примеры кинокамер фирмы Сименс:
-
Еклаир 16 с 16-ти миллиметровой пленкой (формат кадра 16x16), частота смены кадров до 200 снимков в секунду, кассета содержит до 30 м пленки на катушках.
-
Аррифлекс 35 с 35-ти миллиметровой пленкой (формат кадра 35x35), частота смены кадров до 80 снимков в секунду, кассета содержит 60 м пленки.
-
Арритехно 35 с 35-ти миллиметровой пленкой с частотой съемки до 150 кадров в секунду, с быстросъемными кассетами, содержащими 60 м пленки.
В кинокамерах используют различные объективы, позволяющие по-разному использовать формат кадра (от нормального до ограниченного по длине, по ширине или со всех сторон).
Недостатками киносъемки с экрана УРИ являются малые размеры кадра.
При необходимости получения большого поля снимка применяются фотокамеры. Они могут использовать как роликовую пленку, так и плоские пластины рентгеновской пленки. С помощью специального фланца они быстро подключаются к распределителю света. Камеры дают возможность выполнять одиночные и серийные снимки со скоростью до 6 снимков в секунду.
Примером камеры с роликовой пленкой может служить камера СИРКАМ – 7 фирмы Сименс. Это автоматическая камера с 70-ти миллиметровой роликовой пленкой. Заправка пленки осуществляется с помощью специального фидера при дневном свете. Малая объемность пленки облегчает архивирование. В камере имеется две кассеты – подающая и приемная.
Кинематическая схема представлена на рисунке 2.
Через объектив выходное изображение усилителя яркости подается на пленку, которая с помощью двигателя подачи пленки протягивается после снимка на 1 кадр и прижимается к объективу специальным роликом. Отснятая пленка попадает в приемную кассету. Приемная кассета в любое время может быть вынута из камеры. Пленка при этом отрезается специальным ножом, управляемым деблокирующей клавишей (в нормальном положении он заблокирован специальным механическим затвором).
В рентгеновском генераторе, работающем с камерой, предусмотрена блокировка, не разрешающая включение высокого напряжения в случае, если:
-
в магазин запаса не вставлена подающая кассета;
-
приемная кассета приняла максимально допустимое для нее количество снимков (приемная кассета значительно меньше подающей);
-
приемная кассета вынута из камеры;
В случае если магазин запаса пуст, или если приемная кассета может принять еще только десять снимков, осуществляется приснятие на пленку данного пациента с заполненной перфокарты, которая вставляется в специальную щель в камере. Вмонтированный в камеру счетный механизм нумерует последовательно каждый снимок (также путем приснятия).
На панели управления камерой расположены следующие органы управления и сигнализации:
-
Ступенчатый переключатель для выбора частоты кадров.
-
Цифровая индикация числа снимков, находящихся в приемной кассете.
-
Цифровая индикация общего количества кадров, изъятых из магазина запаса (израсходованные).
-
Кнопка автоматического возврата цифровой индикации на 0 (при укладке новой пленки в подающую кассету).
-
Индикация нумерации кадров, которая получается на снимке.
5
Рис. 2. Кинематическая схема камеры с рольной пленкой.
-
Подающая кассета (магазин запаса)
-
Объектив.
-
Вспомогательный затвор (служит для защиты пленки от засветки при перемотке кадра).
-
Фланец быстрого подключения камеры к светораспределительному устройству.
-
Система перемотки пленки электрическим приводом.
-
Прижимной ролик пленки.
-
Нож для обрезания пленки.
-
Приемная кассета.
П
римером камеры для листовой пленки может служить камера СИРКАМ-100 той же фирмы Сименс. В данной камере используется листовая пленка шириной 100 мм. Камера обеспечивает одиночные и серийные снимки с частотой 2 кадра в секунду. Оптическая схема камеры представлена на рисунке 3.
Рис. 3. Оптическая схема камеры с плоскими пленками.
-
Изображение на выходе экрана УРИ.
-
Объектив камеры.
-
Система зеркал для съемки изображения.
-
Рама изображения.
-
Изображение на пленке.
-
6-ти разрядный счетчик для нумерации кадров.
-
2-х разрядный счетчик для нумерации снимков каждого пациента.
-
Система зеркал и линз для маркировки пленки.
Камера имеет 2 кассеты (подающую кассету запаса и приемную кассету). После того, как вставлена и та и другая кассета, 1-ая пленка автоматически транспортируется в позицию съемки.
Выходные изображения усилителя яркости через комбинацию объективов и посредством системы зеркал подается на пленку, находящуюся у рамки изображения. Одновременно с рентгеновским снимком осуществляется маркировка пленки, которая может производиться по выбору либо шестизначным числом, принимаемым от счетчика для нумерации кадров, либо приснятием данных пациента со вставленной перфокарты. Дополнительно принимается 2-хзначное число, указывающее порядок снимка данного пациента. Для приснятия этих данных служит специальная система зеркал и линз (8).
После снимка экспонированная пленка переводится механической системой в приемную кассету. Готовность камеры к съемке сигнализируется зеленой лампой на пульте управления камеры. Загорание этой лампы свидетельствует о том, что:
-
пленка находится в рамке изображения;
-
идентификационная карта пациента вставлена;
-
запас пленки в подающей кассете имеется;
-
приемная кассета не полная и готова к принятию экспонированной пленки.
Если одно из этих условий не выполнено, то включение высокого напряжения в ГУ автоматически блокируется. Магазин запаса вмещает 65 пленок, магазин приема – 20 пленок. Диаметр изображения на пленке – 95 мм.
По сравнению со снимками на крупноформатные пленки рассмотренные камеры имеют следующие преимущества:
-
Существенная экономия во времени (ускорение процесса съемки).
-
Экономия пленки и уменьшение объема архивного фонда.
-
Доза облучения значительно меньше (0,1 мР на снимок), чем при непосредственной рентгенографии (0,5 мР на снимок).
-
Применение камер для малоформатных снимков облегчает поддержание стерильности в рентгенооперационной (по сравнению с применением пленкосменников для крупноформатных снимков).
Несмотря на все преимущества метода рантгенографии с электроннооптическим усилителем, исключительно важным методом остается съемка на крупноформатные пленки. Особенно это важно, например, для исследования мелких анатомических деталей, при выполнении обзорной кардиоангиографии с показом полостей сердца, малого круга кровообращения и грудной дуги аорты и т.д.















