87998 (676898), страница 2
Текст из файла (страница 2)
Идеальное исследование радужки затрудняется из-за того, что впереди нее находится полусферическая роговица. Это неизбежно ведет к отражению источника освещения на зеркальной поверхности роговицы, которое в виде блика закрывает важные для диагностики участки радужки. Поэтому при каждом исследовании необходимо переводить мешающий осмотру блик в центр зрачка. Для устранения указанной реверберации, по примеру G.Jausas (1974), можно пользой карманной бестеневой лампой.
Различают осмотр радужки — иридоскопию и фотографирование радужки (иридографию или иридофотографию). Иридоскопия должна производиться обязательно в затемненном помещении, но не в полной темноте.
С этой целью используют щелевые лампы отечественного производства ЩЛ-56, ЩЛТ, ЩЛ-56М или зарубежные лампы с фотонасадкой фирмы "Карл Цейс" (Йена) и др. Испытуемый занимает физиологическое положение за прибором, для чего подбирается оптимальная высота вращающегося стула или регулируемого кресла и удобное положение головы на лицевом установе.
Для освещения радужки применяют наиболее простой метод диффузного освещения. Существует три разновидности иридобиомикроскопии:
-
прямое фокальное освещение, при котором фокусы осветителя и микроскопа совпадают. Оно позволяет отчетливо видеть изучаемый участок на фоне ограниченных от него окружающих затемненных тканей;
-
непрямое фокальное освещение или исследование в темном поле, при котором фокус осветителя направлен в зону освещения, а фокус микроскопа — в зону затемненного поля. Метод имеет ряд преимуществ при различении сфинктера зрачка, сосудистого рисунка, токсических и пигментных пятен, а также атрофических участков радужки;
-
освещение скользящим лучом, при котором направленный на радужку луч перпендикулярен зрительной оси. Метод показан для изучения рельефа радужки, мельчайших неровностей на поверхности ткани. С его помощью обнаруживаются стертость сглаженность ткани, выступающие бородавки при меланозе и многие врожденные и приобретенные аномалии рельефа.
Помимо иридоскопии, в процессе иридодиагностики используется иридография.
Для иридографии необходимо, чтобы отверстие диафрагмы, регулируемое нижним рычажком, было установлено на делении 3. Верхний рычажок должен находиться в положении упора в левую сторну — для снимков с плоским изображением и в положении упора в правую сторону — для стереоснимков. Больной располагается напротив врача, голова фиксируется за счет подбородника и неподвижного налобника. Зажимная клавиша дает возможность легко и быстро установить нужную для осмотра и снимка высоту. Больной широко раскрывает глаза и направляет свой взгляд на фиксирующую лампу. Так же, как и при иридоскопии, фотографирование радужки проводят в затемненной комнате. Необходимо стремиться выдерживать одинаковые условия съемки и работы лампы. Все фотопленки обрабатываются в одной и той же лаборатории, одним лаборантом. Соблюдение строгого режима важно для объективной оценки результатов лечения и динамического наблюдения за больными, так как изменения структуры и цвета радужки являются очень ценными признаками интерпретации иридофотограмм.
Иридоскопия позволяет производить не только осмотр, но и зарисовку знаков радужки на стандартные топографические схемьы. Преимущество иридоскопии состоит в большой доступности, простоте и в том, что диагностическое заключение может быть доведено до больного сразу же после осмотра.
Необходимо помнить, что в процессе обследования, непрерывно меняя фокусное расстояние, врач добивается высокой точное осмотра любых неровностей рельефа радужки. Подобной точности плоскостное фотографирование не дает.
Иридография осуществляется с помощью щелевых ламп, имеющих фотоприставку. Полученные в результате фотографирования цветные слайды позволяют с помощью проекционной аппаратуры досконально изучить иридограммы на экране. Они являются материалом для динамического наблюдения за больными: оценки возрастных изменений, течения патологического процесса, эффективности проводимого лечения и т.д. В этом заключается преимущество иридографии. Особо важную роль играет создание цветных слайдотек при диспансеризации различных групп больных.
Анализ состояния радужки проводят по полученным цветным слайдам с помощью двух проекционных аппаратов любых марок (“Свет”, “Витязь” и др.). На экран одновременно проецируют два глаза. В зависимости от поставленных задач это могут быть: а) правый и левый глаз; б) правый глаз до и после лечения; в) левый глаз до и после лечения; г) те же самые глаза, сфотографированные через 1-2 года и т.д. Экран устанавливают от аппаратов на расстоянии 1,5 м, радужка в этом случае увеличена в 36 раз, диаметр радужки на экране составляет 45 см. Такое увеличение рассматриваемого глаза подобрано нами опытным путем как наиболее оптимальное по четкости и величине изображения и локальных знаков радужки.
Исследование радужки на экране проводится в затемненной комнате. В зависимости от поставленных задач степень увеличения радужки может быть доведена до очень больших величин.
B.Jensen (1982) считает, что технически радужку можно увеличить до любого желаемого размера (до 2500 раз). Анализ начинают с общего осмотра радужки. Обращают внимание на цвет, однородность, равенство и плотность волокон и пигментных слоев радужки правого и левого глаза. Изменение указанных свойств приводит к появлению патологических знаков радужки. По завершении общего осмотра радужку изучают по зонам и секторам, причем всегда в одной и той же последовательности. Это дисциплинирует исследователя и повышает качество сравнительного анализа.
Обычно взято за правило осматривать сначала правый, а затем левый глаз. В каждом из них в первую очередь изучают центральную зону: форму и размеры зрачка, состояние зрачковой каймы, зрачковый пояс. Потм осматривают периферическую зону, начиная с отметки “6 ч” и далее по сегментам по ходу часовой стрелки. По выработанному нами плану изучение и анализ информационных данных радужки проводят в следующем порядке: состояние желудочно-кишечного тракта, гепатобилиарной системы, поджелудочной железы, мочевыделительной системы, половых органов, бронхолегочной системы, серца позвоночника, ЛОР-органов, селезенки, тимуса и лимфатических узлов, эндокринных органов, мозга. Каждый анализ завершается составлением протокола, в котором в вышеприведенной последовательности указываются все врожденные и приобретенные нарушения органов и систем. В заключении оценивается общее состояние здоровья, отмечаются очаги доминирующих хронических процессов и даются соответсвующие рекомендации.
Диаметр зрачков у всех испытуемых рассчитывают по горизонтали (без включения зрачковой каймы). Расчеты производят на экране с помощью линейки. Площадь зрачков определяют по формуле S=r2. Ширину зрачковой каймы измеряют также на экране с помощью циркуля и линейки.
Иридодиагностику отличают высокая информативность, раннее обнаружение многих патологических отклонений, возможность осмотра экстерорецептивных зон всего организма в одном поле зрения, своеобразная причинно-следственная связь симптомов поражения. Для понимания всей этой информации и проведения клинико-иридологических параллелей врач-иридолог должен обладать большими анатомо-физиологическими и клиническими знаниями. В нашем понимании, наиболее подходящими кандидатами для освоения иридологической методики могли бы быть врачи с достаточным практическим опытом, в первую очередь невропатологи, терапевты и хирурги.
АППАРАТУРА ДЛЯ ИРИДОЛОГИЧЕСКИХ ИССЛЕДОВАНИЙ
Иридоскопия доступна для врачей различных специальностей, поскольку радужка хорошо видна в разрезе глазной щели. Находящиеся перед ней роговица и заполненная прозрачной внутриглазной жидкостью передняя камера ни в коей мере не препятствует этому осмотру. Основными условиями для проведения иридоскопии являются яркое освещение и наличие увеличительных луп. Источник света в виде мощной настольной (лучше матовой) лампы с экраном позади нее должен находиться на рабочем столике на расстоянии 50 см, слева и спереди от пациента на уровне его глаз. Исследование производят в затемненном помещении. Врач освещает радужку боковым фокальным светом при помощи луп +13,0 Д или +20,0 Д, имеющихся в каждой офтальмоскопической укладке. Осмотр фокально освещенной радужки производят, пользуясь любой увеличительной системой. Это может быть весьма удобная налобная бинокулярная лупа с козырьком, дающая увеличение в 2,5 раза, или лупы Гортнака, самая сильная из которых может давать 20-кратное увеличение. Однако такая методика иридоскопии не может идти ни в какое сравнение с теми возможностями, которые открывает биомикроскопическое исследование радужки. Она может служить лишь методическим ориентиром, предшествующим биомикроскопии.
Иридобиомикроскопия осуществляется при помощи специальных офтальмологических приборов — щелевых ламп.
Щелевые лампы современных моделей представляют собой комбинацию очень сильного источника света, излучающего световой пучок определенной формы, и бинокулярного стереоскопического микроскопа со значительной разрешающей способностью. Последнее обстоятельство расширяет возможности иридоскопии, поскольку изображение радужки получается не только увеличенным, но и объемным. Из отечественных аппаратов для иридоскопии можно рекомендовать щелевые лампы ЩЛ—56 и ЩЛТ. В последние годы предложено оригинальное приспособление для биомикроскопии в поляризованном свете, сконструировано устройство к щелевой лампе, позволяющее проводить исследование больного в горизонтальном положении.
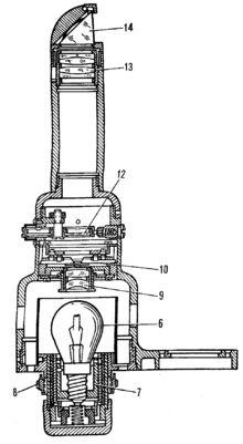
Щелевая лампа (рис. 1 а, б) состоит из осветителя, или собственно щелевой лампы (1), бинокулярного микроскопа (2), лицевого установа (3), координатного (.4) и инструментального (5) столиков. Осветитель и микроскоп смонтированы вместе на координатном столике, что обеспечивает в процессе работы их совместное перемещение в разные стороны. В основной части прибора — осветителе — источником света служит электрическая лампа СЦ—69 (6) (6В, 25Вт), питающаяся от общей осветительной сети напряжением 127 или 220 В через понижающий трансформатор. Цоколь лампы впаян в специальную центрирующую обойму (7), которая помещается в патроне в таком положении, что нить накала лампы располагается вдоль вертикальной осветительной щели. Это обеспечивает наибольшую освещенность вертикального изображения щели. Патрон в корпусе осветителя закрепляется зажимной гайкой (8). Несколько выше лампы находите конденсор в оправе (9), состоящий из двух линз, обеспечивающих концентрацию светового пучка, излучаемого лампой. Над конденсором расположен механизм щели (10).
Конструкция диафрагмы щели позволяет получить разнообразные варианты длины и ширины щели — от 0,08 до 8 мм. Размер щели регулируют рукоятками (11), одна из которых изменяет ширину щели вертикально, другая — горизонтально. Над каждой рукояткой имеется шкала, по которой можно отсчитать ширину изображения щели. В корпусе осветителя над механизмом щели расположен диск (12) с четырьмя отверстиями: одно из них свободное, в два вмонтированы светофильтры (нейтральный и сине-зеленый), в одно помещено матовое стекло. Таким образом на пути лучей, идущих от осветителя, поочередно, в зависимости от надобности, могут быть поставлены разные светофильтры, изменяющие интенсивность освещения и окраску изображения щели. На наружной поверхности осветителя видна лишь небольшая часть диска (12). Остальные его отделы скрыты в корпусе осветителя, что обеспечивает защиту светофильтров от механических повреждений и пыли. При поворотах диска, осуществляемых непосредственно рукой, он может быть закреплен в четырех положениях фиксатором.
Рис 1. Щелевая лампа ЩЛ—56. а — общий вид, б — осветитель в разрезе (схема).
Лучи света после прохождения через механизм щели и диск попадают на объектив (13) и головную призму (14), находящуюся в верхней части корпуса осветителя. Призма отражает падающие лучи и придает им горизонтальное направление. Головная призма может быть отклонена на 10° в боковые стороны. Это обеспечивает возможность дополнительного изменения угла биомикроскопии. Выйдя из осветителя, горизонтальный пучок света попадает на глаз исследуемого.
На корпус головной призмы осветителя может быть надета цилиндрическая линза в оправе, при помощи которой можно увеличить длину вертикальной щели до 16 мм, что имеет важное значение для качественной иридоскопии.
Бинокулярный микроскоп щелевых ламп состоит из объектива (15) и двух раздвижных окуляров (16). Предел изменения расстояния между окулярами — от 52 до 77 мм. В корпусе микроскопа находится оптическое приспособление — так называемы барабан. Основной частью его являются 2 пары телескопических трубок, обеспечивающих различные варианты увеличений микроскопа. Степень увеличения изображения изменяют вращением маховиков (17), расположенных по бокам корпуса осветителя. Это вызывает перемещение барабана и смену телескопических трубок. Каждая пара телескопических трубок дает 2 увеличения в зависимости от того, какой частью она обращена к объективу. В барабане имеются 2 свободных отверстия, которые тоже могут быть поставлены в рабочее положение.
Такая конструкция бинокулярного микроскопа позволяет, не отрывая глаза от окуляра, получить 5 вариантов увеличений в 5, 10, 18, 35 и 60 раз. Степень увеличение изображения в каждый момент исследования узнают по той цифре на маховике, которая устанавливается при его вращении против фиксационной точки, обозначенной на корпусе микроскопа с правой стороны.
Исследователь имеет возможность при работе с микроскопом корригировать в случае надобности собственную анизометрию выдвижением окуляров из тубусов микроскопа на определенное расстояние. Ниже маховика (17) находится винт (18), при помощи которого обеспечивают четкость изображения биомикроскопической картины. Винт можно перемещать по горизонтали в пределах 35 мм. Лупа (19) применяется для биомикроофтальмоскопии.
Взаимный разворот осветителя и бинокулярного микроскопа (угол биомикроскопии) колеблется в пределах ±60°; отсчитывается угол биомикроскопии на круглой шкале (20), вращающейся вместе с осветителем. Тут же расположены 2 винта, при помощи которых осветитель и микроскоп закрепляют под данным углом биомикроскопии. При угле биомикросконии, равном нулю осветитель находится перед микроскопом в среднем положении и закрепляется фиксационным устройством (21); в этом положении бинокулярный микроскоп и осветитель вращаются вокруг колонки штатива одновременно. Это перемещение осуществляют рукой. Движения осветителя и микроскопа в вертикальном направлении производят вращением маховика (22). Координатный столик состоит из неподвижного основания и верхней подвижной части — верхнего плато, перемещаемого во всех направлениях движением рукоятки (23). Перемещение плато, а вместе с ним осветителя и микроскопа в передне-заднем направлении составляет 40 мм, в боковых направлениях — 105 мм.
Лицевой установ для фиксации головы пациента состоит из подбородочной части (24) и налобника (25), которые снабжены гигиеническими отрывными бумажными салфетками. Подбородочная часть установа подвижна в вертикальном направлении (до 99 мм), что позволяет добиться хорошего упора головы как у взрослых, так и у детей. Подбородочную часть перемещают вращением маховика (26).
На лицевом установе с каждой стороны имеется приспособление (27) для фиксации взора пациента в нужном направлении. Оно представляет собой колпачок с точечным отверстием, освещенным изнутри электрической лампой МН—14 (6,3 В, 0,28 А), питающейся от сети переменного тока через понижающий трансформатор. На пути света помещен красный светофильтр, что обеспечивает яркую (красную) окраску светящихся фиксационных точек, которые в зависимости от надобности могут быть установлены в различных положениях.















