diplom (664881), страница 4
Текст из файла (страница 4)
Теоретически количество бит на символ можно увеличивать, путем повышения разрядности КAM. Однако при увеличении разрядности становится все сложнее и сложнее детектировать фазу и уровень. В таблице 1.3 представлены требования к SNR (отношение сигнал/шум) для КAM различной разрядности, с коэффициентом ошибок по битам BER 10-7.
Таблица 1.3 Требования к SNR
| Количество бит на символ (r) | Разрядность QAM (2r – QAM) | Требуемое SNR (дБ) для BER 10-7 |
| 4 | 16 – QAM | 21,8 |
| 6 | 64 – QAM | 27,8 |
| 8 | 256 – QAM | 33,8 |
| 9 | 512 – QAM | 36,8 |
| 10 | 1024 – QAM | 39,9 |
| 12 | 4096 – QAM | 45,9 |
| 14 | 16384 – QAM | 51,9 |
Амплитудно-фазовая модуляция с подавлением несущей
САР также как и КAM использует модуляцию двух параметров. Форма спектра у данного метода модуляции также сходна с КAM.
Дискретная многотональная модуляция (DMT)
DMT использует модуляцию со многими несущими. Время разбивается на стандартные «периоды символа» (symbol period), в каждый из которых передается один DMT – символ, переносящий фиксированное количество бит. Биты объединяются в группы и присваиваются сигнальным несущим различной частоты. Следовательно, с частотной точки зрения, DMT разбивает канал на большое число подканалов. Пропускная способность зависит от полосы частот, то есть подканалы с большей пропускной способностью переносят больше бит. Биты для каждого подканала преобразуются в сложное число, от значения которого зависит амплитуда и фаза соответствующего сигнальной несущей частоты. Таким образом, DMT можно представить как набор КAM систем, которые функционируют параллельно, каждая на частоте несущей соответствующей частоте подканала DMT (смотри рисунок 15). Итак, DMT передатчик по существу осуществляет модуляцию путем формирования пакетов сигнальных несущих для соответствующего количества частотных подканалов, объединения их вместе и затем посылки их в линию как «символа DMT».
Рисунок 15. Распределение частот для передачи сигналов ADSL.
Модуляция/демодуляция с использованием многих несущих реализуется в полностью цифровой схеме с помощью развития методов быстрого преобразования Фурье БПФ(Fast Fourier Transform – FFT) (смотри рисунок 16). Ранние реализации DMT функционировали плохо в следствии сложности обеспечения равных промежутков между подканалами. Современные реализации функционируют успешно благодаря наличию интегральных микросхем, реализующих БПФ- преобразование аппаратно, что позволяет эффективно синтезировать сумму КAM-модулированных несущих.
Для достижения оптимальной эффективности главной задачей является выбор количества подканалов (N). Для абонентских телефонных линий оптимальным является значение N=256, которое позволяет не только достигнуть оптимальной производительности, но и сохранить достаточную простоту реализации системы.
При поступлении данных они сохраняются в буфере. Пусть данные поступают со скоростью R бит/с. Они должные быть разделены на группы бит, которые будут затем присвоены DMT символу. Скорость передачи DMT символа обратно пропорциональна его длительности Т, таким образом число бит присваиваемых символу будет b=R.T. (т.е. символьная скорость будет 1/Т). Из этих b бит, bi бит (i=1, …, N=256) предназначены для использования в I подканале, таким образом:
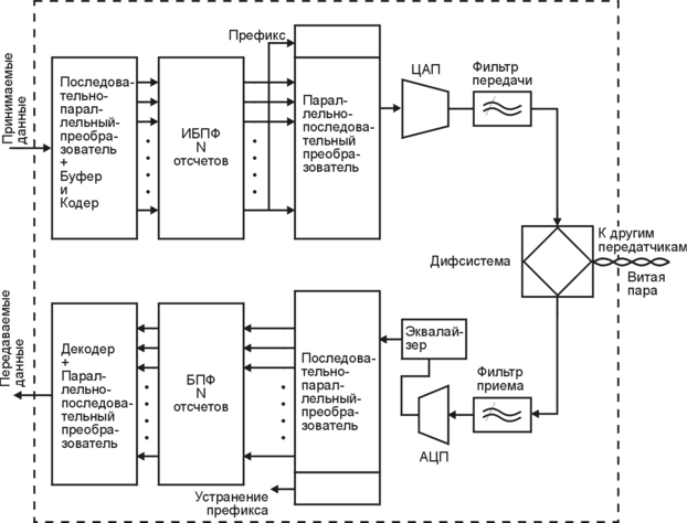
Для каждого из N подканалов, соответствующие ему bi биты, транслируются кодером DMT в сложный символ Xi, с соответствующей амплитудой и фазой. Каждый символ Xi, может быть рассмотрен как векторное представление процесса модуляции КAM на частоте несущей fi. Для данного вектора существует 2bi возможных значений. Фактически каждые bi бит представляют точку на сигнальной решетке КAM (смотри рисунок 19), присвоенную определенному каналу i в DMT символе. В результате получается N КAM векторов. Данные N векторов подаются на вход блок инверсного быстрого преобразования Фурье (Inverse Fast Fourier Transform – IFFT). Каждый символ Xi представлен на определенной частоте, с амплитудой и фазой соответствующими КAM модуляции. В результате N КAM векторов представляют из себя набор из N=256 равноудаленных друг от друга частот с заданными частотой и фазой. Данный набор преобразуется IFFT во временную последовательность. N выходов IFFT затем подаются на конвертер, преобразующий сигнал из параллельного в последовательный. Далее осуществляется цифроаналоговое преобразование, с помощью ЦАП (DAC). Перед отправкой непосредственно в линию DMT- символ пропускается через аналоговый полосовой фильтр, который необходим для разделения по частоте направлений передачи от пользователя и к пользователю (как видно, с точки зрения направления передачи система является системой с частотным разделением каналов (ЧРК). Для приемника осуществляются обратные действия.
Рисунок 16. Приемопередатчик DMT.
Существенной проблемой является ISI. Межсимвольная интерференция проявляется в том, что заключительная часть предыдущего DMT-символа искажает начало следующего символа, чья заключительная часть, в свою очередь искажает начало следующего за ним символа и т.д. Другим словами подканалы не являются полностью независимыми друг от друга с точки зрения частоты. Наличие эффекта ISI приводит к появлению интерференции между несущими (Inter-Carrier Interference – ICI). Для того, чтобы решить данную проблему существует три способа:
-
Ввести дополнительный интервал перед каждым символом. В данном случае передача по линии будет иметь всплески, причем длина такого всплеска будет равна длине DMT символа. Однако в этом случае всплески, займут лишь около 30% всего времени, что критически снизит эффективность ADSL системы.
-
Ввести корректор времени (Time Domain Equalizer – TEQ) для компенсации функции передачи по каналу. Однако это решение окажет существенное влияние на сложность аппаратной реализации, а также реализацию алгоритмов, необходимых для вычисления оптимального набора коэффициентов.
-
Ввести «циклический префикс» (cyclic prefix), который прибавляется к каждому модулированному сигналу. Конечно число символов в таком префиксе должно быть значительно меньше N. Корректор осуществляет поиск на наличие данного префикса и, при наличии ISI предполагается, что интерференция распространится не далее данного префикса. Поскольку циклический префикс удаляется в приемнике, возможная ISI также удаляется до начала процесса демодуляции с помощью БПФ (смотри также рисунок 24). Данный метод снижает сложность аппаратной реализации, и вместе с тем позволяет достигнуть высокой эффективности. Например 5% избыточность привносимая префиксом, является небольшой.
Использование узких подканалов имеет преимущество, которое заключается в том, что характеристики кабеля линейны для данного подканала. Поэтому дисперсия импульса в пределах каждого подканала, а следовательно и необходимость в коррекции в приемнике будет минимальна. В следствии наличия импульсного шума принятый символ будет искажен, однако БПФ «раскидает» данный эффект по большому числу подканалов, в результате чего вероятность ошибки будет невелика.
При использовании DMT количество бит данных, передаваемых по каждому подканалу может варьироваться в зависимости от уровня сигнала и шума в данном подканале. Это не только позволяет максимизировать производительность для каждой конкретной абонентской линии, но также позволяет уменьшить влияние таких эффектов как переходные помехи или RFI (смотри рисунок 18). Количество бит данных, передаваемых по каждому подканалу определяется на фазе инициализации. В общем случае использование более высоких частот вызывает более сильное затухание, что приводит к необходимости использования КAM более низкой разрядности. С другой стороны, затухание на низких частотах будет ниже, что позволяет использовать КAM более высокой разрядности. В дополнении к этому, распределение количества бит по подканалам может адаптироваться на фазе передачи данных, в зависимости от качества канала.
Рисунок 17. Распределение бит по частотным подканалам при использовании DMT.
Коды, исправляющие ошибки
Введение
В связи с наличием импульсного шума, должны быть описаны средства, позволяющие приемопередатчику ADSL противостоять данному эффекту, а также поддерживать требуемое значение коэффициента ошибок (BER) для обеспечения хорошего качества передачи. Для этих целей используются коды исправляющие ошибки.
Из всего многообразия кодов данной разновидности, после длительных исследований, ANSI выбрал код Рида-Соломона (Reed-Solomon – RS) в качестве обязательного для всех приемопередатчиков ADSL. Исправление ошибок с помощью кода RS достигается путем внесения избыточности. Кроме того, существует возможность повысить кратность исправляемой ошибки, путем увеличения кодового слова RS, что конечно приведет к появлению дополнительной задержки.
Примечание Необходимо отметить, что некоторые службы могут иметь собственные средства для защиты от ошибок. Например, служба «Видео по запросу» (Video on Demand – VoD), использует схему компрессии видеоизображения MPEG2, которая поддерживает собственные средства защиты от ошибок.
Исправление ошибок с помощью кода Рида-Соломона
Линейные блоковые коды
Линейные блоковые коды представляют из себя коды проверки четности, которые могут быть записаны в виде (n,k). Кодер трансформирует блок из k значащих символов (вектор сообщения) в более длинный блок из n кодовых символов (кодовый вектор).
В случае, когда алфавит состоит из двух элементов (0 и 1), код является двоичным и состоит из двоичных символов или битов.
В общем случае n кодовых битов не обязательно состоят только из k значащих бит и n-k проверочных бит. Однако для упрощения аппаратной реализации рассматриваются только систематические линейные блоковые коды. В этом случае кодовый вектор образуется путем прибавления проверочных бит к вектору сообщения.
Для получения кодового вектора, вектор сообщения умножается на порождающую матрицу. На приемной стороне кодовый вектор умножается на проверочную матрицу для осуществления проверки, попадает ли он в разрешенный набор кодовых слов. Принятый вектор является верным тогда, и только тогда, когда результат его умножения на проверочную матрицу равен 0.
Код Рида-Соломона
Не двоичные коды Рида-Соломона являются специальным классом линейных блоковых кодов.
RS коды функционируют точно так же как и двоичные коды. Единственным различием являются не двоичные символы. Алфавит RS кодов состоит из 256 элементов. Именно поэтому данный класс кодов является не двоичным.
(n,k) RS код представляет из себя циклический код, который преобразует блок из k байтов в блок из n байтов (n255).
С точки зрения кодового расстояния RS коды функционируют наилучшим образом для заданных n и k, т.е. dmin=n-k+1 (dmin – минимальное расстояние).
Аппаратная реализация RS кодера выполняется в виде одного чипа, и позволяет добавить к вектору сообщения до 32 байт, причем максимальный размер кодового вектора может достигать 255 байт.















