referat (664036), страница 2
Текст из файла (страница 2)
Арифметическо-логическое устройство состоит из двоичного сумматора со схемами ускоренного переноса, сдвигающего регистры и регистров для временного хранения операндов. Обычно это устройство выполняет по командам несколько простейших операций: сложение, вычитание, сдвиг, пересылку, логическое сложение (ИЛИ), логическое умножение (И), сложение по модулю 2.
Устройство управления управляет работой АЛУ и внутренних регистров в процессе выполнения команды. Согласно коду операций, содержащемуся в команде, оно формирует внутренние сигналы управления блоками МП. Адресная часть команды совместно с сигналами управления используется для считывания данных из определенной ячейке памяти или для записи данных в ячейку. По сигналам УУ осуществляется выборка каждой новой, очередной команды.
Блок внутренних регистров БВР, расширяющий возможности АЛУ, служит внутренней памятью МП и используется для временного хранения данных и команд. Он также выполняет некоторые процедуры обработки информации.
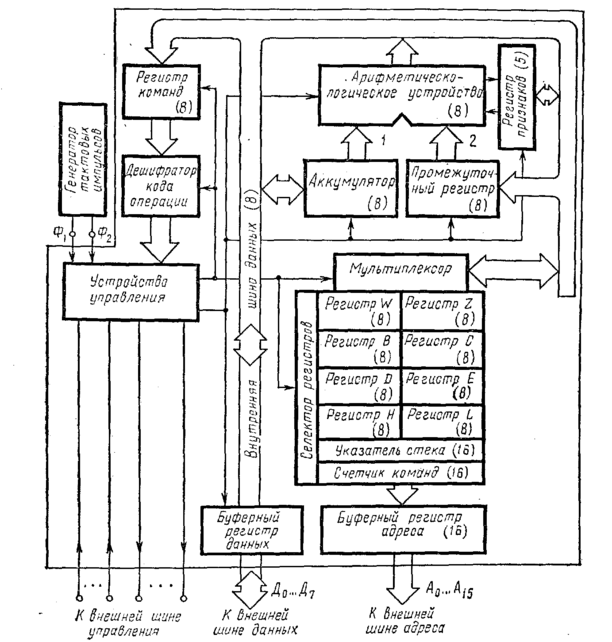
На рисунке (2) приведена более подробная структурная схема однокристального МП. Здесь блок внутренних регистров содержит регистры общего назначения и специальные регистры: регистр-аккумулятор, буферный регистр адреса, буферный регистр данных, счетчик команд, стека, признаков.
Регистры общего назначения (РОН), число которых может изменятся от 4 до 64, определяют вычислительные возможности МП. Их функция – хранение операндов. Но могут выполнять также и роль регистров. Все РОН доступны программисту, который рассматривает их как сверхоперативное запоминающее устройство.
Регистр – аккумулятор («накопитель»), предназначен для временного хранения операнда или промежуточного результата действий производимой в АЛУ. Разрядность регистра равна разрядности информационного слова.
Буферный регистр адреса служит для приема и хранения адресной части выполняемой команды. Возможное количество адресов, определяется разрядностью регистра.
Буферный регистр данных используется для временного хранения выбранного из памяти слова перед передачей его во внешнюю шину данных. Его разрядность определяется количеством байт информационного слова.
Счетчик команд содержит адрес ячейки памяти, в которой помещены байты выполняемой команды.
Регистр команд принимает и хранит код очередной команды, адрес которой находится в счетчике команд. По сигналу УУ в него передается из регистра хранимая там информация.
Регистры стека делятся на стек и указатель стека. В МП стек – набор регистров, хранящих адреса команд возврата при обращении к подпрограммам или состояние внутренних регистров при обработке прерываний. Стек может быть выполнен не только на внутренних регистрах МП, составляя его часть, но и находиться в ОЗУ, занимая там отведенную для него зону. В последнем случае для обращения к нему необходим специальный регистр – указатель стека.
Указатель стека хранит адреса последней занятой ячейки стека, которую называют вершиной. Содержащее в указателе число указывает, где находится вершина стека. Когда в стек записывается очередное слово, то число в указателе стека соответственно увеличивается. Извлечение слова из стека сопровождается, наоборот, уменьшением числа, заполняющего указатель стека. Кроме такой процедуры предусматривается возможность считывания без разрушений содержимого любой ячейки стека при неизменном числе, хранимом в указателе стека.
Регистр признаков представляет собой набор триггеров – флажков. В зависимости от результатов операций, выполняемых АЛУ, каждый триггер устанавливается в состояние 0 или 1. Флажковые биты, определяющие содержимое регистра, индицируют условные признаки: нулевого результата, знака результата, перевыполнения и т. п. Эта информация, характеризующая состояние процессора, важна для выбора дальнейшего пути вычислений.
Рассмотрим более подробно основные части микропроцессора (рис. 2).
Внутренняя шина данных соединяет собой основные части МП.
Шиной называют группу линий передачи информации, объединенных общим функциональным признаком. В микропроцессорной схеме используется три вида шин: данных, адресов и управления.
Разрядность внутренней шины данных т. е. количество передаваемых по ней одновременно (параллельно) битов числа соответствует разрядности слов, которыми оперирует МП. Очевидно, что разрядность внутренней и внешней шин данных должна быть одной и той же. У восьмиразрядного МП внутренняя шина данных состоит из восьми линий, по которым можно передавать последовательно восьмиразрядные слова – байты. Следует иметь в виду, что по шине данных передаются на только обрабатываемые АЛУ слова, но и командная информация. Следовательно, недостаточно высокая разрядность шины данных может ограничить состав (сложность) команд и их число. Поэтому разрядность шины данных относят к важным характеристикам микропроцессора – она в большей мере определяет его структуру (числа разрядов указаны на рисунке в скобках рядом с названиями блоков).
Шина данных МП работает в режиме двунаправленной передачи, т. е. по ней можно передавать слова в обоих направлениях, но не одновременно. В этом случае требуется применение специальных буферных схем и мультиплексного режима обмена данных между МП и внешней памятью. Мультиплексный режим (от английского слова multiple – многократный, множественный), иногда называемый многоточечным, - режим одновременного использования канала передачи большим числом абонентов с разделением во времени средств управления обменом.
Мультиплексор – устройство, которое выбирает данные от одного, двух (или более) входных информационных каналов и подает эти данные на свой выход. Схема мультиплексора состоит из двухвходовых логических элементов И – ИЛИ, управляемых распределителем импульсов. Промышленностью выпускаются мультиплексоры, которые могут входить в состав , а также в виде отдельных БИС (например, восьмивходовый одноразрядный; двухвходовый четырехразрядный; трехвходовый четырехразрядный и др.).
Демультиплексор – устройство, выполняющее противоположную мультиплексору функцию, - подает данные, подводимые к его входу, на один (или более) выходной информационный канал.
Мультиплексоры и демультиплексоры позволяют компоновать из микропроцессорных элементов микроЭВМ для любой длины машинного слова. Предположим, что задача обработки данных заключается в сложении двух операндов, каждый из которых представляет собой восьмиразрядное двоичное число – байт.
Восьмиразрядное арифметически – логическое устройство выполняет все арифметические и логические операции. На первый вход АЛУ поступает байт из восьмиразрядного аккумулятора, а на второй вход – из восьмиразрядного промежуточного регистра. Результат сложения указанных двух байтов передается с выхода АЛУ через внутреннюю шину данных в аккумулятор. Такая организация удовлетворяет одноадресной организации микропроцессора. Для нее характерно то, что один из операндов, участвующих в обработке, всегда находится в аккумуляторе, адрес которого задан неявно. Поэтому при выполнении операции сложения двух операндов требуется указывать только один адрес – второго операнда, содержащегося, например в одном из восьми регистров общего назначения (РОН). К АЛУ подключены регистр признаков, предназначенный для хранения и анализа признаков результата операции, и схема десятичной коррекции (на рис. 2 не показана), позволяющая проводить обработку данных в двоично-десятичном коде.
В состав микропроцессора входят также указатель стек, счетчик команд, буферный регистр адреса, ОЗУ. Первые два РОН – регистры W и Z – предназначены для кратковременного хранения данных во время выполнения команды (эти регистры недоступны программисту), остальные шесть РОН – регистры B, C, D, E, H и L – cлужат ячейками внутренней памяти, называемой сверхоперативным запоминающим устройством (СОЗУ). В них хранятся операнды, подлежащие обработки в АЛУ, результаты обработки данных, выполненных в АЛУ, и управляющие слова. В каждом регистре помещается один байт. Обращение к РОН – адресное. Попарное расположение регистров B и C, D и E, H и L дает возможность проводить обработку двухбайтовых слов, называемую обработкой “удвоенной точности”. Обмен данными с РОН (считывание и запись информации) осуществляется через мультиплексор, причем требуемый регистр выбирается с помощью селектора регистров по сигналу УУ.
В левой части рис. 2 расположены регистр команд, дешифратор кода операции и УУ (хотя дешифратор относится к УУ, он нарисован отдельно для большей наглядности). Стековый регистр адреса на рисунке отсутствует, так как стек представляет собой определенную зону ОЗУ.
Обмен информацией между регистрами и другими блоками микропроцессора производится через внутреннюю шину данных, причем передачи команд и данных разделены во времени. Связь с внешней шиной данных осуществляется через буферный регистр данных.
Микропроцессор – это программно-управляемое устройство. Процедура выполняемой им обработки данных определяется программой, т. е. совокупностью команд. Команда делится на две части: код операции и адрес. В коде операции заключена информация о том, какая операция должна быть выполнена над данными, подлежащими обработке. Адрес указывает место, где расположены эти данные (в регистрах общего назначения микропроцессора, т. е. во внутренней или внешней памяти). Слово данных, подвергаемое обработке, представляет один байт. Команда может состоять из одного, двух или трех байтов, последовательно расположенных в памяти.
Первый байт команды содержит код операции. Считанный в начале интервала выполнения команды, называемого циклом команды, ее первый байт поступает по внутренней шине данных в регистр команд, где хранится в течение всего цикла. Дешифратор кода операции дешифрует содержимое регистра команд – определяет характер операции и адреса операндов. Эта информация подается в УУ, которое вырабатывает управляющие сигналы, направляемые в блоки микропроцессора, участвующие в выполнении данной команды.
В том случае, когда код операции непосредственно указывает адрес данных – объекта обработки, операция начинается сразу после считывания первого байта команды. Если же в команде содержится более одного байта, то остальные байты, несущие информацию об адресе ячейки памяти, где хранятся данные, передаются либо в буферный регистр адреса, либо в один из РОН только после завершения всей процедуры считывания команды или, иначе говоря, после получения полной информации о местонахождении операндов и о том, какая операция должна выполнятся, начинается операция.
Рассмотрим пример выполнения операции сложения двух операндов. Первый операнд хранится в аккумуляторе, второй в одном из РОН (его адрес указан в команде), откуда он передается в промежуточный регистр. Согласно коду операции АЛУ суммирует поступающие на его вход байты и выдает результат, который фиксируется в аккумуляторе. Этот результат можно использовать при дальнейших этапах обработки.
Наряду с многокристальными и однокристальными МП используются секционированные или разрядно-модульные МП. Основной их отличительной особенностью является то, что каждый модуль предназначен для обработки нескольких разрядов машинного слова, а слово в целом обрабатывается группой модулей или секций, соединенных между собой.
Архитектура микропроцессора (Architecture) – принцип его внутренней организации, общая структура, конкретная логическая структура отдельных устройств.
Понятие архитектуры микропроцессора включает в себя систему команд и способы адресации, возможность совмещения выполнения команд во времени, наличие дополнительных устройств в составе микропроцессора, принципы и режимы его работы. Выделяют понятия микроархитектуры и макроархитектуры.
Микроархитектура микропроцессора - это аппаратная организация и логическая структура микропроцессора, регистры, управляющие схемы, арифметико-логические устройства, запоминающие устройства и связывающие их информационные магистрали.
Макроархитектура микропроцессора - это система команд, типы обрабатываемых данных, режимы адресации и принципы работы микропроцессора.
В общем случае под архитектурой ЭВМ понимается абстрактное представление машины в терминах основных функциональных модулей, языка ЭВМ, структуры данных.
1. В соответствии с архитектурными особенностями, определяющими свойства системы команд, различают:
-
Микропроцессоры с CISC архитектурой.
CISC (Complex Instruction Set Computer) - Компьютер со сложной системой команд. Исторически они первые и включают большое количество команд. Все микропроцессоры корпораций Intel (Integrated Electronics) и AMD (Advanced Micro Devices) относятся к категории CISC.
-
Микропроцессоры с RISC архитектурой.
RISC (Reduced Instruction Set Computer) - Компьютер с сокращенной системой команд. Упрощена система команд и сокращена до такой степени, что каждая инструкция выполняется за единственный такт. Вследствие этого упростилась структура микропроцессора, и увеличилось его быстродействие.
















