31243-1 (663236), страница 2
Текст из файла (страница 2)
сигнал STROBEIN – вывод РС4;
сигналы BUSYIN и ACKNLGIN – выводы РС0 и РС1 соответственно.
При приеме байта, он поступает на линии порта А (сигналы DIN 0 – DIN 7). Для передачи управляющих символов используется порт В. При этом служебные сигналы подключаются к следующим линиям:
сигнал STROBEOUT – вывод РС2;
сигналы BUSYOUT и ACKNLGOUT – выводы РС5 и РС6 соответственно.
Для передачи информации используется параллельный порт ввода-вывода PPI (DD16) На нем также реализован интерфейс ИРПР-М. Данные выдаются через порт А. Сигнал STROBE поступает в линию связи через нулевой разряд порта В. Сигналы готовности приемника BUSY и ACKNLG поступают в порт С (разряды 1 и 0 соответственно). Так как импульс ACKNLG имеет длительность около 5 мкс, то его программная фиксация в режиме параллельной обработки нескольких задач затруднена. Предусмотрена аппаратная защелка этого сигнала с помощью триггера. После получения сигнала ACKNLG триггер программно сбрасывается. Аналогичная схема присутствует и в блоке приема данных.
Индикатор готовности выполнен на дешифраторе DD28. Его адресные входы подсоединены к линиям 4, 5, 6 порта С микросхемы DD16. Регистр в нормальном рабочем режиме управляет индикатором готовности системы, а в случае конфликтной ситуации отображает номер “зависшей” задачи.
Программируемый таймер используется для отсчета интервалов времени для контроля выполнения задач и вызова прерываний для самопроверки контроллера – подсчета контрольной суммы ПЗУ. В качестве счетных импульсов к таймеру подведен сигнал с выхода PCLK системного генератора, имеющий частоту, в два раза меньшую, чем тактовая частота процессора. При частоте процессора 5 МГц таймер отсчитывает импульсы с частотой 2,5 МГц. При этом максимальная задержка, обеспечиваемая таймером равна 26 мс.
Программируемый контроллер прерываний служит для упорядочения запросов на прерывание по приоритету и во времени. В данной схеме обслуживается два прерывания: контроль прохождения контрольной точки задачами и самодиагностика. Запросы на прерывание поступают от таймера и подаются на входы IRQ0, IRQ1 и IRQ2.
Для выбора нужной микросхемы при выполнении операций ввода-вывода используется дешифратор DD29, преобразующий два разряда адресной шины AB2 и AB3 в сигналы выбора CS. Сигналы выбора кристалла CS формируются только если один из сигналов IOR и IOW находится в активном состоянии. Необходимым условием выбора внешних по отношению к процессору устройств является равенство нулю младшего адресного разряда AB0. Для хранения адреса в течение всего цикла шины используются регистры-защелки DD11 и DD12, управляемые сигналов ALE процессора. Шина данных умощняется за счет подключения шинных формирователей.
Память контроллера организована на четырех микросхемах; две из них образуют ПЗУ (DD2 и DD3) и две другие – ОЗУ (DD7 и DD8). Память выполнена в виде двух банков с целью передачи как двухбайтовых слов, так и отдельных байтов. Для выбора соответствующего банка используются сигнал BHE (разрешение старшего банка) и младший разряд адресной шины AB0. Разряд шины адреса AB14 служит для выбора ПЗУ или ОЗУ. Также в качестве управляющих сигналов, задающих направление передачи применяются MEMR и MEMW.
Шина управления состоит из четырех сигналов MEMR, MEMW, IOR, IOW, которые формируются на основе сигналов процессора RD, WR, M/IO.
В таблице 2.1 показано соответствие основных элементов структурной схемы контроллера используемым микросхемам.
Таблица 2.1 – Используемые микросхемы.
| Обозначение на схеме | Микросхема |
| DD1 | К1810 ГФ84 |
| DD2, DD3 | К556 РТ16 |
| DD6 | К1810 ВМ86 |
| DD7, DD8 | К537 РУ17 |
| DD11, DD12 | К1810 ИР82 |
| DD13, DD14 | К1810 ВА86 |
| DD15, DD16 | К580 ВВ55 |
| DD17 | К1810 ВИ54 |
| DD18 | К1810 ВН59А |
| DD27 | К155 ТМ2 |
| DD28 | К155 ИР1 |
| DD29 | К155 ИД3 |
РАЗРАБОТКА РАБОЧЕЙ ПРОГРАММЫ КОНТРОЛЛЕРА
Структура данных
В данном проекте фоновым процессом является передача данных. В связи с этим опишем используемые переменные и структуры.
К основной структуре можно отнести два массива. Один из них служит буфером приемника и занимает в памяти ячейки с 0000 по 2FFFh. Указателем в этом массиве служит переменная RecCount. Второй массив SendBuf является буфером передатчика. За его заполнением следит отдельная задача, не рассматриваемая в данном проекте. При заполнении этого буфера данными флаг BufReady устанавливается в единичное состояние. Буфер SendBuf имеет размер 255 байт и располагается с адреса 3000h по адрес 30FFh. Указателем на очередной элемент буфера служит переменная SendCount. В таблице 3.1 описаны используемые переменные.
Таблица 3.1 – Описание используемых переменных
| Переменная | Размер | Расположение | Описание |
| TimeVar | 3 байта | 3100h | Переменная хранит время в секундах с начала работы контроллера |
| BufReady | 1 байт | 3104h | Флаг готовности буфера передатчика |
| RecCount | 2 байта | 3106h | Указатель буфера приемника |
| SendCount | 2 байта | 3108h | Указатель буфера передатчика |
| Sentry | 1 байт | 310Ah | Переменная – точка входа в процедуру передатчика |
| FS | 1 байт | 310Ch | Флаг работы процедуры передатчика (анализируется “службой времени”) |
Переменная TimeVar обслуживается счетчиком времени. Ее значение периодически используется для процедурой формирования очередного сообщения.
Переменная Sentry необходима для работы однопроходной формы задачи. В ней хранится метка входа в процедуру.
Переменная FS является сигнализатором того, что процесс передачи в данный момент активен. В случае “зависания” по этим флагам служба времени определяет конфликтную задачу и отображает ее номер на индикаторе.
Счетчик байтов SendCount в процессе передачи сообщения изменяет свое значение от 0 до FF.
Схемы алгоритмов процессов в автономной форме
Схема алгоритма процесса самодиагностики в автономной форме показана на рисунке 3.1.
Рисунок 3.1 – Автономная форма алгоритма процесса самодиагностики.
Процесс самодиагностики инициируется по прерываниям от таймера. Заключается в подсчете контрольной суммы ПЗУ и сравнении ее с известным значением. При несовпадении индикатор готовности гасится и процессор останавливается (вводится в бесконечный цикл)
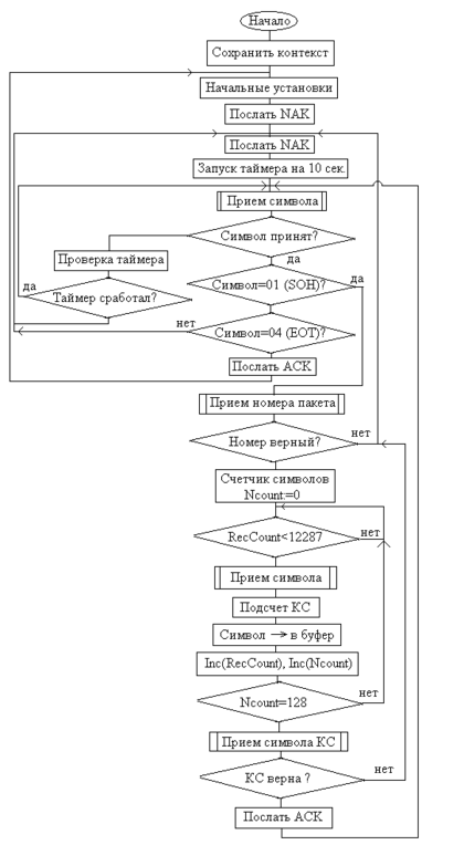
Схема алгоритма процесса приема в автономной форме показана на рисунке 3.2.
Рисунок 3.2 – Автономная форма алгоритма процесса приема.
На рисунках 3.3 и 3.4 более подробно раскрыт состав блоков “прием символа” и “передача символа”.
Рисунок 3.3 – Состав блока “прием символа”.
Рисунок 3.4 – Состав блока “передача символа”.
Алгоритм приема информации реализует прием пакетов в формате X-Modem.
Контроль получаемых сообщений реализуется с помощью подсчета контрольной суммы.
На рисунке 3.5 показана схема алгоритма передачи информации. Передатчик начинает работать, если буфер данных заполнен символами. Об этом сигнализирует флаг BufReady. После окончания передачи программа должна снять этот флаг – это служит запросом для процедуры подготовки данных.
Рисунок 3.5 – Автономная форма алгоритма процесса передачи.
Передача осуществляется порциями по 256 байт. Первые три байта – текущее время в секундах от начала работы контроллера.
Задача “службы времени” разбита на две части: Одна из них следит за текущим временем и формирует переменную, содержащую значение времени с момента включения контроллера, а другая часть контролирует отсутствие “зависаний” выполняемых задач.
На рисунке 3.6 показаны схемы алгоритмов для обеих частей задачи.
Рисунок 3.6 – Автономная форма алгоритмов процессов “службы времени”.
Схемы алгоритмов рабочей программы. Фоновый процесс
В графической части представлена схема алгоритма процесса передачи в однопроходной форме. После размыкания циклов задачи получилось две ветви. Первая – ожидание заполнения буфера данных. Вторая – собственно посылка буфера. За один проход задачи посылается один символ. Выбор ветви осуществляется с помощью переменной Sentry. Обмен информацией идет по стандарту интерфейса ИРПР-М. При посылке байта для соблюдения необходимых временных интервалов формируются паузы не менее 0,5 мкс. При проверке готовности приемника происходит логическое сложение сигналов BUSY и ACKNLG, и если результат равен нулю, выполняется отправка одного байта. По окончании передачи всего сообщения флаг готовности буфера сбрасывается.
3.4 Схемы алгоритмов рабочей программы. Подпрограмма обработки прерываний
Подпрограмма самодиагностики запускается по прерыванию от таймера. В однопроходном варианте присутствует три ветви. Первая ветвь пустая. Она выполняется диспетчером, если не возникало прерывания от таймера. Вторая ветвь служит для инициализации счетчика контрольной суммы. Обнуляется переменная – указатель и переменная, запоминающая текущее значение КС. В третьей ветви выполняются действия по суммированию содержимого ПЗУ. При достижении конечного адреса происходит сравнение полученного значения контрольной суммы с проверочным. При совпадении процедура устанавливает точку входа на первую ветвь, включает индикатор готовности и заканчивает работу. При ошибке КС индикатор готовности гасится и процессор зацикливается.
Текст фрагмента рабочей программы
Фрагмент программы, представленный в приложении полностью соответствует описанной выше схеме алгоритма. Программа выполнена в виде самостоятельного модуля. Трансляция проводилась с помощью ассемблера TASM 5.0. Результаты работы транслятора показаны на рисунке 3.7.
Рисунок 3.7 – Результаты работы транслятора
Программа состоит из четырех основных частей. В первой части происходит сохранение используемых регистров и опрос переменной, хранящей точку входа в основное тело программы. При этом происходит выбор одной из ветвей прохода задачи. Вторая часть реализует первую ветвь алгоритма и начинается сметки Е0. Здесь осуществляется проверка готовности буфера и, при необходимости, изменение точки входа. Третья часть программы реализует вторую ветвь алгоритма. Если приемник готов, то выполняется посылка одного байта и изменение счетчика символов. И, наконец, четвертая часть программы (метка EXLABEL) завершает проход задачи, восстанавливает регистры и передает управление вызвавшей программе.















