8138-1 (662904), страница 2
Текст из файла (страница 2)
Число передаваемых полутонов или цветов
Следующим качественным параметром является глубина точки, которая и определяет число передаваемых полутонов. Глубина точки - это количество бит, которые сканер может назначить при оцифровывании пикселя. Сканер с глубиной точки 1 бит может регистрировать только два уровня белый и черный, сканер с глубиной точки 8 бит может регистрировать 256 уровней, 12 бит - 4096 уровней. Существуют сканеры с глубиной 13, 14 и 16 бит на точку. Относительно сканеров с ПЗС следует сказать, что глубина точки более 13 бит трудно достижима, так как становится очень трудно отличить уровень сигнала от уровня помех. Так сканер с глубиной точки 13-14 бит может позволить воспроизвести более 1мрлд. цветовых оттенков.
Диапазон оптических плотностей
Один из важнейших параметров сканера - это диапазон оптических плотностей, воспринимаемых им. Диапазон оптических плотностей, являющийся логарифмической производной, измеряется в относительных единицах от нуля и до какого-то значения, которое обычно приводится в технических характеристиках. Глубина точки и динамический диапазон связаны между собой. Глубина точки показывает физическую возможность воспринимать большой диапазон оптических плотностей, а действительный диапазон сканера еще зависит и от чувствительности считывающего устройства, и от электроники, и от механики, применяемой в сканере. Не прозрачные оригиналы имеют диапазон плотностей, где максимальное значение не превышает 2.4-2.5, в то время как слайды могут иметь максимальное значение динамической плотности 4.0. Не много найдется сканеров, которые бы воспринимали динамические плотности от 3.2 и выше. Планшетные ПЗС-сканеры среднего класса имеют значение динамической плотности в диапазоне 2.8-3.0, у ПЗС-сканеров более высокого класса это значение достигает 3.6, и только барабанные сканеры на фотоумножителях имеют динамическую плотность 4.0.
Интеллектуальность сканера
Под интеллектуальностью обычно понимается способность сканера с помощью заложенных в нем аппаратных и поставляемых с ним программных средств автоматически настраиваться и минимизировать потери качества. Наиболее ценятся сканеры, обладающие способностью автокалибровки, то есть настройки на динамический диапазон плотностей оригинала, а также компенсации цветовых искажений. Допустим, нужно отсканировать слайд, имеющий максимальную оптическую плотность 4.0, сканером, воспринимающим оптический диапазон плотностей до 3.2. "Интеллектуальный" сканер сначала делает предварительное сканирование для анализа и получения диаграммы оптических плотностей. Обычно такая диаграмма выглядит приблизительно так, как показано на рисунке. После анализа диаграммы сканер производит свою автокалибровку с целью сдвига своего динамического диапазона восприятия оптических плотностей.
Цветовые искажения сканеров
Каждый сканер обладает своими собственными недостатками при восприятии цветов и общими недостатками, присущими данной модели. Общие недостатки обусловлены техническими возможностями и механическими характеристиками модели. Собственный недостаток сканера обусловлен индивидуальной особенностью освещающего оригинал источника света и считывающего элемента. Все продаваемые сканеры проходят заводскую калибровку. Однако, если сканер имеет функцию автокалибровки, то это большое преимущество перед сканером, лишенным такой функции. Автокалибровка сканера позволяет скорректировать цветовые искажения и увеличить число распознаваемых цветовых оттенков. Поскольку источник света имеет свойство изменять свои характеристики со временем, как, впрочем, и считывающий элемент, наличие автокалибровки приобретает первостепенное значение, если постоянно работать с цветными полутоновыми изображениями. Практически все современные модели сканеров обладают такой функцией.
Точность фокусировки
На заводе-изготовителе проводят настройку фокусировки сканера, тем не менее еще одним признаком интеллектуальности сканера является его способность автоматической настройки фокуса (резкости). Потребность в этом возникает потому, что толщина оригинала может быть различна и должна учитываться. Кроме того сам оригинал может быть не очень резким. Плохая резкость отсканированного изображения обычно приводит к плачевным результатам, особенно, если сканируется небольшой оригинал, изображение которого будет затем увеличиваться при печати.
Аппаратный интерфейс
Интерфейс с адаптером
Большинство ручных сканеров работают через собственную плату адаптера, вставляемую в 8-битовый или 16-битовый слот расширения материнской платы. При этом обмен данными идет через канал прямого доступа DMA с использованием прерывания, возникающего после считывания очередной строки. Практически на всех платах адаптеров существует возможность выбора банка используемых адресов (установкой переключателя в соответствующее положение). На многих платах выбирается также номер используемого канала DMA и номер используемого аппаратного прерывания. Благодаря этому можно избежать конфликта с другими внешними устройствами, уже использующими DMA, IRQ или порты, установленные по умолчанию. Наличие аппаратного прерывания присуще не всем сканерам, так в некоторых ранних моделях данная возможность отсутствовала. Это создавало сложности как для систем OCR, так и для других программных продуктов, поддерживающих в процессе сканирования динамическую запись получаемой информации на жесткий диск. Все современные модели ручных сканеров поддерживают аппаратное прерывание, возникающее при считывании строки. Для остальных типов сканеров данная проблема не актуальна, так как они умеют останавливаться после считывания одной строки. Многие модели рулонных сканеров и планшетных сканеров также работают через плату адаптера.
Интерфейс SCSI
С появлением SCSI производители сканеров стали выпускать устройства, поддерживающие этот интерфейс. В компьютере может быть только одна плата контроллера SCSI, устройства к ней подсоединяются по цепочке. С одной платой контроллера SCSI можно соединить до 7 устройств. Кроме того, SCSI не ориентирован на определенную аппаратную платформу (то есть работает на IBM PC, Macintosh, Sun и других машинах). Новые модели flatbed-сканеров практически всегда поддерживают SCSI.
Последовательный интерфейс (RS232)
Продолжают использоваться сканеры, у которых наряду с возможностью обмена данными через канал DMA существует альтернативный способ связи - через последовательный порт. Но существуют сканеры, обеспечивающие только этот способ связи. Для работы с такими сканерами не нужна плата адаптера, но их крупным недостатком является низкая скорость сканирования, обусловленная природой данного метода связи.
Параллельный интерфейс
В последнее время появляется все больше моделей сканеров, использующих для обмена данными стандартный параллельный порт принтера. Скорость сканирования у данных моделей значительно выше, чем через последовательный интерфейс, но ниже, чем через канал DMA.
Классификация задач, решаемых при помощи сканеров
1. Офисное делопроизводство, офисное издательство. К этой группе принадлежат, как правило, планшетные и портативно-страничные сканеры. Монополистом в этой области является Hewlett-Packard.
2. Домашнее применение. Здесь приоритет за ручными и портативно-страничными сканерами. К данной группе можно отнести и использование сканеров в командировках, поездках, библиотеках и т.д., подключается к notebook'у через параллельный порт.
3. Профессиональное издательство. Используются планшетные и специальные (барабанные в том числе) сканеры фирм Agfa, Umax, Epson, Microtek и др.
4. Документооборот. В этой области применяются, главным образом, планшетные и скоростные сканеры фирм Fujitsu, Unisys, Hewlett-Packard, Primax.
5. Потокового ввода в архивы. Используются, как правило, скоростные сканеры фирм Kodak,Unisys, Fujitsu, Hewlett-Packard, Bell+Howell.
Проектирование. К этой группе относятся сканеры (проекционные, рулонные сканеры), применяемые в конструировании, медицине, военных нуждах.
Планшет
Планшет - это полуавтоматическое устройство ввода графической информации со свободно перемещаемым указателем координат. Планшет представляет собой некоторую ограниченную плоскость, полностью соответствующую по конфигурации рабочему полю экрана, но конструктивно с ним не связанную. Когда оператор "пишет" на поверхности планшета, положение соприкасающегося с ним контакта преобразуется в абсолютное значение координат формата экрана. Лучшие образцы планшетов обеспечивают преобразование положения пишущего устройства в координату с погрешностью 0,1%. Использование планшетов исключает необходимость наличия движущегося курсора на экране, так как изображение может воспроизводиться непосредственно в процессе рисования.
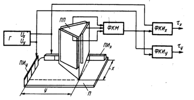
Одним из наиболее простых с точки зрения используемых физических принципов планшетов аналогового типа являются акустические, основанные на измерении времени распространения звуковой волны в твердом плоскостном звукопроводе. Так как скорость распространения акустических колебаний в твердых телах постоянна, измеренное время соответствует координате (относительно неподвижного излучателя) точки, в которой расположен приемник. Этот способ использован в кодирующем планшете, схема которого показана на рисунке.
Функцию звукопровода здесь выполняет стеклянный планшет П, к взаимно перпендикулярным торцам которого приклеены два пьезоэлектрических излучателя ПИх и ПИу. Пьезоэлектрический приемник ПП изготовлен в виде трехгранного стержня с заостренным наконечником, сечение которого является равносторонним треугольником. К каждой грани стержня приклеены идентичные пьезоэлементы. Для возбуждения акустических колебаний в звукопроводе используется генератор периодических прямоугольных импульсов Г, имеющий два независимых выхода Uх и Uу, к которым подключены соответственно излучатели ПИх и ПИу. Схема формирователя координатной метки ФКМ состоит из трех одинаковых усилителей, к выходу которых подключены пьезоэлементы приемника. Выходные напряжения усилителей суммируются, что позволяет сделать сигналы метки не зависимыми от повтора и наклона приемника относительно плоскости планшета. Время прохождения акустических волн от излучателей к приемнику измеряется схемами формирования координатных прямоугольных импульсов ФКИх и ФКИу, содержащими триггеры, устанавливаемые в положение "1" передними фронтами импульсов генератора и сбрасываемые в положение "0" импульсом координатной метки. На выходе схемы управления планшетом использован обычный преобразователь длительности импульса в код. Когда приемник прижат к поверхности планшета, ФКИх и ФКИу генерируют периодические импульсы, длительности которых tх и tу пропорциональны измеряемым координатам. Чтобы не возникла интерференция взаимно перпендикулярных волн, возбуждаемых в планшете, импульсы Uх и Uу сдвинуты на время, достаточное для полного затухания одной волны. В ряде магнитострикционных устройств используются магнитострикционные свойства материала, из которого изготовлено рабочее поле планшета. При возбуждении ультразвуковой волны внутри предварительно намагниченного магнитострикционного материала в месте прохождения фронта волны намагниченность изменяется. Это изменение напряженности магнитного поля улавливается катушкой индуктивности, расположенной в указателе координат, и преобразуется в электрический сигнал, свидетельствующий о том, что фронт ультразвуковой волны находится под катушкой. Определение координат в этих устройствах производится так же, как и в акустических,- путем измерения времени распространения фронта ультразвуковой волны от края планшета до указателя координат. Точностные характеристики рассматриваемых устройств относительно невысоки вследствие сильной зависимости скорости распространения волны от внешних факторов, в частности от температуры, давления, влажности, неизотропности структуры материала звукопровода. Важное место среди устройств ввода занимают устройства, называемые сеточными планшетами, основанные на электрическом принципе. Они делятся на контактные, и в зависимости от того, какая из составляющих электромагнитного поля участвует в формировании измерительного сигнала, эти устройства делятся на емкостные, в которых преобразуется электрическая составляющая электромагнитного поля, и индукционные, в которых преобразуется магнитная составляющая.
















