25027 (654583), страница 2
Текст из файла (страница 2)
Конфузоры.
Конфузором называется плавно сужающийся участок трубопровода (рис. 5).
Рис.5
Течение жидкости в конфузорах сопровождается увеличением скорости и падения давления. Так как давление в начале конфузора больше, чем в конце, причин к возникновению вихреобразования и срывов потока нет.
Основными характеристиками конфузора являются:
угол суженияα;
степень сужения
;
длина конфузора LК;
При достаточно больших углах сужения (α > 10о) степенях сужения (n > 3) на входе в цилиндрическую трубу меньшего диаметра поток может оторваться от стенок (рис. 5) и в этом случае коэффициент сопротивления конфузора представляется в виде двух слагаемых:
,(18)
где
- коэффициент местного сопротивления конфузора;
- коэффициент сопротивления трения.
Колена. Отводы.
Коленом (рис. 6) называется внезапный поворот канала без закругления или с закруглением, радиус которого для внутренней и внешней стенок одинаков.
Отводом (рис. 7) называется изогнутый участок трубопровода, в котором (при равенстве входного и выходного сечений) закругления внутренней и наружной стенок представляют собой дуги концентрических окружностей. В изогнутых трубах и каналах, вследствие искривления потока, появляются центробежные силы, направленные от центра кривизны к внешней стенке трубы. Это приводит к повышению давления у внешней стенки и понижению давления у внутренней и обуславливает неравномерность скоростей по сечению изогнутого участка.
Рис.6.
Рис. 7.
У внешней стенки, вследствие повышения давления, появляется диффузорный эффект. При этом отрыв потока происходит от обеих стенок. Отрыв от внешней стенки является следствием диффузорного эффекта. Отрыв от внутренней стенки обуславливается стремлением потока двигаться в изогнутом участке по инерции к внешней стенке.
Поскольку при движении жидкости по криволинейному каналу на все ее частицы в направлении радиуса кривизны действуют центробежные силы, пропорциональные квадрату окружной скорости в сечении, образуется парный вихрь (рис. 7). В результате сложения вращательного и поступательного движений жидкость по изогнутому участку движется двумя винтовыми потоками.
Основная часть потерь напора в коленах и отводах вызывается отрывом потока от внутренней стенки и парным вихрем. Потери на трение по длине изогнутого участка учитываются включением длины отводов в общую длину трубопровода. Коэффициенты сопротивления изогнутых участков трубопроводов определяется по графикам и таблицам, а также эмпирическим формулам [2, 3].
При экспериментальном определении коэффициентов местных сопротивлений в трубопроводе с местным сопротивлением рассчитываются два сечения: на входе и на выходе из местного сопротивления. Из уравнения Бернулли (1) при условии, что , определяются потери напора:
(19)
Рис. 8.
Если площади проходных сечений до и после местного сопротивления одинаковы и трубопровод расположен горизонтально (рис. 8), то
;
, и гидравлические потери равны разности пьезометрических напоров в сечениях 1 и 2.
(20)
Коэффициент местного сопротивления определяется из формулы Вейсбаха (2):
(21)
При таком способе определения потерь в местных сопротивлениях потери на трение не выделяются, а входят в состав местных потерь, т.е.
. Следует иметь в виду, что при расчетном определении потерь полного напора в трубопроводе, содержащем несколько последовательно установленных местных сопротивлений, простое суммирование их потерь (так называемый принцип наложения потерь) дает правильные результаты, если сопротивления расположены друг от друга на расстоянии, превышающем длину взаимного влияния, которая составляет 30…40 диаметров трубопровода.
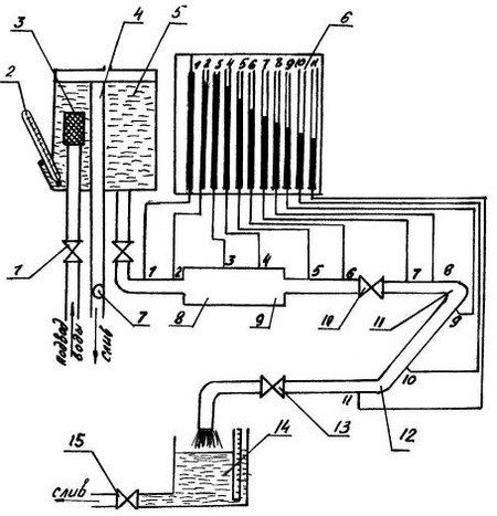
Описание установки.
Схема экспериментальной установки представлена на рис. 9. Вода из напорного бака подается в горизонтально расположенный трубопровод с набором местных сопротивлений:
дроссельная шайба 7,
внезапного расширения 8,
внезапного сужения 9,
вентиль10,
отвод (угольник) 11,
отвод (угольник) 12.
В напорный бак вода непрерывно подается из водопровода через вентиль 1 и успокоительную сетку 3. Излишки воды из бака сливаются через переливную трубу 4. Для контроля температуры воды в баке имеется термометр 2. Расход воды через местные сопротивления регулируется вентилем 13. После прохождения экспериментального участка вода сливается в мерный бак 14, на выходе из которого имеется кран 15.
Установка снабжена пьезометрическим щитом 6 для замера напоров во всех наблюдаемых сечениях, как показано на рис. 8
Рис. 9
Литература
1. Башта Т.М. и др. Гидравлика, гидромашины и гидроприводы. – М.: Машиностроение, 1984, 424с.
2. Идельчик И.Е. Справочник по гидравлическим сопротивлениям. – М.: Машиностроение, 1975. – 559с.
3. Лабораторный практикум по гидравлике, гидромашинам и гидроприводу / Под ред. Вильнера Я.М. – Минск: Высшая школа, 1980, - 224с.
4. Лабораторный курс гидравлики, насосов и гидропередач / Под ред. Руднева С.С. и Подвидза Л.Г. – М.: Машиностроение, 1974 – 415с.
9















