24946 (654542), страница 2
Текст из файла (страница 2)
В расширяющейся части струи скорость падает, давление растет и кипение жидкости прекращается (выделившиеся пары конденсируются, а газы постепенно растворяются). Так как объем образовавшейся при конденсации жидкости значительно меньше объема, который занимал пар, то в образовавшуюся пустоту устремляется с большой скоростью жидкость, окружающая объемчик пара. Двигающиеся навстречу друг другу частицы жидкости соударяются, образуется гидравлический удар, то есть местное повышенное давление. Такое явление называется кавитацией. Кавитация сопровождается характерным шумом и эрозионным разрушением стенок канала, а также снижением пропускной способности гидравлических систем, так как часть поперечного сечения канала занимает выделившийся пар и растворенные в жидкости газы.
Описание экспериментальной установки.
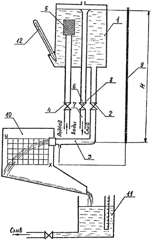
Схема экспериментальной установки показана на рис. 4. Вода из напорного бака 1 подается через вентиль 2 в горизонтально расположенный трубопровод 3 со сменными насадками. В напорный бак вода непрерывно подается из водопровода через вентиль 4 и успокоительную сетку 5. Постоянство уровня жидкости в напорном баке осуществляется с помощью переливной трубы 6 с вентилем 7. Для определения напора Н служит пьезометрическая трубка 8 со шкалой, имеющей нулевое деление на уровне центра отверстия.
Для измерения координат точек вытекающей струи жидкости используется щит 9 из оргстекла с нанесенной на нем шкалой. Жидкость стекает в мерный бак 10, а из него в систему слива.
Для контроля температуры воды в напорном баке имеется термометр 11.
Рис. 4
Список литературы
-
Осипов П.Е. Гидравлика, гидравлические машины и гидропривод. М.: Лесная промышленность, 1981, 424 с.
-
Идельчик И.Е. Справочник по гидравлическим сопротивлениям. – М.: Машиностроение, 1975, 559 с.
-
Башта Т.М. и др. Гидравлика, гидромашины и гидроприводы. – М.: Машиностроение, 1982, 423 с.
-
Лабораторный практикум по гидравлике, гидромашинам и гидроприводу / Под ред. Вильнера Я.М.: Минск, Высшая школа, 1980, 224 с.
-
Лабораторный курс гидравлики, насосов и гидропередач / Под ред. Руднева С.С. и Подвидза Л.Г. – М.: Машиностроение, 1974, 415 с.















