24773 (654445), страница 5
Текст из файла (страница 5)
Депрессия вентилятора:
где
- депрессия подземных выработок труднопроветриваемого направления, Па;
- депрессия воздухонагревателей и канала калориферной установки, Па;
Подача вентиляторной установки:
где
- расход воздуха по шахте, с учетом отработки потолочины
=593+47=640 м³/с;
Аэродинамическое сопротивление шахтной сети:
ПРМ.ПД.04.02.02.ПЗ
Арк
24
Зм
Арк.
№ докум.
Підпис
Дата
40
Для построения АД характеристики шахтной сети составляем таблицу по формуле:
| Qi, м³/с | 0 | 50 | 100 | 150 | 200 | 250 | 300 |
| hi, Па | 0 | 18 | 70 | 158 | 280 | 438 | 630 |
2.7 Организация работ на добычном участке
Штат промышленно-производственного персонала на добычном участке, занимающимся отработкой части запасов потолочины в этаже 301÷330 м составляет 33 человека, в их числе:
-
машинисты ПДМ V разряда – 6 человек;
-
машинисты БУ IV, V разрядов – 3 человека;
-
машинисты ПШВ III, IV разрядов – 6 человек;
-
горнорабочие III, IV разрядов – 12 человек;
-
подземный электрослесарь IV разряда – 3 человека;
-
подземный электросварщик IV разряда – 3 человека.
Примечание. Машинисты ПДМ имеют право на ведение взрывных работ на вторичном дроблении.
Количество добычных смен в сутки – 3 смены.
В состав смены входит горный мастер, 2 машиниста ПДМ, 1 машинист БУ, 2 машиниста ПШВ, 4 горнорабочих, подземный электрослесарь, подземный электрогазосварщик.
Продолжительность рабочей смены принимается, как и для всего комбината – 7 часов 20 минут.
Основными операциями при добыче руды на участке являются погрузка руды в рудоперепуски, бурение скважин при обуривании массива руды в камерах, текущий ремонт электрооборудования и установок, выпуск и погрузка руды в вагоны.
2.8 Охрана труда.
2.8.1 Анализ условий труда, вредных и опасных
производственных факторов
К вредным производственным факторам с которыми придется столкнуться при введении проекта в производство относятся: запылённость, газы от взрывных работ, производственный шум и вибрации.
ПРМ.ПД.04.02.02.ПЗ
Арк
25
Зм
Арк.
№ докум.
Підпис
Дата
41
К опасным производственным факторам относятся: прорыв воды в действующие выработки, обводнение отбитой руды, обрушение горных пород и падение людей в горные выработки (восстающие, рудоперепуски).
В соответствии с требованиями предельно допустимые концентрации вредных веществ должны определятся при t=20С, атмосферном давлении 0,1 МПа и влажности 50%.
Предельно допустимые концентрации газов по объёму: окиси азота NО2 – 0,00026; окиси углерода CО – 0,0017; ангидрид сернистый SО2 – 0,00038; сероводород H2S –0,00071.
Кроме того, в составе рудничного воздуха допускается наличие углекислого газа СО2 на рабочем месте не более 0,5%, в выработках с общей исходящей струёй – 0,75%.
Содержание пыли в воздухе на месте постоянного или временного пребывания работающего в процессе трудовой деятельности не должно превышать 0,3 ПДК, установленной для этих рабочих мест.
2.8.2 Инженерные мероприятия по охране труда
2.8.2.1 Мероприятия по производственной санитарии
1) Меры по снижению запыленности рудничного воздуха.
Проектом предусматривается комплекс мер по орошению пылеопасных участков при выпуске и погрузке руды погрузочно-доставочными машинами и виброустановками ПШВ-6. Система обеспыливания виброустановки показана на рис.2.8.1.
Техническая характеристика
системы обеспыливания виброустановки:
Расход воды, л/мин……………………………………………20-40
Давление воды, МПа:
минимальное…………………………………………0,4
максимальное…………………………………………..2
Проходные диаметры напорных рукавов для воды, мм………15
Количество напорных рукавов………………………………….3
Снижение запылённости, раз…………………………………..3-5
Масса узлов, кг:
вибрационного клапана………………………………24
увлажнителя…………………………………………..14
ПРМ.ПД.04.02.02.ПЗ
Арк
26
Зм
Арк.
№ докум.
Підпис
Дата
42
Рис. 2.8.1 Схема расположения оборудования системы обеспыливания виброустановок.
1 – вибрационный клапан;
2 – форсунки;
3 – увлажнитель;
4 – водяная магистраль.
Также для снижения запылённости в призабойном пространстве проектом предусматривается снабдить наконечники трубопроводов сжатого воздуха эжекторами типа ЭПД (двойной) (Рисунок 2.8.2). Эжектор предназначен для турбулизации атмосферы призабойного пространства и повышения коэффициента доставки воздуха в забой горно-капитальных и подготовительных выработок, для создания усиленного кратковременного режима проветривания выработок горизонта доставки, для проветривания буровых и камерных выработок.
ПРМ.ПД.04.02.02.ПЗ
Арк
27
Зм
Арк.
№ докум.
Підпис
Дата
43
1 – корпус;
2 – насадок кольцевой;
3 – кожух;
4 – камера кольцевая
внутренняя;
5 - камера кольцевая внешняя;
6 – штуцер;
7 – сопло кольцевое внутреннее;
8 - сопло кольцевое внешнее;
9 – ручка.
Рисунок 2.8.2 Пневматический эжектор ЭПД
Техническая характеристика:
Производительность, м³/с
при работе на трубопроводе…….............................................3,2
при работе в сквозной выработке………………………….10,2
Диаметр трубопровода, мм……………………………………400
Полное давление воздуха на выходе из эжектора, кПа……...2,5
Расход сжатого воздуха, м³/с………………………………………...0,22
Коэффициент эжекции……………………………………..15,6/45,0*
Уровень звука ,дБА, не более………………………………….85
Размеры эжектора, мм:
максимальный диаметр…………………………………….250
диаметр на выходе………………………………………….210
длина…………………………………………………………340
Диаметр сопла, мм…………………………………………166/234**
Ширина сопла, мм…………………………………………..0,2/0,2**
Длина камеры смешивания, мм……………………………….310
Масса, кг………………………………………………………..10,0
* числитель – коэффициент эжекции при работе на трубопровод, знаменатель - коэффициент эжекции при работе в выработке;
** числитель – размеры внутреннего сопла, знаменатель – размеры внешнего сопла.
ПРМ.ПД.04.02.02.ПЗ
Арк
28
Зм
Арк.
№ докум.
Підпис
Дата
44
2) Меры по борьбе с производственным шумом.
Предусматривается комплекс мер активного и пассивного характера: применение малошумящего оборудования (буровых кареток, вентиляторов местного проветривания с глушителем шума (рисунок 2.8.3) и пользование средствами индивидуальной защиты (беруши).
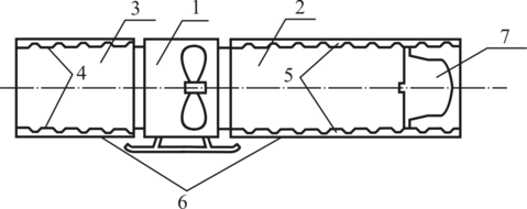
Рисунок 2.8.2 – Глушитель шума ГШ-6 для вентилятора местного проветривания СВМ-6М
1 - вентилятор местного проветривания СВМ-6М;
-
- корпус глушителя на всасе вентилятора;
-
- корпус глушителя на выбросе вентилятора;
-
- внутренний перфорированный цилиндр;
-
- звукопоглотитель;
-
- внешний (сплошной) цилиндр из листового метала;
-
- перфорированный цилиндрический элемент, заполненный звуко-поглотителем.
Масса комплекта глушителей – 120 кг. Шум вентиляторов с глушителем, установленных в горной выработке, равен 84-88 дБ на расстоянии 10 м.
При установке глушителей потери полного давления и подачи вентилятора не превышают 5%.
2.8.2.1 Мероприятия по технике безопасности
1) Меры по предупреждению падения людей в горные выработки
Для предохранения людей, работающих в очистных выработках, от падения в рудоперепускные восстающие, предусматривается установка ограждений типа ОРВ (ограждение рудосвалочных восстающих) Схема расположения ограждения приводится на рис.2.8.3.
ПРМ.ПД.04.02.02.ПЗ
Арк
29
Зм
Арк.
№ докум.
Підпис
Дата
45
Рисунок 2.8.4 Ограждение рудоперепускного восстающего ОРВ
1 – рама ограждения;
2 – ограждающая решетка;
3 – грохотная решетка;
4 – ковш погрузочной машины;
5 – рудоперепуск.
Техническая характеристика:
Габаритные размеры ограждения, мм……………………...1200х3000х3000
Площадь поперечного сечения проходного отверстия, м²………3,2
Форма проходного отверстия…………………………………П-образная
Масса комплекта, кг, не более…………………………………….400
2) Мероприятия по предотвращению прорыва воды в действующее выработке, а также по предупреждению обводнения отбитой руды.
Включают следующие меры:
-
тампонация всех пересекающихся с действующими выработками гидрогеологических, разведочных и других скважин;
-
осушение (дренирование) рудного массива, подлежащего отработке;
-
запрещение горных работ при признаках самообрушений в камерах или резкого водопритока.
2.8.2.2 Меры пожарной безопасности
Проектом предусматриваются следующие мероприятия:
-
оборудуется передвижной аварийный склад противопожарных материалов;
-
погрузочно-доставочные машины оборудуются электрозащитой, сухими углекислотными или порошковыми огнетушителями;
ПРМ.ПД.04.02.02.ПЗ
Арк
30
Зм
Арк.
№ докум.
Підпис
Дата
46
-
монтируется сеть противопожарных трубопроводов воды с гайками Богданова;
-
в очистных забоях, где ведутся взрывные работы по вторичному дроблению, обязательно наличие ящика для ВМ и ящика для песка (объемом 0,2 м3, лопаты);
При пожаре, согласно ПЛА, персоналу необходимо: сообщить о пожаре горному мастеру и попытаться потушить его средствами первичного пожаротушения, если это не возможно, направится в ближайший КАВС (при необходимости включившись в самоспасатель), откуда сообщить горному диспетчеру о пожаре (причину пожара, горизонт, № орта), свою фамилию, горизонт и номер КАВСа.
Камера аварийного воздухоснабжения представляет собой тупиковую выработку 2,5×3 м, длиной 5 м и снабжается воздухом от воздушного става шахты.
КАВС предусматривается оборудовать около пересечения людского уклона и штрека лежачего бока гор. 340 м (Рисунок 2.8.5).
Схема размещения противопожарных средств в блоке приводится на рисунке 2.8.6.
Рисунок 2.8.5 Схема аварийного выхода людей
из камеры 22ю гор.330м
ПРМ.ПД.04.02.02.ПЗ
Арк
31
Зм
Арк.
№ докум.
Підпис
Дата
47
Рисунок 2.8.6 Схема размещения противопожарных средств в блоке
2.8.3 План ликвидации аварии
На момент начала горных работ на гор.301÷330м шахтой разрабатывается план ликвидации аварий (ПЛА). Пример оперативной части ПЛА приведён в приложении В.
2.9 Охрана окружающей среды
2.9.1 Прогноз влияния проектируемых работ на окружающую среду
1) Загрязнение воздушной среды
В течение процессов добычи, дробления, сортировки и отгрузки железной руды, а также при вспомогательных операциях в атмосферу выбрасываются загрязняющие вещества. Основными вкладчиками в загрязнение атмосферного воздуха являются: дробильно-сортировочная фабрика, закладочный цех, железнодорожный цех, котельная и шахта. Всего в цехах комбината насчитывается 131 источник выбросов, в том числе 126 организованных источников выбросов загрязняющих веществ. Значительное количество загрязняющих веществ выбрасывается дробильно-сортировочной фабрикой, котельной, автотранспортом, складами руды, сыпучих материалов и породным отвалом:
ПРМ.ПД.04.02.02.ПЗ
Арк
32
Зм
Арк.
№ докум.
Підпис
Дата
48
2) Загрязнение и истощение водных ресурсов
В процессе горных пород по трещинам в горные выработки дренирует шахтная вода с высоким уровнем минерализации, которая в дальнейшем собирается в водосборники и откачивается в пруд отстойник. В связи с понижением уровня водоносного горизонта (Бучакского), ухудшилось водоснабжение окружающей местности.
3) Нарушение земной поверхности
В начальный период эксплуатация ЗЖРК образовалась депрессионная воронка, которая при начале применения закладки остановила рост и в дальнейшей деформации земной поверхности не наблюдалась.
2.9.2 Мероприятия по охране окружающей среды
1) Охрана атмосферы
в 2000г совместно с предприятием «Экоуниверсал» была проведена инвентаризация всех источников выбросов, выполнение которых позволило снизить выбросы в атмосферу на 1165 т/год. На ДСФ было установлено ПОУ мокрой очистки, на закладочном комплексе для улавливания цементной пыли установлены рукавные фильтры , кательная переведена с мазуты на газ.
2) Охрана водной среды
В целях рационального использования пресных вод из системы осушения шахтного поля около 5 млн. м3/год их используется для водоснабжения промплощадки, прилегающих сел (Малая Белозерка, Тополиное, Видножено, Балки) и города Днепрорудного.
Часть шахтных вод (до 400 тыс. м3/год) используется для приготовления закладочной смеси и растворов.
Осуществляется лабораторный контроль качества сточных вод.
Выполнена радиологическая съемка пруда-испарителя научным центром радиационной безопасности города Желтые Воды. Радиационная характеристика ила, шахтных вод, гамма-фон пруда-испарителя значительно ниже санитарных норм.
Сточные воды от технологии и жизнедеятельности персонала комбината поступают на очистные сооружения для механической и биологической очистки. Очистные сооружения включают в себя:
ПРМ.ПД.04.02.02.ПЗ
Арк
33
Зм
Арк.
№ докум.
Підпис
Дата
49
-
приемный резервуар в фекальной насосной;
-
песколовки с двухъярусными отстойниками;
-
3 иловых площадки
-
поля фильтрации площадью 4 га каждое;
-
дренажная канава и отводной канал.
В год производится очистка около 800 тыс.м3 сточных вод.
3) Прочие природные мероприятия
Горные породы от проходки используются для отсыпки дорог, для закладки очистных камер, отработанные нефтепродукты сдаются в регенерацию и используются повторно, изношенные металлокордовые шины используются периодически для ограждения автодорог, отработанные ртутьсодержащие лампы, которых образуется до 1000 шт./год, сдаются на демеркуризацию в г.Запорожье.
Арк
34
Зм
Арк.
№ докум.
Підпис
Дата
50
3. Экономическая оценка целесообразности принятия решения
3.1 Расчёт изменения общешахтных экономических
показателей при введении в эксплуатацию этажа 301÷330 м
и применение самоходной техники
Таблица 3.1 Численность и структура штата трудящихся
| Категория трудящегося | Проект | Факт | ||
| Количество по списку, чел | Структура шахты, % | Количество по списку, чел | Структура шахты, % | |
| Рабочие, в т. г. | 1222 | 80,1 | 1334 | 87,5 |
| Добычники | 144 | 9,4 | 129 | 8,4 |
| Проходчики | 79 | 5,1 | 124 | 8,1 |
| Бурильщики | 30 | 1,9 | 70 | 4,6 |
| Остальные рабочие | 969 | 63,5 | 1011 | 66,3 |
| Служащие | 80 | 5,2 | 109 | 7,1 |
| ИТР и горные мастера | 223 | 14,6 | 214 | 14 |
| Итого трудящихся | 1525 | 100 | 1531 | 100 |
3.2 Расчёт себестоимости добычи руды по элементам затрат















