20175 (651478), страница 3
Текст из файла (страница 3)
Боевые возможности танковых частей позволяют им быстро создавать прочную оборону и успешно отражать наступление превосходящих сил противника. В наступлении - вести активные боевые действия днем и ночью, в значительном отрыве от других войск, громить группировки противника во встречном бою, с ходу преодолевать обширные зоны радиоактивного заражения и водные преграды.
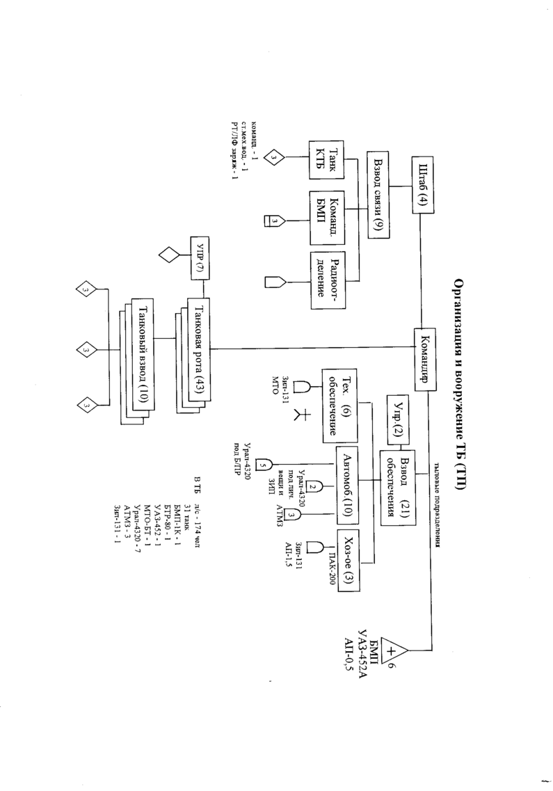
Танковый батальон выполняет боевые задачи в составе части во взаимодействии с мотострелковыми, артиллерийскими, инженерно-саперными подразделениями или самостоятельно.
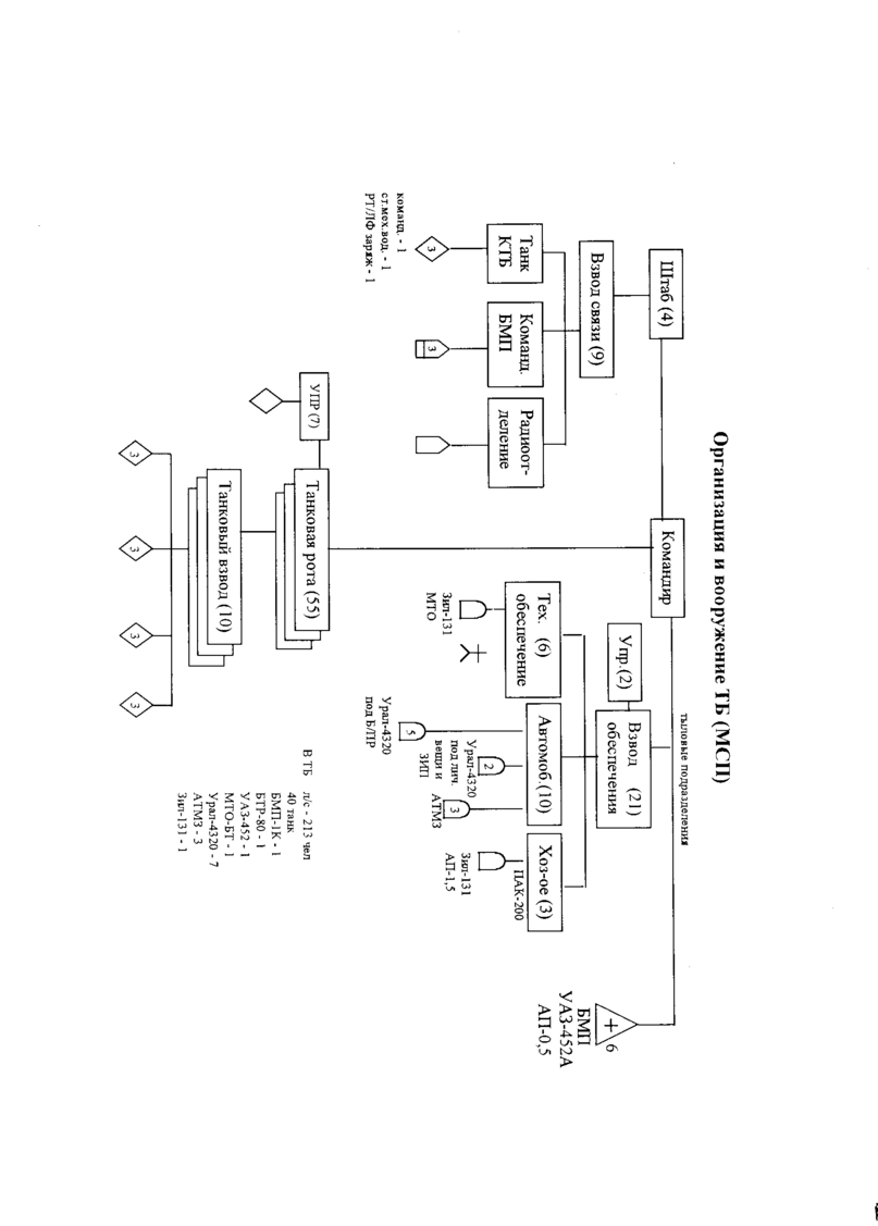
Организационно-танковый батальон танкового полка состоит из:
• командования батальона;
• штаба;
• партийно-политического аппарата;
• взвода связи;
• трех танковых рот;
• медицинского пункта;
• взвода обеспечения.
В командование батальона входят:
• командир батальона;
• заместитель по п/части
• заместитель командира батальона по тех/части
Штаб батальона включает:
• начальника штаба;
• начальника связи (он же командир взвода связи);
• химического инструктора;
• писаря.
Взвод связи состоит:
• танка командира батальона с экипажем (командир танка, старший механик-водитель, радист-заряжающий);
• командирской боевой машины БМП-1К (командир боевой машины, радиотелефонист, механик-водитель);
• радиоотделения (командир отделения, радиотелефонист, водитель бронетранспортера - электромеханик, БТР, три радиостанции).
Всего во взводе 9 человек.
Танковая рота состоит:
• управления роты (командир роты, заместитель командира по политической части, заместитель командира роты по технической части (старший лейтенант для батальонов, вооруженных танками с экипажем 3 человека, старший техник прапорщик для батальонов, вооруженных танками с экипажем 4 чел.), старшина, командир танка, старший механик-водитель, радист-заряжающий);
• трех танковых взводов по 3 танка в каждом взводе. Медицинский пункт состоит:
• начальника медицинского пункта, санинструктора, трех санитаров
(рядовых), водителя-санинструктора.
Всего в отделении личного состава - б человек, санитарный автомобиль УАЗ-452А, автоприцеп АП-0,5.
Взвод обеспечения состоит:
• командира взвода (прапорщик) и техника (прапорщик);
• отделения технического обслуживания;
• автомобильного отделения;
• хозяйственного отделения.
Отделение технического обслуживания состоит:
• командира отделения;
• старшего мастера по ремонту танкового электро- и специального оборудования;
• рабочего мастера радиостанций малой мощности;
• водителя слесаря.
Всего в отделении личного состава - б чел., РПГ-7, машина тех. обслуживания МТО, автомобиль ЗИЛ-131 (ЗИЛ-157). Автомобильное отделение состоит:
• командира отделения;
• старшего водителя-заправщика;
• старшего водителя;
• двух водителей-заправщиков;
• пяти водителей.
Всего в отделении личного состава - 10 чел., грузовых автомашин Урал
375 под боеприпасы - 5, под личные вещи и имущество рот - 1, под ЗИП-1, автотопливозаправщиков АТМ-4, 5-375 - 3. Хозяйственное отделение состоит:
• командира отделения - повара;
• повара;
• водителя.
Всего в отделении: личного состава - 3 чел., кухня автомобильная ПАК-
200 (ПАК-170), автомобиль ЗИЛ-131, автоприцеп АЛ-1,5.
Всего в танковом батальоне личного состава - 174 чел., танков - 31.
Танковый батальон мотострелкового полка по организационной структуре примерно такой же, как и танкового полка, за исключением увеличенного количества танков.
В танковом батальоне три танковые роты по три танковых взвода и по четыре танка в каждом взводе. Всего в танковой роте личного состава - 55 чел. И 13 танков, в батальоне - 213 чел. и 40 танков.
Основные данные танков.
| Показатели | Т-64 | Т-72АК | Т-80 |
| Масса, т. | 38 | 41 | 42 |
| Экипаж, чел. | 3 | 3 | 3 |
| Вооружение: | |||
| • 125мм гладкоствольная пушка Д-81 "Рапира" | 1 | 1 | 1 |
| • 7, б2мм пулемет ПКТ | 1 | 1 | 1 |
| • 12,7мм пулемет НСВТ "Утес" | 1 | 1 | 1 |
| Прицельная дальность | |||
| стрельбы, м.: | |||
| • 125мм пушки | 4000 | 4000 | 4000 |
| • 7,62мм пулемета ПКТ | 1800 | 1800 | 1800 |
| • 12,7мм зенитного пулемета НСВТ | |||
| • по наземным целям | 2000 | 2000 | 2000 |
| • по воздушным целям | 1500 | 1500 | 1500 |
| Дальность прямого | |||
| выстрела, м. (Нц=2 м.) | |||
| • 125мм пушки | 2100 | 2100 | 2100 |
| • 12,7мм пулемета НСВТ | 850 | 850 | 850 |
| • 7,62мм пулемета ПКТ | 400 | 400 | 400 |
| Скорострельность, выс/мин: | |||
| • 125мм пушки | 10 | 8 | 8 |
| • 7,62мм пулемета ПКТ | 250 | 250 | 250 |
| • 12,7мм пулемета НСВТ | 80 -100 | 80 - 100 | 80 -100 |
| Начальная скорость снаряда | |||
| (пули), м/сек: | |||
| • 125мм пушки | 1800 | 1800 | 1800 |
| • 12,7мм пулемета НСВТ | 845 | 845 | 845 |
| Мощность двигателя, л.с. | 700 | 780 | 1000 |
| многотопливный, дизельный | дизельный | газотурбинный | |
| Скорость, км/час | 61 | 60 | более 70 |
| Запас хода по шоссе, км | 500 | 500 | 450 |
| Броня | противоснарядная с защитными экранами противокумулятивного действия | многослойная, противоснарядная, с контейнерами динамической защиты | |
Создание в 60 - 70-х годах танка Т-64 и Т-72 положило начало развитию основных боевых танков, пришедших на смену средним и тяжелым. В конце 70-х годов принят на вооружение танк Т-80.
Основное в танке - вооружение. Оно у этих танков состоит из 125мм гладкоствольной пушки Д-81ТМ, известной на Западе как "Рапира-3", спаренного с нею 7,62мм пулемета ПКТ, зенитного пулемета 12,7мм НСВТ и пусковых установок дымовых гранат.
Орудие установлено в башне и стабилизировано в двух плоскостях с помощью электрогидравлического стабилизатора. Управление им осуществляется рукоятками пульта наводчика, но предусмотрено и ручное наведение с помощью подъемно-поворотного механизма. В боекомплект пушки входят ОФС, кумулятивные и бронебойно-подкалиберные БПС снаряды. БПС позволяет пробивать броню современных танков на дальности свыше 2000 метров. Все операции по подаче снаряда и гильзы в ствол выполняет автомат заряжения. Кроме того, у танков Т-72, Т-80 имеется танковый баллистический вычислитель ТБВ, в который вводится Тв, Тз, атмосферное давление и износ канала ствола. Заметив цель, наводчик измеряет дальность до нее лазерным дальномером, которая автоматически вводится в ТБВ. Пушка по сигналу ТБВ принимает необходимый угол возвышения, в него вводятся поправки на баллистику снаряда, ветер, данные о скорости и крене машины. К моменту выстрела орудие занимает строго определенное положение. В случае, если танк тряхнет на выбоине и ось канала ствола перестанет совпадать с направлением, выбранном ТБВ, то выстрел не произойдет. Специальный блок разрешит его лишь после того, как стабилизатор вернет орудие к нужному углу.
Для обеспечения эффективности стрельбы ночью служат приборы ночного видения. Имеется инфракрасный прицел, с помощью которого можно ночью взять на "мушку" цель на расстоянии 800 м.
Если танки Т-64, Т-72 имеют противоснарядную броню, то у Т-80 лобовой лист корпуса и передняя часть башни имеет разнесенную многослойную конструкцию. Борта прикрыты броневыми и резинотканевыми экранам, а лоб корпуса, крыша и броня башни прикрываются контейнерами динамической защиты. Броневая конструкция Т-80 выдерживает огонь танков и противотанковых средств с дистанции 1,5-2 километра в диапазоне углов обстрела от 0° до 30 - 45° .
Все танки Т-80 оснащены системой коллективной защиты от ОМП. Если в угрожающей близости произойдет ядерный взрыв, то еще до подхода ударной волны будет автоматически заглушен двигатель и закрыты жалюзи, а после ее прохождения включится нагнетатель с ФВУ.
Танки Т-64, Т-72, Т-80 оснащены быстродействующей системой пожаротушения.
Танки могут преодолевать различные препятствия: рвы шириной до 2,8 метра, вертикальные стенки высотой до 0,85 метров, водные преграды с "зеркалом" до 1 км и глубиной с двухэтажный дом (5 метров).
Нашим конструкторам удалось создать оригинальные по своим качествам машины. По своей боевой эффективности Т-80 ничем не уступают зарубежным танкам, а во многом их превосходят, а танк Т-72АК в полной мере отвечает требованиям современного боя.
На вооружении танковых подразделений находятся танки Т-80, Т-90, Т-72.
ВЫВОД. Таким образом, обладая мощным вооружением, надежной защитой и высокой подвижностью, танковые подразделения способны огнем с ходу, с коротких остановок или с места уничтожать танки и другие бронированные цели, живую силу противника, разрушать его оборонительные сооружения, бороться с низко летящими целями, а также решать другие задачи.
Танковые войска составляют основную ударную силу сухопутных войск. Они способны наиболее полно использовать результаты ядерных и огневых ударов и в короткие сроки достигать конечных целей боя и операции.
3. ОРГАНИЗАЦИЯ И ВООРУЖЕНИЕ АРТИЛЛЕЙСКОГО ДИВИЗИОНА
(только для ВУС 030403)
Основу артиллерийских частей составляют артиллерийские дивизионы, которые являются основными тактическими подразделениями артиллерии.
Являясь огневым подразделением артиллерии, дивизион Способен с высокой точностью поражать различные цели, которые могут быть открытыми и укрытыми, неподвижными и движущимися, наблюдаемыми и ненаблюдаемыми, наземными и надводными, и выполнять другие огневые задачи.
Способность артиллерийского дивизиона быстро перемещаться и осуществлять непрерывное взаимодействие с общевойсковыми подразделениями, ведущими бой в высоком темпе, характеризует его как тактическое подразделение артиллерии.















